ULINE Garage Tool Holder User Guide

TOOLS NEEDED

PARTS

Mounting Bracket (2 for H-7866) (3 for H-7867)

Mounting Bracket Clip (2 for H-7866) (3 for H-7867)

End Cap x 2

Wall Anchor (Optional) (2 for H-7866) (3 for H-7867)

Screw (2 for H-7866) (3 for H-7867)

Holder (3 for H-7866) (5 for H-7867)

Aluminum Rail x 1

Mounting Template x 1
ASSEMBLY
Locate studs and align the mounting template. Balance with the level and mark the holes using the template. (See Figure 1)

NOTE: Holes in the mounting template have 16″ spacing to accommodate U.S. stud configuration.
NOTE: If not planning to drill into a stud, pre-drill holes in wall using a drill bit that is slightly smaller than wall anchor. Insert wall anchor into hole.
- Screw each mounting bracket into the (See Figure 2)
NOTE: Do not overtighten.
- Install the end caps on the aluminum rail by snapping them firmly into each (See Figure 3)

- Insert the aluminum rail into mounting Secure the rail by installing the mounting bracket clips. (See Figures 4-5)
NOTE: When mounting the bracket clips, secure the top first and then press down on the bottom until it clicks.

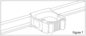
- Attach holders to rail by securing the top and then pressing down on the bottom until it (See Figures 6-7)
NOTE: To remove and reposition holders, lift the tab at the bottom first.



























