

User manual
Drying cabinet
CTS1195V, CTS3195V
Thank you
for your trust and the purchase of our product. This user manual is supplied to help you use this product. The instructions should allow you to learn about your new product as
quickly as possible.
Make sure you have received an undamaged product. If you do find transport damage, please contact the seller from which you purchased the product or the regional warehouse from which it was supplied.
Publication date: 2021-10-20
This document and its content, including written material and images, are the property of Elon Group AB. You may not copy, reproduce, modify, republish or distribute this document or any of its content without express written permission from Elon Group AB. © 2021, Elon Group AB. All rights reserved.
WARRANTY
Guarantee of quality for the consumer (does not include wear parts).
Art. No.: 427001295 Rev. 01
We reserve the right to make changes.
Printed on recycled paper that meets the criteria of Friends of the Earth Sweden and the Swedish Society for Nature Conservation.
THIS USER MANUAL
The contents of this manual describe the operation and use of the drying cabinet and provide instructions for its installation and maintenance.
SAFE OPERATION
This advice on using the appliance safely is provided to help you avoid incorrect use and unnecessary risks, and you should read it before installing or using the drying cabinet.
WARNING! This equipment is only intended for drying textiles that are washed in water.
- If installed in an EU country
This appliance can be used by children aged 8 years and above and persons with reduced physical, sensory or mental capabilities, or lack of experience and knowledge, if they have been supervised or instructed in how to use the appliance safely and understand the hazards involved Do not let children play with the appliance. - If installed in a country outside the EU
This appliance is not intended for use by persons (including children) with reduced physical, sensory, or mental capabilities, or lack of experience and knowledge.
They may only use the appliance if they are supervised or instructed in how to use the appliance by someone who is responsible for their safety. Children must be supervised to ensure they do not play with the appliance. - During installation
WARNING! To avoid danger due to accidental resetting of the thermal cut-out, the appliance must not be connected to an external switching device such as a timer or connected to a circuit that regularly switches the appliance on and off. - The power cord must be replaced immediately if it is damaged; this should only be done by the manufacturer, an authorized service representative, or a similarly qualified person, to avoid danger.
DRYING CABINET DESCRIPTION
The drying cabinet uses warm air to dry laundry. The heater and fan components are housed in the upper section of the drying cabinet behind the control panel.
There are two variants of drying cabinets.
Easy Dryer – this cabinet has two control knobs: one to set the power level, and the other to set the drying time.
Sensor Dryer – this cabinet has buttons for automatic and manual control of the drying process.
The illustration shows the Sensor Dryer version of the drying cabinet

AIRFLOW IN THE CABINET

Consider how the air flows inside the cabinet when hanging laundry to dry. See later in this section.
UNPACKING
PACKAGING MATERIAL
The packaging that protects the drying cabinet during transport was chosen with the environment in mind and is therefore recyclable.
By recycling packaging, you reduce the use of new resources and reduce the amount of waste.
Handle the drying cabinet with care when it is standing on the pallet unsupported.
RISK OF TIPPING!
Check that the goods have not been damaged in transport. Any transport damage must be reported to the retailer within 7 days.
After unpacking the product, check that it is free from damage. Any damage, faults, or missing parts must be reported to the retailer immediately.
Full delivery should include:
- Cabinet with pre-installed fan unit
- Installation kit
- User manual
The drying cabinet must be installed and kept indoors.
Check that all transport safety devices have been removed before connecting the drying cabinet.
Keep packaging materials such as plastics and polystyrene foam away from children.
INSTALLATION KIT

REVERSING THE DOOR
The door can be hung on the right or left.
- Lay the drying cabinet on its back.
- Remove the hinge pin from the lower hinge (1) and lift off the door. Keep the washer safe (3).
- Remove the hinge pin from the upper hinge (2) and place it on the opposite side. The hinge pin has a slot for a screwdriver.
- Rotate the door, align it with the hinges, and secure the door using the lower hinge pin (1) and washer (3).

The illustration shows the Easy Dryer version of the drying cabinet
PLACEMENT/SECURING
The drying cabinet is only intended for use indoors in a dry area when secured to a wall.
Do not place the drying cabinet in an area where high-pressure water is used for cleaning.
The drying cabinet must be installed upright on a flat surface, and be supported by all four feet.
If adjustment is necessary, tilt the cabinet and adjust the adjustable feet. Use a spirit level to check that the cabinet is level.
Remember that the cabinet is top-heavy and could pose a risk of tipping over. This adjustment should therefore be carried out by two people.
The cabinet must be secured to the wall to prevent it from tipping over.
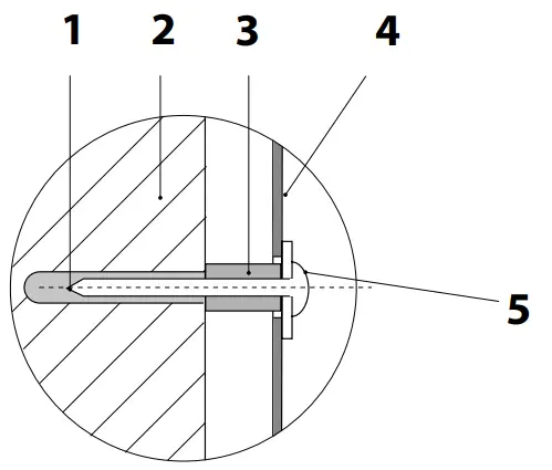
- Open the door and drill two 8 mm holes in the wall through the pre-drilled holes in the rear of the cabinet.
- Insert the wall plugs into the wall. Slide a spacer onto each screw and fit them with the washers as shown. The screws are found in the installation kit.

Securing the wall also ensures a more effective door seal.
WARNING! The drying cabinet must not be used unless it has been secured to the wall, as it could tip forwards otherwise.
- Wall plug
- Wall behind cabinet
- Spacer
- Inside the rear wall of the cabinet
- Fixing screw with washer

VENTILATION/AIR SUPPLY
Around 95 m³ of moist air is vented out of the drying cabinet every hour when it is running. You should therefore ensure that the room is well ventilated to replace the damp air that is extracted.
CONNECTING TO VENTILATION
The drying cabinet should be connected to a ventilation system that meets the relevant standards.
The drying cabinet can be connected to an extraction system in two ways, either by using a draught break or by connecting directly to a mechanical extractor duct.
If the drying cabinet is connected to an existing ventilation system a draught break must always be used, to prevent interference with the general ventilation on the premises.
Direct connection should only be used when a dedicated extractor duct is provided for the drying cabinet, with a capacity of 95 m³ per hour.
The drying cabinet has been tested and set up at the factory for connection with a draught break.
The exhaust vent on the cabinet
Fit the supplied collar (1) into the hole in the top of the cabinet. Turn it clockwise so that the tabs engage with the cut-outs on the top of the cabinet.
With draught break
Connect the flexible hose (2) to the collar. Connect the other end of the hose to the draught break (3), then secure this to the extractor duct in the room.
Do not connect the drying cabinet to an existing chimney.
Make sure the cabinet air intake is not blocked.

- Collar (page 12)
- Hose, Ø 120 x 1
- Draught break
- Transition piece
Direct connection to mechanical extractor duct
Connect the flexible hose (2) to the collar. Connect the other end of the hose to a transition piece (4), then secure this over the exhaust duct in the room.
The transition piece is not supplied.
Make sure the cabinet air intake is not blocked.

ELECTRICAL CONNECTION
The drying cabinet must be connected to a 230 V, single-phase supply at 50–60 Hz, via an earthed wall socket.
The fuse is rated at 10 A.
The drying cabinet is supplied ready for connection with a power cord and earthed plug.
If the power cord is damaged for any reason it must be replaced.
Genuine spare parts can be obtained from the retailer.
- The drying cabinet must be connected to an earthed wall socket using the power cord supplied, and must not be connected permanently to the supply.
- The socket must be positioned so that the appliance can be easily unplugged if necessary.
- Check that the electrical supply matches the data on the rating plate and that the supply is earthed correctly according to the relevant standard. We recommend that the supply is fitted with a residual current device.
- The supply socket must have its own fused circuit.
- The manufacturer will not accept any responsibility if electrical connections are not made as described in this user manual.
- NOTE! A replacement power cord should only be fitted by a qualified electrician.
START-UP
Read this user manual before starting to use the drying cabinet.
WARNING! Read the safety instructions on page 5 before using the cabinet.
- Check that the cabinet is securely attached to the wall. See page 69.
- Check that all packaging material has been removed.
- Clean the inside and outside of the drying cabinet using warm water and a mild detergent. Then dry it carefully. See also the section on ‘Maintenance’ later on in the manual.
ARRANGING ITEMS FOR DRYING
There are three sets of hanger rails inside the cabinet, depending on the choice of fittings. Each set has a number of rails for hanging items to dry.
USER ADVICE
- Hang the items to suit the amount of space they take up – not how much they weigh.
- To get the best drying results – do not lay items flat on the top set of hanger rails.
- Hang long items closest to the walls of the cabinet and shorter items near the middle. The most efficient drying results are obtained by changing the items in this way.
- Raise the two lower sets of hanger rails if you need to dry long items.
- Hang gloves, hats, scarves, and the like on the hangers on the inside of the door.
- All the hanger rails can be pulled out to make it easier to hang laundry.
- The hanger rails must be pushed back before closing the door.
- Do not overload the drying cabinet. This causes laundry to crease and leads to uneven drying. If possible leave space between items.
- If there is a risk of discoloration from some items, leave plenty of space around them.
- Avoid drying heavy garments together with lighter items as they take much longer to dry.
- Lay knitted garments flat to dry. These are heavy when wet and are likely to stretch if they are hung from the rails.
- Always follow the advice on the care label, if provided.
- If softener or antistatic agents are used, follow the manufacturer’s instructions for these products.
- Adjust the drying temperature in the cabinet for items that contain foam rubber or the like. Follow the garment manufacturer’s advice carefully when washing and drying such items.
AIRFLOW
The diagram shows the airflow through the drying cabinet.
Keep the area around the ventilation duct free from dust and dirt.
Make sure the air intake and extractor duct are not blocked.
See page 65.
NOTE! When the cabinet is cold the door seal may not close completely. But once the cabinet is warm the seal will expand and provide a complete seal.
OPERATION – SENSOR DRYER 1700/1900
The drying cabinet has three auto programs and three manually timed programs to suit different types of garments.
Additional options are available with the auto programs. The drying process is controlled by sensors or a timer and temperature settings.
You should consider the following factors when choosing a drying program:
– energy efficiency
– gentle treatment of fabrics
– fabrics that are difficult to dry
– total drying time
CHOOSING AN AUTO PROGRAM
When choosing an auto program for the Sensor Dryer you need to ask yourself a few questions
- WHEN DO YOU NEED THE ITEMS TO BE DRY?
Can you wait? Or do you need them quickly?
Plenty of time: choose ECO+, which is the most energy-efficient program.
More urgent: Choose between HIGH and LOW, with the ECO option.
Very urgent: choose between HIGH and LOW. - WHAT TYPE OF FABRIC?
If it is a durable fabric such as cotton, choose HIGH.
If it is a delicate fabric, choose LOW.
If it is a fabric that is difficult to dry, such as children’s overalls, choose Extra Dry with either HIGH or LOW. - WHY DOES THE CABINET TURN ITSELF OFF?
The drying cabinet is pre-set for a given environment. If the existing environment differs from this reference environment you may need to adjust the parameters that control the drying process.
The procedure for adjustment is described in “Adjusting parameters and calibrating sensors” on page 80.
CONTROL PANEL

Buttons for auto time control of the drying process
Button for selecting auto drying process
Only the fan starts. This program is very energy-efficient and is very gentle on fabrics. Use this program when you have plenty of time. AUTO ECO will light up.
This program activates both the fan and heating element, but the temperature in the cabinet is limited. Use this program when you need to dry delicate fabrics more quickly. AUTO LOW will light up.
This program activates both the fan and heating element. The temperature is considerably higher than for AUTO LOW. This program dries fabrics rapidly. AUTO HIGH will light up. In AUTO LOW and AUTO HIGH modes, you can choose an additional option: EXTRA DRY.
EXTRA DRY is intended for thicker or slow-to-dry garments such as children’s overalls, ski wear, etc. AUTO HIGH and EXTRA DRY or AUTO LOW and EXTRA DRY will light up.
In AUTO HIGH mode there is also an additional option: ECO.
ECO is a program that uses heat where it will be most effective. This program takes more time than the standard program but uses less energy. If AUTO ECO+ is selected as the drying program, as described above, this option is already pre-selected. AUTO HIGH and ECO will light up.
BUTTONS FOR MANUAL TIME CONTROL OF THE DRYING PROCESS
Button for selecting manual control of drying time.
Only the fan starts. This program is very energy-efficient and is very gentle on fabrics. Use this program when you have plenty of time. MAN ECO+ will light up.
This program activates both the fan and heating element, but the temperature in the cabinet is limited. Use this program when you need to dry delicate fabrics more quickly. MAN LOW will light up.
This program activates both the fan and heating element. The temperature is considerably higher than for MAN LOW. MAN HIGH will light up.
Reduces/increases the manual drying time.
STARTING THE CABINET WITH AUTO TIMER
Switch on the drying cabinet by pressing ON/OFF.
The cabinet automatically reverts to the previously selected program. If no program has been previously selected, or if the cabinet is new or has been disconnected from the power, it will start in AUTO HIGH mode.
AUTO HIGH will light up and Start/Stop will flash.
If this is OK, start the cabinet by pressing Start/Stop. The Start/Stop LED will stop flashing and will glow steadily.
The calculated drying time will be displayed and will start counting down. At the end of this time, the process will stop automatically.
CHOOSING A DIFFERENT AUTO PROGRAM
Choose an auto program by pressing the AUTO button.
Scroll through to the desired program by pressing AUTO one or more times.
In AUTO LOW mode there is an additional option: EXTRA DRY.
In AUTO HIGH mode there are two additional options: EXTRA DRY or ECO.
Press Start/Stop. The LED glows steadily to show that drying is in progress.
STARTING THE CABINET WITH A MANUAL TIMER
Switch on the drying cabinet by pressing ON/OFF.
The cabinet automatically reverts to the previously selected program. If no program has been previously selected, or if the cabinet is new or has been disconnected from the power, it will start in AUTO HIGH mode, i.e. an auto program.
SELECTING A MANUAL PROGRAM
Choose a manual program by pressing the MAN button.
Scroll through to the desired program by pressing MAN one or more times.
The display shows a standard drying time that you can increase or decrease by pressing this button.
Press Start/Stop. The LED glows steadily to show that drying is in progress.
The chosen program time will be displayed and will start counting down. At the end of this time, the process will stop automatically.
DOOR
Avoid opening the door while drying is in progress, as this increases the drying time. When the door is open the display will show -P-. You have 5 minutes to close the door again before the program is canceled and the cabinet is switched off.
Parameters that can be adjusted
If the laundry does not feel dry, the values for the program-specific parameters can be increased. If the laundry is being over-dried, or the drying time is too long, the values for the program-specific parameters can be decreased. The table below shows which parameters can be adjusted.
| PROGRAM | Parameter |
| ECO+ | 2165 |
| LOW | 2233 |
| LOW EXTRA DRY | 2243 |
| High | 2203 |
| HIGH EXTRA DRY | 2213 |
| HIGH ECO | 2273 |
ACCESSING THE PARAMETERS
- Switch off the drying cabinet by pressing ON/OFF.
- Hold in the Start/Stop button, then press ON/OFF again. Select the parameter by scrolling up or down using – and+.
ADJUSTING PARAMETERS
- When you have selected the desired parameter, press Start/Stop to access that parameter.
- Increase or decrease the parameter value by pressing – or +.
- Press Start/Stop to exit parameter adjustment.
EXITING PARAMETER SETTING
- When you have adjusted the chosen parameters, press MAN and Start/Stop.
- If you want to restore the parameters to their default settings, press AUTO and Start/Stop.
ADJUSTING PARAMETERS AND CALIBRATING SENSORS
It is possible to fine-tune the drying cabinet’s auto programs to get the best results. You should only do this if you feel that:
- The laundry is not being dried adequately.
- The laundry is being over-dried, or the drying time is too long.
To ensure that ECO+ works as efficiently as possible the sensors should be calibrated.
CALIBRATING SENSORS
NOTE!!!! IT IS IMPORTANT THAT THE CABINET IS AT ROOM TEMPERATURE BEFORE CALIBRATION.
To calibrate the sensors, close the cabinet without any laundry inside, go into the parameter list, select parameter P400 and set it to a value of 1. This starts the calibration cycle, which takes around 5 minutes. When the sensors have been calibrated, the cabinet will restart automatically.
OPERATING PROBLEMS
THERMAL CUT-OUT
The cabinet is equipped with a thermal cut-out. This is tripped if the temperature of the fan unit rises above 120°C.
Sensor Dryer
If the thermal cut-out has tripped, the display and LEDs will flash. The user can then reset the thermal cut-out by switching off the power using the rocker switch in the ceiling of the cabinet.
See illustration.
The user should then wait 10–15 minutes for the fan to cool down so that the thermal cut-out resets. The power to the cabinet can then be switched back on using the same switch.
Easy Dryer
When the thermal cut-out trips, it switches off the cabinet, and the timer stops for around 2 hours, leaving the laundry wet. The user can reset the thermal cut-out by switching off the power using the rocker switch in the ceiling of the cabinet. See illustration on next page Alternatively, it can be reset by turning the timer to zero.
The user should then wait 10–15 minutes for the thermal cut-out to reset. The power to the cabinet can then be switched back on using the same switch or by setting the timer again.
OPERATING PROBLEMS

CONTROL PANEL

The cabinet has two knobs for adjusting the temperature and drying time settings.
The left knob is used to set the temperature and is continuously variable.
The right knob is used to set the drying time, from zero to four hours.
CHOOSING SETTINGS
High heat

If quick drying is required, and the garments can withstand HIGH heat, turn the heat setting to the max and set the drying time to 1.5–2 hours.
Low heat

To dry on LOW heat, turn the heat setting to just past the start of the semicircle and set the drying time to 3–4 hours.
MAINTENANCE
NOTE! DO NOT WASH WITH A HIGH-PRESSURE WASHER!
- The walls of the cabinet can be cleaned with a damp cloth and mild detergent.
- Dust tends to collect around the air intake on top of the cabinet. This can interfere with the operation and cause the cabinet to stop working.
To avoid such problems you should vacuum-clean the air intake and top of the cabinet at least once a year, or more often depending on the area the cabinet is installed in.
SERVICING
Before contacting the service department, make a note of the model name, article number, and serial number of the drying cabinet.
This information can be found on the rating plate inside the cabinet.
FOLLOW INSTRUCTIONS WHEN REPAIRING AND REPLACING PARTS.
DISPOSING OF A WORN-OUT DRYING CABINET
When the drying cabinet has reached the end of its useful life it must be sent for dismantling. Many parts can be recycled, but the cabinet also contains materials that must be disposed of correctly. So never dispose of the drying cabinet or its components with general household waste, as this could cause health risks and harm the environment.
Send the worn-out drying cabinet to a recycling station instead. Contact your retailer for information if necessary.
All the plastic components of the drying cabinet are marked with standardized international symbols. These allow the parts to be sorted correctly for recycling.
TECHNICAL DATA FOR SENSOR DRYER 1700/1900
| Capacity: | Up to 6.0 kg of laundry (cotton) |
| Evaporation rate: | Up to 25 g/min |
| Electrical supply: | Single-phase 230 V, 50–60 Hz. The fuse is rated at 10 A |
| Motor: | 38 W |
| Heating element: | 2000 W |
| Thermal cut-out: | Yes |
| Fan capacity: | 184 m³/hour |
| Total hanger length: | 16 meters, depending on the choice of fittings |
| Dimensions: | Height 1700/1900 mm Width 595 mm Depth 610 mm |
| Weight: | Sensor Dryer 1700, 56 kg Sensor Dryer 1900, 60 kg |
| Sound level: | max. 55dB(A) |
| Air extraction rate: | 95 m³ of humid air per hour |
ENERGY CONSUMPTION AND DRYING TIMES FOR DRYING 4 KG OF SPIN-DRIED LAUNDRY *)
| Program | Energy consumption per kg of dry laundry [kWh/kg] | Drying time *) [min] | Max. temperature [°C] |
| AUTO ECO+ | 0.10 | 600 | Room temp. |
| AUTO LOW | 0.79 | 180 | 45 |
| AUTO LOW EXTRA DRY | 1.06 | 240 | 45 |
| AUTO HIGH | 0.64 | 85 | 70 |
| AUTO HIGH EXTRA DRY | 1.20 | 160 | 70 |
| AUTO HIGH ECO | 0.57 | 260 | 70 |
*) Values may vary depending on:
– spin speed
– temperature, humidity on-premises
– ventilation in premises (intake, extraction)
MANUFACTURING STANDARDS
See cabinet rating plate
WIRING DIAGRAM
The wiring diagram can be ordered from the manufacturer.
TECHNICAL DATA FOR EASY DRYER 1700/1900
| Capacity: | Up to 6.0 kg of laundry (cotton) |
| Evaporation rate: | Up to 25 g/min |
| Electrical supply: | Single-phase 230 V, 50–60 Hz. The fuse is rated at 10 A |
| Motor: | 38 W |
| Heating element: | 2000 W |
| Thermal cut-out: | Yes |
| Fan capacity: | 184 m³/hour |
| Total hanger length: | 16 meters, depending on the choice of fittings |
| Dimensions: | Height 1700/1900 mm Width 595 mm Depth 610 mm |
| Weight: | Easy Dryer 1700, 56 kg Easy Dryer 1900, 60 kg |
| Sound level: | max. 55dB(A) |
| Air extraction rate: | 95 m³ of humid air per hour |
ENERGY CONSUMPTION AND DRYING TIMES FOR DRYING 4 KG OF SPIN-DRIED LAUNDRY *)
| Program | Energy consumption per kg of dry laundry [kWh/kg] | Drying time *) [min] | Max. temperature [°C] |
Low temp.![]() | 0.67 | 220 | 35. |
High temp.![]() | 0.69 | 90 | 65 |
*) Values may vary depending on:
– spin speed
– temperature, humidity on-premises
– ventilation in premises (intake, extraction)
MANUFACTURING STANDARDS
See cabinet rating plate
WIRING DIAGRAM
The wiring diagram can be ordered from the manufacturer.
TROUBLESHOOTING
EASY DRYER
| Questions | What you can do |
| The drying cabinet does not work | 1.Check that the power cord is plugged into a socket and that socket has power. 2.Check for the tripped fuse. 3. Is the door closed? 4. Check the rocker switch in the ceiling of the cabinet. See page 25. |
| Drying takes a long time | 1. Check that no items of laundry are very wet (poorly spin-dried). 2.Check whether too much laundry has been placed in the cabinet. |
| Laundry does not dry | Check whether too much laundry has been placed in the cabinet. |
| The seal does not close tightly/the door opens | Check that the cabinet is upright and secured to the wall. Check with a spirit level, and adjust the adjustable feet if necessary. |
SENSOR DRYER
| Questions | What you can do |
| The drying cabinet does not work | 1.Check that the power cord is plugged into a socket and that socket has power. 2. Check for the tripped fuse. 3. Have you pressed the Start button? 4. Is the door closed? 5.Check the rocker switch in the ceiling of the cabinet. See page 25. |
| The display shows an alarm/ error code (Er1, Er2, Er3) | If an alarm or error code is shown, first try resetting the alarm by pressing and holding the Start/Stop button for 5 seconds. See the section “Error codes for Sensor Dryer” If the problem recurs you need to consult a service technician. |
| Drying takes a long time | 1. Check that the correct program has been chosen to suit the type of laundry. 2. Check that no items of laundry are very wet (poorly spin-dried). 3. Check whether too much laundry has been placed in the cabinet. 4. See the section “Adjusting parameters and calibrating sensors” |
| Laundry does not dry | 1. Check that the correct program has been chosen to suit the type of laundry. 2. Check whether too much laundry has been placed in the cabinet. 3.See the section “Adjusting parameters and calibrating sensors” |
| The seal does not close tightly/the door opens | Check that the cabinet is upright and secured to the wall. Check with a spirit level, and adjust the adjustable feet if necessary. |
ERROR CODES FOR SENSOR DRYER
| Error code | Cause |
| Er 1 | Error 1 Regulator sensor. Error in heating element sensor. Error due to failure or short-circuit in the sensor. Reset by turning the power off/on. |
| Er 2 | Error 2 Outlet sensor. Error in outlet duct sensor. The fault is the same as Error 1. Reset by turning the power off/on. |
| Er 3 | Error 3 The drying cycle has exceeded the maximum time for the drying program. Cause: No signal received from outlet sensor to indicate that laundry is dry. Reset by holding down Start/Stop button for 5 seconds. |
DIMENSIONAL DRAWING

| 1700/1900 | |
| A | 595 |
| B | 610 |
| C | 1700/1900 |
| D | 297 |
| E | 348 |
| F | 227 |
| G | 52 |
| H | 450 |
| I | 73 |
| Y | 1474/1674 |
| K | 31 |
| L | 39 |


ELON GROUP
Elvita products are distributed and marketed by
Elon Group AB. Elon Group AB Bäcklundavägen 1 |
702 03 Örebro Sweden
ELON GROUP | +46(0)10-220 40 00 | ELONGROUP.SE
Support and service: ELVITA.SE




















