ASKO DC7774VWAU Drying Cabinet

Dear ASKO customer,
Congratulations on making an excellent choice, and welcome to the ASKO family, a global family with its roots in Sweden. We at ASKO thank you for your trust and hope that you will enjoy using your new drying cabinet. A good drying cabinet should be well designed, dry clothes well, have a low environmental impact, be user-friendly, save time and energy, have a long service life and be reliable. ASKO offers you all these features. When you buy an ASKO product you can be sure that the inside is just as good as the outside and that the ethics and morality that go into building this product are just as high as the quality and function you are getting. That’s what Swedish quality is all about. Before using the product for the fi rst time, please read the user instructions and the advice on caring for the product. This will help you get the best possible results from your product and all its functions. If you have any questions, do not hesitate to call us or to contact us through our website. Best wishes from Sweden and the ASKO team.
IMPORTANT SAFETY INFORMATION
This drying cabinet complies with applicable safety requirements. Incorrect use may, however, lead to personal injury and damage to objects. This advice on safe operation has been compiled so that you can avoid incorrect use and unnecessary risks of accidents and should be read before the drying cabinet is installed and used.
CAUTION: This equipment is only intended to be used to dry textiles washed in water.
Applicable to installation in the EU
The drying cabinet can be used by children over the age of 8 and persons (including children) with various disabilities or inadequate experience and knowledge, provided they are kept under supervision or are given instructions on how to use the appliance in a safe way and understand the risks that use entails. Children must not play with the appliance.
Applicable to installation in countries outside the EU
This appliance is not intended for use by persons (including children) with reduced physical, sensory or mental capabilities, or lack of experience and knowledge, unless they have been given supervision or instruction concerning use of the appliance by a person responsible for their safety. Children must be supervised to ensure that they do not play with the appliance.
Applicable to all installation
The drying cabinet must be installed and kept indoors. If the power cord is damaged, it must be immediately re- placed, and this must be done only by the manufacturer, the manufacturer’s service agent or similarly qualified persons in order to prevent danger.
Follow ASKO instructions in repair and replacement of parts.
FOR A HEALTHY ENVIRONMENT
PACKAGING MATERIALS
The packaging protecting the drying cabinet against damage in transit has been chosen with concern for the environment in mind and is therefore recyclable. Returning packaging to the material cycle means reduced consumption of raw materials and lower levels of waste.
MANAGEMENT OF END-OF-LIFE DRYING CABINET
When the drying cabinet has reached the end of its life it must be taken to a recycling station for disposal. Many parts can be re-used, but the cabinet also contains other material that must be dealt with correctly. The drying cabinet, or parts of the cabinet, must therefore never be disposed of with household waste as this can lead to health risks and harm to the environment.
- The end-of-life drying cabinet must instead be taken to a recycling station. Check with your dealer if necessary. All the plastic parts of the drying cabinet are marked with internationally standardised symbols. The parts can therefore be recycled in an environmentally friendly way by waste separation at source.
COMPONENTS

CONTROL PANEL
The drying cabinet is equipped with four automatic programmes and four manual programmes for different types of garments. These programmes are set through programming menus using the buttons on the menu panel. Several languages can be handled.
BUTTONS
DISPLAY
The display has two rows with 6 symbols on each row. During the drying process, the selected drying programme and a progress bar indicating that the process is under way are shown.
LANGUAGE
The following languages can be handled: English, Swedish, Norwegian, Danish, Finnish, Italian, French, German, Portuguese and Dutch.
SETTING
- Make sure that the drying cabinet’s main ON/OFF switch is off . The display is unlit.
- Hold in the ARROW UP and ARROW DOWN buttons and press the the main ON/OFF switch to the ”ON” position. The display lights up and ”P105”, the parameter for language setting, fl ashes on the top row. If any other value is shown, use the ARROW UP or DOWN buttons to step through to the correct parameter.
- Press START/STOP to confirm. The row for the current language now flashes. The languages have a numbering system as shown in the list below.
- Step through to the desired language using the ARROW UP and DOWN buttons.
- To save the set value, press START/STOP.
- To return to operating mode, press ARROW DOWN and START/STOP.
| Language symbol | Display language |
| 0 | English |
| 1 | Swedish |
| 2 | Norwegian |
| 3 | Danish |
| 4 | Finnish |
| 5 | Italian |
| 6 | French |
| 7 | German |
| 8 | Spanish |
| 9 | Portuguese |
| 10 | Dutch |
POSITIONG THE DRYING CABINET
- If the dryer cabinet is to be connected to the exhaust air ventilation this must be available in the premises.
- An earthed power outlet must be available within 2 m of the top section of the dryer cabinet. The dryer cabinet has a 2 m long earthed cable with plug connected at the top.
- The power outlet must be positioned so that an extension cord is not necessary.
- The power socket should be simple to reach once the dryer cabinet has been installed.
- Observe this even when the dryer cabinet is installed in an in-built cabinet or the like. See the section ‘Electrical installation’.
- The fl oor where the cabinet is to be positioned must support a weight of about 60 kg.
- The fl oor must be fl at with a drop of max 2,5 cm below the cabinet.
- The dryer cabinet is only intended for placement indoors with a temperature over 0 °C.
- The dryer cabinet must not be placed in environments where high-pressure washers are used for cleaning.

| Cabinet designation | A mm |
| DC7774V | 1700 |
INSTALLATION
UNPACKING
NOTE:
The drying cabinet must be handled carefully if it is only standing on its pallet.
RISK OF TIPPING OVER.
Check that the product has not been damaged in transit. Any damage in transit must be reported to the dealer within 7 days.
Complete delivery must include:
- Cabinet with pre-installed fan unit
- Installation kit
- User manual
Installation kit,
– for cabinet
After unpacking, check that the product is free of faults. Damage, defects and any missing parts must be immediately reported to the dealer. Check that all transportation securing devices have been removed before connecting the dryer. Packaging materials such as plastic and Styrofoam should be kept out of the reach of children.
– for wall fixing
PLACEMENT
The drying cabinet is only intended for use indoors in a dry area. Do not place the drying cabinet in an area where high-pressure water is used for cleaning.
LEVELLING
The drying cabinet must stand level on a fl at surface, resting on all four feet. Use the Allen key supplied and adjust the feet from inside the cabinet. Press the four covering plugs firmly into the holes.
SECURING TO WALL
The cabinet must be secured to a wall to prevent it from tipping over.
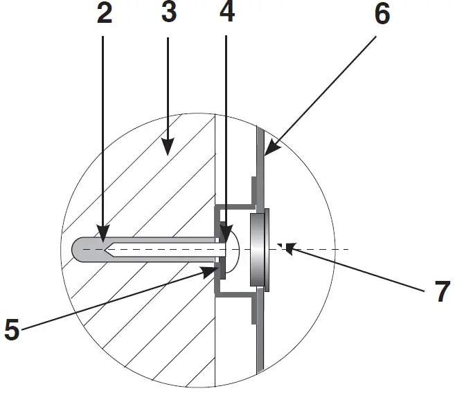
- Open the door, slide out the upper hang-ing section, and drill 8 mm holes in the wall through the two pre-drilled holes in the rear of the drying cabinet
- Install the plastic plugs in the wall. Mount the screw and the washer as illustrated. Press the cover plugs fi rmly into the holes.
Screws are provided in the assembly kit.
CAUTION: The drying cabinet must not be used without being screwed into a wall due to the risk of tipping over.
- Pre-drilled holes
- Plastic plug
- Wall behind drying cabinet
- Fixing screws
- Washer
- Rear wall of drying cabinet
- Cover plug
- Spirit level
- Cover plug
EVACUATION / AIR SUPPLY
When the cabinet is on, 45 m³ moist air per hour is evacuated. It must therefore be ensured that air can enter the room to replace the moist air that is vented out.
CONNECTION TO EVACUATION
The drying cabinet is connected to an exhaust ventilation unit in accordance with standard. The drying cabinet can be connected to the evacuation duct in two ways, either with a draft stabilizer or permanently fitted to a mechanical exhaust ventilation unit. If the drying cabinet is to be connected to an existing ventilation system a draft stabilizer must always be used, so that the general ventilation in the room is not affected. Permanent fitting must only be carried out when a separate exhaust-air duct is routed to the drying
cabinet, the air fl ow in the exhaust-air duct being adjusted to 45 m3 per hour. The drying cabinet has been tested and factory-set for connection with a draft stabilizer.
Place the supplied spigot over the hole in the top of the cabinet, insert the screws and secure the spigot.
WITH DRAFT STABILIZER
Connect the flexible hose to the spigot. Connect the other end of the hose to the draft stabilizer and then secure this over the exhaust vent in the room.
Make sure the air intake is not blocked Do not connect the drying cabinet to an existing chimney.
- Draft stabilizer
- Flexible hose
- Spigot
PERMANENTLY FITTED TO MECHANICAL EXHAUST AIR VENTILATION UNIT
When the cabinet is permanently connected to a ventilation duct, the whole room is ventilated thought the drying cabinet. Connect the hose to the adapter between the hose and ventilation duct. Adapter is not supplied. The air intake must not be blocked.
- Adapter
- Hose
- Spigot
ELECTRICAL CONNECTION
The drying cabinet should be connected to a 230 V single-phase 50-60 Hz and earthed wall socket. Fuse 10 A. The drying cabinet is supplied ready for connection with a cable with an earthed plug. The drying cabinet should be connected using the connecting cable supplied to an earthed wall socket and must not be permanently wired. The socket should be positioned so that the plug can be easily pulled out if necessary. Check that the supply current matches the data on the rating plate and that the mains lead is earthed correctly according to current standard. We recommend fi tting the mains lead with a residual current device (RCD). The dryer should be connected to a dedicated circuit. Do not connect the drying cabinet to the power supply with an extension lead as the necessary safety cannot be guaranteed (risk of overheating). Electrical connection of the appliance should comply with applicable electrical safety regulations. The manufacturer disclaims all liability if the electrical connection has not been carried out in the way described in this use and care manual. If the power cord for any reason is damaged, it must be replaced. A genuine part can obtained from the cabinet dealer. A replacement cord may only be installed by a qualified electrician.
BEFORE USING THE DRYING CABINET
Read this User Manual before starting to use the drying cabinet.
CAUTION: Read the safety instructions on page 4 before using the cabinet.
- Check that the cabinet is securely attached to the wall. See page 10.
- Check that no packaging material has been left behind.
- Use a mild detergent with hot water and wash the inside and outside of the drying cabinet. See also the ‘Care’ section later in the manual.
OPERATION
ARRANGING ITEMS FOR DRYING
There are three sets of hangers inside the cabinet. Each set has a number of rails for hanging items to dry, as described below. The most e ffi cient drying results are obtained by hanging the items in this way.
- Hang the items in the drying cabinet according to how much space they require – not according to their weight.
- For most effective drying, do not position items laid fl at on the upper hanger section.
- Long garments closest to the walls of the cabinet and shorter garments towards the centre of the cabinet. The most effective drying results are achieved by hanging the garments in this way.
- Fold up the two bottom hanger sections if long garments are to be dried.
- Hang gloves, caps, scarves and similar items on the hanger strips on the inside of the door.
- Draw the hanger hooks in the upper hanger section forward so that the washing can be hung more easily. Push them back when not in use.
- Do not overload the drying cabinet. If you do, the washing will become creased and dry unevenly. Instead, leave a space between the garments if possible.
- If there is a risk of particular items shedding colour, free space should be left around them.
- Avoid drying heavy items of clothing together with lighter items as they have very diff erent drying times.
- Make sure not to hang knitted items. These will stretch unnecessarily as they are heavy when wet.
- The bar hangers are used to place over the rods on a hanger to be able to hang a shirt, dress or equal garment in the cabinet
- Shoes, boots are the best placed on the shoe rack to get the best drying performance.
USER TIPS
- Always follow the washing instructions on items of clothing if indicated.
- If a fabric conditioner or antistatic product is used, the manufacturer’s instructions for use of this product must be followed.
- Remove washing that is already dry. This will reduce the drying time for remaining washing.
AIR FLOW
the illustration shows the air fl ow in the drying cabinet. Keep the area around the evacuation duct clear of dust and dirt. Make sure that the air intake and exhaust duct are not blocked.

NOTE: When the cabinet is cold, it may happen that the door’s sealing strip does not close completely.
However, this is fully off set when the cabinet is running as the sealing strip expands.
DRYING PROGRAMMES
This drying cabinet is equipped with automatic programmes and manual programmes for efficient drying of textiles of different types. The automatic programmes automatically switch off the drying process when the textiles are dry. During the last 10 minutes, the heat is switched off while the fan cools down the textiles (cooling-down period). The manually time-controlled programmes stop after a set time has been counted down. Cooling also takes place in the last 10 minutes of drying time in this case.
AUTOMATIC PROGRAMMES
- Aut 40° Normal dry. Used to dry garments of normal thickness.
- Aut 40° Extra dry. Used to dry thicker garments, deep drying.
- Aut 60° Normal dry. Used to dry garments of normal thickness.
- Aut 60° Extra dry. Used to dry thicker garments, deep drying.
40° or 60° is selected with reference to the washing instructions for the garments.
MANUAL PROGRAMMES
- Man 30°. A time-controlled drying programme that should be selected for delicate textiles that should not be subjected to temperatures higher than 30°.
- Man 40°. As above, but here a slightly higher drying temperature is permitted.
- Man 60°. As above, but here the textiles can be dried at max. 60°.
- Man –. This is a highly energy-efficient drying programme without heat, where the washing is dried only by the fan.
30°, 40° or 60° is selected with reference to the washing instructions for the garments.
NOTE: It is very important to follow the washing instructions applicable to the textile concerned when selecting the drying programme.
CHILD LOCK
To ensure that the drying process is not halted or started by mistake, a child lock function can be activated.
FUNCTION OF THE CHILD LOCK
Activation buttons must be held down for at least 3 seconds (the delay time).
ACTIVATION/DEACTIVATION OF CHILD LOCK
The child lock is activated and deactivated using a setting parameter described on page 21. When the button is activated, a clock symbol appears on the display.
STARTING AN AUTOMATIC PROGRAMME
Start the drying cabinet by pressing ON/OFF. The display lights up and shows the last used programme.
Ex. AUT 40° Normal dry The text fl ashes. If this is OK – press OK, the process starts. or select a diff erent programme with ARROW UP ARROW DOWN + OK, the process starts.
STARTING A MANUAL PROGRAMME
Start the drying cabinet by pressing ON/OFF.
The display is lit and shows the last used programme,
Ex. MAN 40° The text fl ashes. If this is OK – press OK the default or last used drying time fl ashes,
Ex. 2:30 (two hours 30 minutes)
If this is OK – press OK the process starts at once, in this example a Ma 40° programme, where the time is counted do frwn om hours2½ . or select a different programme with ARROW UP (increases drying time) ARROW DOWN (reduces drying time) + OK the process starts with a Man 40° programme with nea dry timing .
A different manual drying programme is selected in the same way as above.
If the child lock is activated, hold this button down for at least 3 seconds.
FACTORY-SET DRYING TIMES FOR MANUAL PROGRAMMES
Man 30° 2:30 (two hours, 30 minutes)
Man 40° 2:30
Man 60° 2:30
TIPS
- If you have made a mistake or are unsure where you are, you can always press ON/OFF and start selecting drying programme again.
- If the door is open when a drying programme starts and the OK button is activated, the display will show ‘CLOSE DOOR’. Close the door, and the selected drying programme will start.
- The animated symbol (bar) on the left-hand side of the display indicates that the drying process is under way.
- When the drying process has finished, the text “END” (flashing) appears. When the STOP button is then pressed, or the door is opened, the current programme stops and the display shows the last used programme.
- NB: In standby mode the display becomes unlit after 15 min and lights up when one of the buttons on the control panel is activated or the door is opened.
- To halt a drying programme that is in progress, press STOP.
- If the door is opened while the drying process is in progress, the fan will continue to run for another 5 minutes. The display will show “CLOSE DOOR” and count down a 5-minute programme pause period.
If the door is closed within this 5-minute period, the drying process re-starts.
If the door is left open, the drying process is halted after 5 minutes and must be re-started manually.
If you want to halt the drying process immediately, without a 5-minute pause, press STOP.
SETTING OF DRYING PROGRAMMES
Setting to optimize the drying cabinet’s automatic programmes is done by pressing the buttons on the control panel when the drying cabinet is in programming mode.
Adjustments should only be made if you fi nd that
- the washing does not dry sufficiently
- the washing is over-dried – long drying time
PROGRAMMING MODE
- Make sure that the main ON/OFF switch on the drying cabinet is off . The display is unlit.
- Hold down the ARROW UP and ARROW DOWN buttons simultaneously and press the main ON/OFF switch to the “ON” position. The display will light up and show “P105” fl ashing, which is the fi rst setting parameter in the list below. Then select the relevant parameter using the arrow keys, followed by OK.
- To return to operating mode, press ARROW DOWN and then OK.
PARAMETER LIST
| Parameter | Name | Factory preset | Min value | Max value | Signifies |
| P105 | Language | 1 | 0 | 7 | Swedish For setting, see page 14 |
| P115 | Child lock On/Off | 0 | 0 | 1 | Off Value 1 = Child lock ON |
| P2011 | Min drying time Aut40° | 35 (min) | 10 | 45 | Regardless of moisture level, the drying process runs min 35 min. |
| P2012 | Max drying time Aut40° | 360 (min) | 60 | 360 | Regardless of moisture level, the drying process runs max 360 min. |
| P2013 | Max temp Aut40° | 51° | 41° | 61° | The heating elements switch off if the value is exceeded. |
| P2014 | Exhaust temp. process finished. Aut40° | 38° | 34° | 54° | For Normal programmes the drying process ends with cooling. For Extra programmes the extra drying time starts, followed by cooling. |
| P2015 | Extra drying time Aut40° | 30 (min) | 10 | 45 | Extra programme drying time after exhaust temp. has been reached. |
| P2016 | Cooling time Aut40° | 10 (min) | 2 | 20 | Time when only the fan is in operation, without heating elements. Provides more even drying time. |
| P2021 | Min drying time Aut60° | 35 (min) | 15 | 45 | Regardless of moisture level, drying process runs for min 35 min. |
| P2022 | Max drying time Aut60° | 240 (min) | 60 | 360 | Regardless of moisture level, drying process runs for max 240 min. |
| P2023 | Max temp Aut60° | 90° | 61° | 100° | The heating elements switch off if the value is exceeded. |
| P2024 | Outlet temp. process finished. Aut60° | 48° | 40° | 73° | For Normal programmes the drying process ends with cooling. For Extra programmes the extra drying time starts, followed by cooling. |
| P2025 | Extra drying time Aut60° | 30 (min) | 10 | 45 | Extra programme drying time after exhaust temp. has been reached. |
| P2026 | Cooling time Aut60° | 10 (min) | 2 | 20 | Time when only the fan is in operation, without heating elements. Provides more even drying time. |
ADJUSTMENT
Programme Aut 40° Normal is controlled via exhaust air temp. sensor
Programme Aut 40° Extra is controlled via exhaust air temp. sensor and a time factor. Programme Aut 60° Normal is controlled via exhaust air temp. sensor.
Programme Aut 60° Extra is controlled via exhaust air temp. sensor and a time factor.
The automatic programmes stop automatically when the washing is dry. To decide whether the washing is dry, the actual exhaust air temperature is compared with a parameter, P2014 for 40° programmes and P2024 for 60° programmes.
For Aut 40° Extra, an extra drying time is also added according to parameter P2015.
For Aut 60° Extra, an extra drying time is also added according to parameter P2025.
It is primarily these four parameters that are adjusted to optimise the drying processes of the automatic programmes.
Aut 40° Normal and Aut 40° Extra are adjusted with parameter P2014.
Aut 40° Extra is additionally adjusted with parameter P2015 (extra drying time).
Aut 60° Normal and Aut 60° Extra are adjusted with parameter P2024.
Aut 60° Extra is additionally adjusted with parameter P2025 (extra drying time).
If it is found that the washing does not dry sufficiently, the parameter value is increased. If it is found that the washing is over-dried, long drying time, the parameter value is reduced. Drying processes must always be optimized in small steps; start by adjusting the parameter concerned 1-2 units up or down. Then check the result after the next drying process and if necessary make a further adjustment.
PROCEDURE
The setting parameters according to the list on page 21 are shown on the display as follows:
the current parameter is shown on the top row of the display, e.g. P 2014, the set value of the parameter is shown on the bottom row.
- Go to programming mode. See page 20.
- Step through to the relevant parameter by pressing the ARROW UP or DOWN buttons repeatedly. If you go too far, just continue until the display shows the correct parameter.
- When the display shows the correct parameter, e.g. “P 2012”, press OK to confi rm. The row will then fl ash with the set value of the parameter.
- Increase or decrease the value by pressing the ARROW UP or DOWN buttons.
- To save the set value, press OK.
- To return to operating mode, press DOWN ARROW and then STOP.
RESTORING TO FACTORY SETTING
- Go to programming mode as described on page 20.
- Hold down the ARROW UP and ARROW DOWN keys simultaneously and press OK. The factory settings will be saved and the display will show the last run programme.
CARE
CLEANING
NOTE: High-pressure cleaning must not be used.
- The walls of the cabinet should be cleaned with a mild soap solution and a damp cloth.
- Dust tends to gather around the air intake below the cabinet and on the top of the cabinet. This may cause disturbance which in turn may lead to breakdowns in operation.
To avoid these problems, the air intake and the roof of the cabinet should be vacuum-cleaned a least once a year or more often, depending on the environment the cabined is located in.
SERVICING
Before contacting the service department, you should fi nd out the name, article number and serial number of the drying cabinet. This information can be found on the
identification plate located inside the cabinet.
REPLACEMENT PARTS
If the power cord for any reason is damaged, it must be replaced. A genuine part can obtained from the cabinet dealer.
NOTE: A replacement power cord may only be installed by a qualified electrician.

THERMAL CUT-OUT
The cabinet is fitted with a thermal cut-out that is reset automatically when the temperature inside the cabinet has fallen to an acceptable level. The reset delay varies between 10 and 15 minutes from the time when the thermal cut-out was tripped. The cabinet cannot be restarted while the thermal cut-out is tripped. If this happens, always wait for 15 minutes and then try to restart the cabinet before reporting a fault. If there are repeated cut-outs, contact your supplier.
TROUBLE SHOOTING
HOW TO DEAL WITH MINOR FAULTS YOURSELF
| Problem | What you can do |
| The drying cabinet does not work |
|
| The display shows an alarm/error code | This should normally not happen, but if an alarm or error code appears on the display, try first to reset the alarm by holding the START/STOP button down for 5 sec. If the problem persists, a service technician must be called. |
| Drying takes a long time |
|
| The washing does not become dry |
|
| The sealing strip does not seal tightly/the door is ajar | Check that the cabinet is level. Check with a spirit level, if necessary adjust with the adjustable feet. |
TECHNICAL DATA
| Capacity: | 4 kg of laundry (cotton) |
| Evaporation rate: | 17 g/min |
| Electrical supply: | Single phase 220 – 240 V, 50-60 Hz |
| Fuse: | 10 A |
| Motor: | 35 W |
| Heating element: | 1500 W |
| Thermal cut-out: | Yes |
| Fan capacity: | 180 m³/hour |
| Hanging length: | 16 metres |
| Dimensions DC7774: | Height 1700 mm 1715 mm incl. hinge Width 595 mm Depth 608 mm 635 mm incl. door handle |
| Weight DC7774: | ~58 kg |
| Weight DC7784: | ~62 kg |
| Sound lavel: | max 60 dB(A) |
MANUFACTURING STANDARD
See cabinet rating plate.
WIRING DIAGRAM
Wiring diagram can be ordered from manufacturer.
RATING PLATE
See page 30.
ENERGY CONSUMPTION AND DRYING TIMES
| Drying times for laundry after spin-drying * | ||
| Setting | Energy consumption | Drying time |
| Aut 40° | 0.60 kWh/kg of laundry | 2 hour 45 min |
| Aut 60° | 0.62 kWh/kg of laundry | 2 hour |
- Specified values apply to drying cabinet connected by draft stabilizer. Values may vary depending on spin speed




















