SEIKO V111 Solar Watch

Product Information
The SEIKO Solar Watch comes in various models including V111, V114, V115, V116, V117, V131, V137, V138, V147, V157, V158, V181, and V187. The watch has a solar charging function and is designed to preserve its quality for a longer time.
Handling Cautions:
WARNING:
The watch body or band should be immediately stopped from wearing if it becomes edged by corrosion. The pins protruding from the band should also be immediately consulted with the retailer from whom the watch was purchased or SEIKO CUSTOMER SERVICE CENTER. Keep the watch and accessories out of the reach of babies and children to prevent accidental swallowing of accessories. Do not remove the secondary battery from the watch as it requires professional knowledge and skill for replacement.
Usage Instruction
For proper and safe use of your SEIKO watch, please read carefully the instructions in the booklet before using it. If your watch has a protective film for preventing scratches, make sure to peel it off before using the watch. If a length adjustment service for metallic bands is required, it is available at the retailer from whom the watch was purchased. If unavailable, please contact SEIKO CUSTOMER SERVICE CENTER.
Solar Charging Function
Charging the battery:
To charge the battery, expose the dial to light. Avoid exposing it to direct sunlight for an extended period as it may cause malfunctioning.
Guide to charging times:
The charging time varies according to the model and light source. Refer to the Instruction Manual or contact Customer Service for more information.
Troubleshooting
If any issues arise, refer to the Troubleshooting section in the Instruction Manual or contact Customer Service for assistance.
Specifications:
The watch specifications are listed in the Instruction Manual or on the website.
Thank you very much for choosing a SEIKO watch. For proper and safe use of your SEIKO watch, please read carefully the instructions in this booklet before using it. Keep this manual handy for easy reference.
- Length adjustment service for metallic bands is available at the retailer from whom the watch was purchased. If you cannot have your watch repaired by the retailer from whom the watch was purchased because you received the watch as a gift, or you moved to a distant place, please contact SEIKO CUSTOMER SERVICE CENTER. The service may also be available on a chargeable basis at other retailers, however, some retailers may not undertake the service.
- If your watch has a protective film for preventing scratches, make sure to peel it off before using the watch. If the watch is used with the film on it, dirt, sweat, dust, or moisture may be attached to the film and may cause rust.
HOW TO USE
Handling cautions
WARNING
Please note that there is a risk of serious consequences such as severe injury if the following safety regulations are not strictly observed.
Immediately stop wearing the watch in following cases:
- If the watch body or band becomes edged by corrosion etc.
- If the pins protrude from the band.
- Immediately consult the retailer from whom the watch was purchased or SEIKO CUSTOMER SERVICE CENTER.
Keep the watch and accessories out of the reach of babies and children.
Care should be taken to prevent a baby or a child accidentally swallowing the accessories. If a baby or child swallows the battery or accessories, immediately consult a doctor, as it will be harmful to the health of the baby or child.
Do not remove the secondary battery from the watch.
- About the secondary battery → Power Source
Replacement of the secondary battery requires professional knowledge and skill. Please ask the retailer from whom the watch was purchased for replacement of the secondary battery. Installation of an ordinary silver oxide battery can generate heat that can cause bursting and ignition.
CAUTION
Please note that there is a risk of minor injury or material damage if the following safety regulations are not strictly observed.
Avoid the following places for wearing or keeping the watch:
- Places where volatile agents (cosmetics such as polish remover, bug repellent, thinners etc.) are vaporizing
- Places where the temperature drops below 5°C or rises above 35°C for a long time
- Places affected by strong magnetism or static electricity
- Places affected by strong vibrations
- Places of high humidity
- Dusty places
If you observe any allergic symptoms or skin irritation
Stop wearing the watch immediately and consult a specialist such as a dermatologist or an allergist.
Other cautions
- For adjusting the length of the metallic band, specialized knowledge and expertise are necessary. Therefore, in such a case, contact the retailer from whom the watch was purchased. If you attempt to adjust the metallic band, injury may occur to your hand or fingers, or parts of the band may be lost.
- Do not disassemble or tamper with the watch.
- Keep the watch out of the reach of babies and children. Extra care should be taken to avoid risks of any injury or allergic rash or itching that may be caused when you touch the watch.
- When disposing of used batteries, follow the instructions of your local authorities.
- If your watch is of the fob or pendant type, the strap or chain attached to the watch may damage your clothes, or injure the hand, neck, or other parts of your body.
WARNING
Do not use the watch in scuba diving or saturation diving. The various tightened inspections under simulated harsh environments, which are usually required for watches designed for scuba diving or saturation diving, have not been conducted on the water-resistant watch with the BAR (barometric pressure) display. For diving, use watches specifically designed for diving.
CAUTION
Do not pour running water directly from faucet. The water pressure of tap water from a faucet is high enough to degrade the water-resistant performance of a water-resistant watch for everyday life.
CAUTION
Please note that there is a risk of minor injury or material damage if the following safety regulations are not strictly observed.
Do not turn or pull out the crown when the watch is wet.
Water may get inside of the watch.
- If the inner surface of the glass is clouded with condensation or water droplets appear inside of the watch for a long time, the water-resistant performance of the watch has deteriorated. Immediately consult the retailer from whom the watch was purchased or SEIKO CUSTOMER SERVICE CENTER.
Do not leave moisture, sweat and dirt on the watch for a long time.
Be aware of a risk that a water-resistant watch may lessen its water-resistant performance because of deterioration of the adhesive on the glass or gasket, or the development of rust on stainless steel.
Do not wear the watch while taking a bath or a sauna.
Steam, soap or some components of a hot spring may accelerate the deterioration of the water-resistant performance of the watch.
Before use
- Make sure to keep the watch sufficiently charged
The watch operates while charging electricity by converting light received on the dial to electrical energy. It cannot properly operate unless the remaining energy is sufficient. Place or store in a location receiving light, etc., to sufficiently charge electricity. - The amount of energy stored in the watch can be checked by the movement of the seconds hand.
- Two-second interval movement by the seconds hand is a signal that the energy of the watch is nearly depleted. (For models with a seconds hand)
- Charging the solar battery
- “How to charge the battery”
- “Guide to charging times”
Names of the parts and their functions
- Minute hand
- Hour hand
- Seconds hand
- Date and day of the week
- Crown

- The position and design of the display may vary depending on the model.
- Some models may not have a seconds hand or display the date or day of the week.
Crown
There are two types of crowns, a normal crown and a screw down crown. Please check the type of the crown of your watch.

- By locking the crown by screw, a screw down crown can prevent malfunction and increase water resistance.
- Be careful not to screw the crown in by force as it may damage the slots of the crown.
How to set the time (for models with two or three hands)

- Pull out the crown.
If your watch has three hands, pull out the crown when the second hand is at the 12 o’clock position. (The second hand will stop.)- For models with screw-down crown, please unlock the crown before operating it.
- Turn the crown to set the time.
In order to set the time accurately, turn the minute hand 4 to 5 minutes ahead and then return it to the correct time. - Push the crown back in to the normal position.
If your watch has three hands, push the crown back in simultaneously with a time signal.- The telephone time signal service is helpful for setting the seconds hand exactly.
- For models with screw-down crown, please be sure to lock the crown after operating it.

How to set the time and date (for models with date or date and day of the week)

Time setting
- Pull out the crown to the second click.
Pull out the crown to the second click when the seconds hand is at the 12 o’clock position; the seconds hand stops on the spot.- For models with screw down crown, please unlock the crown before operating it.
- Turn the crown to set the time.
In order to set the time accurately, turn the minute hand 4 to 5 minutes ahead and then return it to the correct time.- When setting the time, make sure that AM/PM is set correctly. The date changes once every 24 hours.
- Push the crown back in to the normal position in accordance with a time signal.
- The telephone time signal service is helpful for setting the seconds hand exactly.
- For models with screw-down crown, please be sure to lock the crown after operating it.

Date (Day of the week) setting
The watch is provided with a date (day of the week) function and is so designed that the date changes once every 24 hours. The date (day of the week) changes around 12 o’clock midnight. If AM/PM is not properly set, the date will change at 12 o’clock noon.
CAUTION
Do not set the date (day of week) within the following time frames. Amending the date during this time period may cause problems such as the date failing to change the next day or may cause damage.
- Date-displaying models: 9:00 pm to 1:00 am
- Date/day of week-displaying models: 9:00 pm to 4:00 am
- Pull out the crown to the first click.
- For models with screw-down crown, please unlock the crown before operating it.
- Turn the crown to set the date (day of the week). Day of the week can be displayed either in Japanese or English by your choice.
- Some models display the date and day of the week in the reverse order.
- Push the crown back into the normal position.
- For models with screw-down crowns, please be sure to lock the crown after operating it.

- For models with screw-down crowns, please be sure to lock the crown after operating it.
Manual date adjustment at the end of the month
It is necessary to adjust the date at the end of February and 30-day months.
Ex.) To adjust the date in the A.M. period on the first day of a month following a 30-day month
The watch displays “31” instead of “1.” Pull out the crown to the first click. Turn the crown to set the date to “1” and then push the crown back in to the normal position.
- For models with screw-down crown, please be sure to lock the crown after operating it.

CAUTION
Avoid amending the date within the following time frames. Doing so may cause damage.
- Date-displaying models: 9:00 pm to 1:00 am
- Date/day of week-displaying models: 9:00 pm to 4:00 am
SOLAR CHARGING FUNCTION
Charging the battery
How to charge the battery
Expose the dial to light to charge the watch.

To ensure optimal performance of the watch, make sure that the watch is kept sufficiently charged at all times.
Under the following situations, the energy of the watch is likely to be depleted, resulting in stoppage of the watch:
- The watch is concealed under a sleeve.
- The watch is used or stored under conditions where it cannot be exposed to light for a long time.
- Be careful to make sure that the watch does not get hot when it is charging. (The operating temperature range is -10°C to +60°C.)
- When you first start using the watch or starting it after it stopped due to a lack of charge, charge the watch sufficiently using the table on P.18 as a guide.
- Two-second interval movement by the seconds hand is a signal that the energy of the watch is nearly depleted. (For models with a seconds hand)
Guide to charging times
Charge the watch using the times below as a guide.
The “Time required for charging the watch to stable hand movement” figure is an estimate of the amount of time required to expose the stopped watch to light and charge the watch until it reaches stable hand movement (for models with a seconds hand: until it reaches one-second interval movement). Charge the watch using these times as a guide.
- The required charging time slightly varies depending on the model of the watch.
V111/V114/V115/V116/V117
| Illuminance lx (LUX) | Light source | Condition (Example) | Time required for fully charging the watch | Time required for charging the watch to stable hand movement | Time required for charging the watch to last for 1 day |
| 700 | Fluorescent light | General offices | – | 60 hours | 3 hours |
| 3,000 | Fluorescent light | 30 W 20 cm | 180 hours | 10 hours | 35 minutes |
| 10,000 | Sunlight | Cloudy day | 60 hours | 4 hours | 12 minutes |
| 100,000 | Sunlight | Sunny day (Under direct sunlight on a summer day) | 10 hours | 30 minutes | 2 minutes |
V131/V137/V138
| Illuminance lx (LUX) | Light source | Condition (Example) | Time required for fully charging the watch | Time required for charging the watch to stable hand movement | Time required for charging the watch to last for 1 day |
| 700 | Fluorescent light | General offices | – | 16 hours | 110 minutes |
| 3,000 | Fluorescent light | 30 W 20 cm | 90 hours | 4 hours | 30 minutes |
| 10,000 | Sunlight | Cloudy day | 30 hours | 72 minutes | 8 minutes |
| 100,000 | Sunlight | Sunny day (Under direct sunlight on a summer day) | 10 hours | 6 minutes | 1 minute |
V147/V157/V158
| Illuminance lx (LUX) | Light source | Condition (Example) | Time required for fully charging the watch | Time required for charging the watch to stable hand movement | Time required for charging the watch to last for 1 day |
| 700 | Fluorescent light | General offices | – | 25 hours | 110 minutes |
| 3,000 | Fluorescent light | 30 W 20 cm | 120 hours | 6 hours | 30 minutes |
| 10,000 | Sunlight | Cloudy day | 35 hours | 2 hours | 10 minutes |
| 100,000 | Sunlight | Sunny day (Under direct sunlight on a summer day) | 9 hours | 24 minutes | 2 minutes |
V181
| Illuminance lx (LUX) | Light source | Condition (Example) | Time required for fully charging the watch | Time required for charging the watch to stable hand movement | Time required for charging the watch to last for 1 day |
| 700 | Fluorescent light | General offices | 82 hours | 6 hours | 75 minutes |
| 3,000 | Fluorescent light | 30 W 20 cm | 20 hours | 78 minutes | 18 minutes |
| 10,000 | Sunlight | Cloudy day | 5 hours | 18 minutes | 5 minutes |
| 100,000 | Sunlight | Sunny day (Under direct sunlight on a summer day) | 126 minutes | 6 minutes | 2 minutes |
V187
| Illuminance lx (LUX) | Light source | Condition (Example) | Time required for fully charging the watch | Time required for charging the watch to stable hand movement | Time required for charging the watch to last for 1 day |
| 700 | Fluorescent light | General offices | 100 hours | 8 hours | 95 minutes |
| 3,000 | Fluorescent light | 30 W 20 cm | 25 hours | 96 minutes | 23 minutes |
| 10,000 | Sunlight | Cloudy day | 7 hours | 24 minutes | 6 minutes |
| 100,000 | Sunlight | Sunny day (Under direct sunlight on a summer day) | 3 hours | 6 minutes | 3 minutes |
TO PRESERVE THE QUALITY OF YOUR WATCH
Power Source
The battery used in this watch is a special secondary battery, which is different from ordinary batteries. Unlike an ordinary silver oxide battery, the secondary battery does not require periodic replacement. The capacity or charging efficiency may gradually lower due to long-term use or operating environment. In addition, long-term use may shorten the charge duration due to wear, contamination, lubricant deterioration of mechanical parts, etc. Request repair when the performance lowers.
WARNING
Notes on replacing the secondary battery
- Do not remove the secondary battery from the watch. Replacement of the secondary battery requires professional knowledge and skill. Please ask the retailer from whom the watch was purchased for replacement of the secondary battery.
- Installation of an ordinary silver oxide battery can generate heat that can cause bursting and ignition.
- Overcharge prevention function
When the secondary battery is fully charged, the overcharge prevention function is automatically activated to avoid further charging. There is no need to worry about damage caused by overcharging no matter how much the secondary battery is charged in excess of the “time required for fully charging the watch.”- For the required time to fully charge the battery, see “Guide to charging times”.
WARNING
Notes on charging the watch
- When charging the watch, do not place the watch in close proximity to an intense light source such as lighting equipment for photography, spotlights or incandescent lights, as the watch may be excessively heated resulting in damage to its internal parts.
- When charging the watch by exposure to direct sunlight, avoid places that easily reach high temperatures, such as a car dashboard.
- Always keep the watch temperature under 50°C.
Daily care
The watch requires good daily care
- Do not wash the watch when its crown is in the extended position.
- Wipe away moisture, sweat or dirt with a soft cloth.
- After soaking the watch in seawater, be sure to wash the watch in clean pure water and wipe it dry carefully. Do not pour running water directly from a faucet onto the watch. Put some water into a bowl first, and then soak the watch in the water to wash it.
- If your watch is rated as “Non-water resistant” or “water resistant for daily use,” please do not wash the watch.
- “Performance and type”
- “Water resistant performance”
- If your watch is rated as “Non-water resistant” or “water resistant for daily use,” please do not wash the watch.
Turn the crown from time to time
- In order to prevent corrosion of the crown, turn the crown from time to time.
- The same practice should be applied to a screw down crown. “Crown”
Performance and type
The case back shows the caliber and performance of your watch

- Water resistant performance
Please refer to P.26. - Case Number
The number to identify the type of your watch. - Magnetic resistant performance
The above illustration is provided as an example, therefore it may not be exactly the same as your watch.
Lumibrite
If your watch has Lumibrite
Lumibrite is a luminous paint that absorbs the light energy of sunlight and lighting apparatuses in a short time and stores it to emit light in the dark. For example, if exposed to a light of more than 500 lux for approximately 10 minutes, Lumibrite can emit light for 3 to 5 hours. Please note, however, that, as Lumibrite emits the light it stores, the luminance level of the light decreases gradually over time. The duration of the emitted light may also differ slightly depending on such factors as the brightness of the place where the watch is exposed to light and the distance from the light source to the watch.
- In general, when coming from a place that is bright to a place that is dark, it takes human eyes some time to adapt to the darkness making it difficult to see objects initially. (Dark adaptation)
- Lumibrite is luminous paint that stores and emits light, which is harmless to human beings and the environment, containing no toxic materials such as radioactive substances.
Brightness levels
| Condition | Illumination | |
| Sunlight | Fine weather | 100,000 lux |
| Cloudy weather | 10,000 lux | |
| Indoor (Window-side during daytime) | Fine weather | More than 3,000 lux |
| Cloudy weather | 1,000 to 3,000 lux | |
| Rainy weather | Less than 1,000 lux | |
| Lighting apparatus (40-watt daylight fluorescent light) | Distance to the watch: 1 m | 1,000 lux |
| Distance to the watch: 3 m | 500 lux (Average room luminance) | |
| Distance to the watch: 4 m | 250 lux | |
Water resistant performance
Refer the table below for the description of water resistant performance of your watch before using.
| Indication on the Water resistant case back performance | Conditions of Use | ||
| No indication WATER RESISTANT | Non-water resistance | Avoid drops of water or sweat | |
| Water resistance for everyday life | The watch withstands accidental contact with water in everyday life. | b WARNING Please do not use it for swimming. | |
| WATER RESISTANT 5 BAR | Water resistance for everyday life at 5-BAR water resistant | The watch is suitable for sports such as swimming. | |
| WATER RESISTANT 10(20)BAR | Water resistance for everyday life at 10 (20)-BAR water resistant | The watch is suitable for diving not using an air cylinder. | |
Magnetic resistant performance
Affected by nearby magnetism, a watch may temporarily gain or lose time or stop operating.

If the watch becomes magnetized and its accuracy deteriorates to an extent exceeding the specified rate under normal use, the watch needs to be demagnetized. In this case, you will be charged for demagnetization and accuracy readjustment even if it happens within the guarantee period.
The reason why a watch is affected by magnetism
The built-in motor is provided with a magnet, which may be influenced by a strong external magnetic field.
Examples of common magnetic products that may affect watches

Band
The band touches the skin directly and becomes dirty with sweat or dust. Therefore, lack of care may accelerate deterioration of the band or cause skin irritation or stain on the sleeve edge. The watch requires a lot of attention for long usage.
Metallic band
- Moisture, sweat or soil will cause rust even on a stainless steel band if they are left for a long time.
- Lack of care may result in a rash or cause a yellowish or gold stain on the lower sleeve edge of shirts.
- Wipe off moisture, sweat or soil with a soft cloth as soon as possible.
- To clean the soil around the joint gaps of the band, wipe it out in water and then brush it off with a soft toothbrush. (Protect the watch body from water splashes by wrapping it up in plastic wrap etc.) Clean it off with a soft cloth.
- Because some titan bands use pins made of stainless steel, which has outstanding strength, rust may form in the stainless steel parts.
- If rust advances, pins may poke out or drop out, and the watch case may fall off the band, or the clasp may not open.
- If a pin is poking out, personal injury may result. In such a case, refrain from using the watch and request repair.
Leather band
- A leather band is susceptible to discoloration and deterioration from moisture, sweat and direct sunlight.
- Wipe off moisture and sweat as soon as possible by gently blotting them up with a dry cloth.
- Do not expose the watch to direct sunlight for a long time.
- Please take care when wearing a watch with light-colored band, as dirt is likely to show up.
- Refrain from wearing a leather band watch other than Aqua Free bands while bathing, swimming, and when working with water even if the watch itself is water resistant enforced for daily use (10-BAR/20-BAR water resistant).
Polyurethane band
- A polyurethane band is susceptible to discoloration from light, and may be deteriorated by solvent or atmospheric humidity.
- Especially a translucent, white, or pale colored band easily adsorbs other colors, resulting in color smears or discoloration.
- Wash out dirt in water and clean it off with a dry cloth. (Protect the watch body from water splashes by wrapping it up in plastic wrap etc.)
- When the band becomes less flexible, have the band replaced with a new one. If you continue to use the band as it is, the band may develop cracks or become brittle over time.
| Notes on skin irritation and allergy | Skin irritation caused by a band may result from various factors such as allergy to metals or leathers, or skin reactions against friction on dust or the band itself. |
| Notes on the | Adjust the band to allow a little clearance with your wrist to ensure proper airflow. |
| length of the band | When wearing the watch, leave enough room to insert a finger between the band and your wrist. |
How to use tri-fold type clasp for leather band (Special clasps)
There are 3 types of special clasps as described below; If the clasp of the watch you purchased is one of them, please refer to the indications.

A Type
- Lift up the clasp to release the buckle.

- Open the flap.

- Remove the pin from the adjustment hole. Slide the band left and right, and reinsert the pin into the adjustment hole at an appropriate length.

- Fasten the flap.
- Do not push the flap in too hard.

- When fastening the clasp, insert the tip of the band into the movable loop and fixed loop, and then, securely tighten the clasp.
- Do not push the flap in too hard.
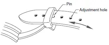
B Type

- While pressing the push buttons on both sides of the flap, lift to open the clasp.

- Remove the pin from the adjustment hole. Slide the band left and right, and insert the pin into the adjustment hole at an appropriate length. Push the buckle and fasten the clasp.

C Type
How to wear or take off the watch
- While pressing the push buttons on both sides of the flap, pull the band out of the movable loop and fixed loop. Then open the clasp.

- Place the tip of the band into the movable loop and fixed loop, and fasten the clasp by pressing the frame of the buckle.
How to adjust the length of the band
- While pressing the push buttons on both sides of the flap, pull the band out of the movable loop and fixed loop. Then open the clasp.

- Press the push buttons again to unfasten the flap.

- Pull the pin out of an adjustment hole of the band. Slide the band to adjust its length and find an appropriate hole. Place the pin into the hole.

- Fasten the flap.

After sales service
Notes on guarantee and repair
- Contact the retailer from whom the watch was purchased or SEIKO CUSTOMER SERVICE CENTER for repair or overhaul.
- Within the guarantee period, present the certificate of guarantee to receive repair services.
- Guarantee coverage is provided in the certificate of guarantee. Read carefully and retain it.
- For repair services after the guarantee period has expired, if the functions of the watch can be restored by repair work, we will undertake repair services upon request and payment.
Replacement with functional parts
- Please keep in mind that if original parts are not available, they may be replaced with substitutes whose outward appearance may differ from the originals.
Inspection and adjustment by disassembly and cleaning (Overhaul)
- Periodic inspection and adjustment by disassembly and cleaning (overhaul) is recommended approximately once every 3 to 4 years in order to maintain optimal performance of the watch for a long time. According to use conditions, the oil retaining condition of your watch mechanical parts may deteriorate, abrasion of the parts may occur due to contamination of oil, which may ultimately lead the watch itself to stop. As the parts such as gasket may deteriorate, water-resistant performance may be impaired due to intrusion of perspiration and moisture. Please contact the retailer from whom the watch was purchased for inspection and adjustment by disassembly and cleaning (overhaul). For replacement of parts, please specify “SEIKO GENUINE PARTS.” When asking for inspection and adjustment by disassembly and cleaning (overhaul), make sure that the gasket and push pin are also replaced with new ones.
- When your watch is inspected and adjusted by disassembly and cleaning (overhauled), the movement of your watch may be replaced.
Troubleshooting
| Troubles The watch stops operating. The seconds hand is moving at two- second intervals. (For models with a seconds hand)
The watch temporarily gains/ loses time. | Possible causes Solutions Reference | ||
| The power is completely depleted or low. If you wear the watch every day and this occurs, the most likely cause is the watch is hidden by your sleeves or other clothing when you wear it and it is not sufficiently exposed to light. | Sufficiently charge the battery until it reaches stable hand movement. When you wear the watch, try to make sure that the watch is not hidden by your sleeves or other clothing. Additionally, when you take the watch off, try to place it in a bright place. |
P.17 | |
| The watch has been left in extremely high or low temperatures for a long time. | If the watch returns to room temperature, the accuracy will return to its original state. If it does not return to its original state, contact the retailer from whom the watch was purchased. | – | |
| The watch has been left close to an object with a strong magnetic field. | Correct this condition by moving and keeping the watch away from the magnetic source, and reset the time. If this action does not correct the condition, contact the retailer from whom the watch was purchased. | – | |
| You drop the watch, hit it against a hard surface, or wear it while playing active sports. The watch is exposed to strong vibrations. | If accuracy does not return after setting the time, consult the retailer from whom the watch was purchased. | – | |
| Troubles The date changes at 12 o’clock noon. (For models with a date display) Blur in the display persists. | Possible causes Solutions Reference | ||
| AM/PM is not properly set. | Advance the hands by 12 hours. | P.12 | |
| A small amount of water has got inside the watch due to deterioration of the gasket, etc. | Consult the retailer from whom the watch was purchased. | – | |
Specifications
| Caliber number
1. Features | V114/V115/ V116 | V111/V117/ V131 | V137/V138 | V147/V157/ V158 | V187 |
| Basic watch with two hands (Hour and minute hands) | Basic watch with three hands (Hour, minute and seconds hands) | Basic watch with three hands (Hour, minute and seconds hands), date display | |||
| 2. Frequency of crystal oscillator | 32,768 Hz (Hz= Hertz, cycles per second) | ||||
| 3. Loss/gain (Monthly rate) | Monthly average loss/gain ±15 seconds (If worn on the wrist in a temperature range of 5°C to 35°C) | ||||
| 4. Operational temperature range
5. Driving system | -10 °C ~ +60 °C | ||||
| Step motor (Hour and minute hands) | Step motor (Hour, minute and seconds hands) | Step motor (Hour, minute and seconds hands), date display | |||
| 6. Power source 7. Duration | Secondary battery, 1 piece | ||||
| Approx. 12 months | Approx. 6 months | Approx. 10 months | Approx. 2 months | ||
| 8. IC (Integrated Circuit) | Oscillator, frequency divider and driving circuit C-MOSIC, 1 piece | ||||
The specifications are subject to change without prior notice due to product improvements.
Caliber number
| Caliber number | V181 |
| 1. Features | Basic watch with three hands (Hour, minute and seconds hands) |
| 2. Frequency of crystal oscillator | 32,768 Hz (Hz= Hertz, cycles per second) |
| 3. Loss/gain (Monthly rate) | Monthly average loss/gain ±20 seconds (If worn on the wrist in a temperature range of 5°C to 35°C) |
| 4. Operational temperature range | -5°C ~ +50°C |
| 5. Driving system | Step motor (Hour, minute and seconds hands) |
| 6. Power source | Secondary battery, 1 piece |
| 7. Duration | Approx. 2 months |
| 8. IC (Integrated Circuit) | Oscillator, frequency divider and driving circuit C-MOSIC, 1 piece |
The specifications are subject to change without prior notice due to product improvements.
Please refer to the Instruction Manuals of other languages by accessing “Customer Service” => “Instruction” on our Website from PC or Smartphone.

































