SEIKO 6R31 Mechanical Men Watch Instructions
Thank you very much for choosing a SEIKO watch For proper and safe use of your SEIKO watch, please read carefully the instructions in this booklet before using it.
Keep this manual handy for easy reference.
- Length adjustment service for metallic bands is available at the retailer from whom the watch was purchased. If you cannot have your watch repaired by the retailer from whom the watch was purchased because you received the watch as a gift, or you moved to a distant place, please contact SEIKO CUSTOMER SERVICE CENTER. The service may also be available on a chargeable basis at other retailers, however, some retailers may not undertake the service.
- If your watch has a protective film for preventing scratches, make sure to peel it off before using the If the watch is used with the film on it, dirt, sweat, dust, or moisture may be attached to the film and may cause rust.
Handling cautions
Please note that there is a risk of serious consequences such as severe injury if the following safety regulations are not strictly observed. |
| Immediately stop wearing the watch in following cases:○ If the watch body or band becomes edged by corrosion etc.○ If the pins protrude from the band.* Immediately consult the retailer from whom the watch was purchased or SEIKO CUSTOMER SERVICE CENTER. |
| Keep the watch and accessories out of the reach of babies and children. Care should be taken to prevent a baby or a child accidentally swallowing the accessories. If a baby or child swallows the battery or accessories, immediately consult a doctor, as it will be harmful to the health of the baby or child. |
Please note that there is a risk of minor injury or material damage if the following safety regulations are not strictly observed. |
Avoid the following places for wearing or keeping the watch:
|
| If you observe any allergic symptoms or skin irritationStop wearing the watch immediately and consult a specialist such as a dermatologist or an allergist. |
Other cautions
|
WARNING:
Do not use the watch in scuba diving or saturation diving.
The various tightened inspections under simulated harsh environment, which are usually required for watches designed for scuba diving or saturation diving, have not been conducted on the water resistant watch with the BAR (barometric pressure) display. For diving, use watches specifically designed for diving.
CAUTION:
Do not pour running water directly from faucet.
The water pressure of tap water from a faucet is high enough to degrade the water resistant performance of a water resistant watch for everyday life.
CAUTION:
Please note that there is a risk of minor injury or material damage if the following safety regulations are not strictly observed.
Do not turn or pull out the crown when the watch is wet.
Water may get inside of the watch.
If the inner surface of the glass is clouded with condensation or water droplets appear inside of the watch for a long time, the water resistant performance of the watch is deteriorated. Immediately consult the retailer from whom the watch was purchased or SEIKO CUSTOMER SERVICE CENTER.
Do not leave moisture, sweat and dirt on the watch for a long time.
Be aware of a risk that a water resistant watch may lessen its water resistant performance because of deterioration of the adhesive on the glass or gasket, or the development of rust on stainless steel
Do not wear the watch while taking a bath or a sauna.
Steam, soap or some components of a hot spring may accelerate the deterioration of water resistant performance of the watch.
Mechanical watch characteristics (Hand-wound, auto-wound)
- This is a mechanical watch powered by a spring.
- To use it from a stopped state, turn the crown 20 turns by hand to wind up the spring before starting the watch.
- Although the accuracy of quartz watches is measured in differences over months or years, in mechanical watches it is measured in differences per day (i.e., the amount the watch speeds up or slows down in a single day).
- Additionally, mechanical watches are subtly affected by the conditions in which they are used (e.g., duration worn, temperature, arm movement, the amount wound, etc.) ; thus, the amount of error is not constant.
- When affected by a strong magnetism from outside, a mechanical watch may lose/gain time temporarily. The parts of the watch may become magnetized depending on the extent of the effect. In such a case, consult the retailer from whom the watch was purchased since the watch requires repair including demagnetizing
Names of the parts and their functions
6R31

- Minute hand
- Hour hand
- Seconds hand
- Crown
- Normal position (not locked): Wind up the watch (hand wound)
- First click position: Time setting
The position and design of the display may vary depending on the model
6R35

- Minute hand
- Hour hand
- Seconds hand
- Date
- Crown
- Normal position (not locked): Wind up the watch (hand wound)
- First click position: Date setting
- Second click position: Time setting
The position and design of the display may vary depending on the model.
6R38

- Minute hand
- Hour hand
- Seconds hand
- Crown
- Normal position (not locked): Wind up the watch (hand-wound)
- First click position: Time setting
The position and design of the display may vary depending on the model
Crown
There are two types of crowns, a normal crown and a screw down crown. Please check the type of the crown of your watch.
While pressing the crown in, turn it in the direction indicated by the arrow.

The crown turns:
Normal crown
Pull out the crown and operate it.
The crown does not turn:
Screw down crown
Unlock the crown before operating it.
After operating the crown, lock it.
Rotate while pressing the crown in.
- By locking the crown by screw, a screw down crown can prevent malfunction and increase water resistance.
- Be careful not to screw the crown in by force as it may damage the slots of the crown.
How to wind the mainspring
- This is an automatic mechanical watch with a manual winding mechanism.
- When the watch is worn on the wrist, the mainspring is wound automatically through normal wrist movement. The watch can also be wound up by turning the crown.
- To start the watch after it stops completely, wind it up either by turning the crown or swinging it from side to side until the seconds hand starts moving. Then, set the time and date before putting the watch on the wrist. To wind up the watch, turn the crown clockwise slowly. The watch cannot be wound by turning the crown counterclockwise. In this way ,the watch can be wound up fully. Furthermore, turning the crown further will not break the spring.
- For the watch with screw down crown, please unlock the crown before operating it and be sure to lock the crown after operating it.
- Once the watch is wound up fully, it operates for about 70 hours.
- If the watch is used without being wound up fully, gain or loss of time may result. To avoid this, wear the watch for more than 10 hours a day. If the watch is used without being worn on the wrist, be sure to wind it up fully every day at a fixed time.
- If you use a watch that has stopped with the mainspring unwound, winding the mainspring with the crown will not start the watch immediately. That is because the mainspring torque or force is low at the beginning of its winding due to the characteristics of mechanical watches. The seconds hand will start to move when a certain degree of torque is reached after the mainspring has been wound up. However, swinging the watch from side to side to forcibly turn the balance can start the watch sooner
How to set the time (6R31 / 6R38)
- Pull out the crown to the first click and set the time
For models with screw down crown, please unlock the crown before operating it
Pull out the crown to the first click when the seconds hand is at the 12 o’clock position; the seconds hand stops on the spot.
Turn the crown to advance the hands to set the correct time - Push the crown back in to the normal position in accordance with a time signal.
The seconds hand immediately starts moving.- The telephone time signal service is helpful for setting the seconds hand exactly.
- For models with screw down crown, please be sure to lock the crown after operating it
How to set the time and date (6R35)
The watch is provided with a date function and is so designed that the date changes once every 24 hours
The date changes around 12 o’clock midnight. If AM/PM is not properly set, the date will change at 12 o’clock noon
CAUTION:
Do not set the date between 9:00 p.m. and 1:00 a.m. Amending the date during this time period may cause problems such as the date failing to change the next day
- Pull out the crown to the first click.
- For models with screw down crown, please unlock the crown before operating it

- For models with screw down crown, please unlock the crown before operating it
- The date can be set by turning the crown.
Turn it until the previous day’s date appears.
Ex.) To display the date as “6,” then set this to “5.” Turn the crown to the left (counterclockwise) to set the date - Pull out the crown to the second click and set the time.
Pull out the crown to the second click when the seconds hand is at the 12 o’clock position; the seconds hand stops on the spot.
Turn the crown to advance the hands until the date changes to the next. The time is now set for the A.M. period. Advance the hands to set the correct time
- Push the crown back in to the normal position in accordance with a time signal.
The seconds hand immediately starts moving.
- The telephone time signal service is helpful for setting the seconds hand exactly.
- For models with screw down crown, please be sure to lock the crown after operating it
CAUTION:
The mechanism of mechanical watches is different from that of quartz watches. When setting the time, be sure to turn back the minute hand a little behind the desired time and then advance it to the exact time.
Date adjustment at the end of the month
It is necessary to adjust the date at the end of February and 30-day
months. Ex.) To adjust the date in the A.M. period on the first day of a month following a 30-day month The watch displays “31” instead of “1.” Pull out the crown to the first click. Turn the crown counterclockwise to set the date to “1” and then push the crown back in to the normal position.
For models with screw down crown, please be sure to lock the crown after operating it.
CAUTION:
- Avoid amending the date when the watch is displaying between 9 PM and 1 AM. Doing so may cause damage.
How to use the compass (Only for models with the compass bezel (ring))
- Please use the compass in places where the sun is visible or its location is known.
- If daylight saving time (summer time) is in effect in your area, be sure to set your watch one hour behind the current time before using the rotating compass.
- The compass is so designed to provide only a rough indication of directions, and should not be used where accuracy is critical
How to use the compass bezel (ring)
In the Northern Hemisphere
- In low latitude areas(south of the Tropic of Cancer),the compass may not function properly at certain times of the year
- While keeping the dial level, point the hour hand in the direction of the sun
- Set “S (South)” on the rotating compass bezel (ring) to the middle point of the arc between the 12 o’clock marker and the time scale indicated by the hour hand.
- The direction marks on the rotating compass indicate the corresponding directions

- The direction marks on the rotating compass indicate the corresponding directions
In the Southern Hemisphere
- In low latitude areas (north of the Tropic of Capricorn), the compass may not function properly at certain times of the year
- While keeping the dial level, point the 12 o’clock marker in the direction of the sun.
- Set “N (North)” on the rotating compass bezel (ring) to the middle point of the arc between the 12 o’clock marker and the time scale indicated by the hour hand.
The direction marks on the rotating compass indicate the corresponding directions.- “N” may be another mark.
- In the case of a ring, it may have a crown, etc. for operation

Daily care
The watch requires good daily care
- Do not wash the watch when its crown is in the extended position.
- Wipe away moisture, sweat or dirt with a soft cloth.
- After soaking the watch in seawater, be sure to wash the watch in clean pure water and wipe it dry carefully. Do not pour running water directly from a faucet onto the watch. Put some water into a bowl first, and then soak the watch in the water to wash it.
- If your watch is rated as “Non-water resistant” or “water resistant for daily use,” please do not wash the watch. “Performance and type” → P.24 “Water resistant performance” → P.26
Turn the crown from time to time
- In order to prevent corrosion of the crown, turn the crown from time to time.
- The same practice should be applied to a screw down crown. “Crown” → P.11
Performance and type
The case back shows the caliber and performance of your watch
- Water resistant performance
Please refer to P.26. - Case Number
- Magnetic resistant performance
Please refer to P.27 and P.28.
The number to identify the type of your watch. - The above illustration is provided as an example, therefore it may not be exactly the same as your watch.
Lumibrite
If your watch has Lumibrite
Lumibrite is a luminous paint that absorbs the light energy of sunlight and lighting apparatuses in a short time and stores it to emit light in the dark. For example, if exposed to a light of more than 500 lux for approximately 10 minutes, Lumibrite can emit light for 3 to 5 hours. Please note, however, that, as Lumibrite emits the light it stores, the luminance level of the light decreases gradually over time. The duration of the emitted light may also differ slightly depending on such factors as the brightness of the place where the watch is exposed to light and the distance from the light source to the watch.
- In general, when coming from a place that is bright to a place that is dark, it takes human eyes some time to adapt to the darkness making it difficult to see objects initially. (Dark adaptation)
- Lumibrite is luminous paint that stores and emits light, which is harmless to human beings and the environment, containing no toxic materials such as radioactive substances.
Brightness levels
| Condition | Illumination | |
| Sunlight | Fine weather | 100,000 lux |
| Cloudy weather | 10,000 lux | |
| Indoor (Window-side during daytime) | Fine weather | More than 3,000 lux |
| Cloudy weather | 1,000 to 3,000 lux | |
| Rainy weather | Less than 1,000 lux | |
| Lighting apparatus (40-watt daylight fluorescent light) | Distance to the watch: 1 m | 1,000 lux |
| Distance to the watch: 3 m | 500 lux (Average room luminance) | |
| Distance to the watch: 4 m | 250 lux | |
Water resistant performance
Refer the table below for the description of water resistant performance of your watch before using. (Please look at P.24.)
| Indication on the Water resistantcase back performance | Conditions of Use | ||
| No indication WATER RESISTANT | Non-water resistance | Avoid drops of water or sweat | |
| Water resistance for everyday life | The watch withstands accidental contact with water in everyday life. | WARNING Please do not use it for swimming. | |
| WATER RESISTANT5 BAR | Water resistance for everyday life at 5-BARwater resistant | The watch is suitable for sports such as swimming. | |
| WATERRESISTANT 10(20)BAR | Water resistance for every day life at 10 (20)-BAR water resistant | The watch is suitable for diving not using an air cylinder. | |
Magnetic resistant performance
Affected by nearby magnetism, a watch may temporarily gain or lose time or stop operating.
| Indication on the case back Condition of use | |
| No indication | Keep the watch more than 5 cm away from magnetic products.(JIS level-1 standard) |
![]() | Keep the watch more than 1 cm away from magnetic products.(JIS level-2 standard) |
If the watch becomes magnetized and its accuracy deteriorates to an extent exceeding the specified rate
under normal use, the watch needs to be demagnetized. In this case, you will be charged for
demagnetization and accuracy readjustment even if it happens within the guarantee period.
The reason why a watch is affected by magnetism
The built-in balance spring may be influenced by a strong external magnetic field.
- Smartphone, cellular phone, tablet terminal (Speaker, magnet of cover)

- AC adapter

- Bag (With magnet buckle)

- AC-powered shaver

- Magnetic cooking device

- Portable radio (Speaker)

- Magnetic necklace

- Magnetic health pillow

Band
The band touches the skin directly and becomes dirty with sweat or dust. Therefore, lack of care may accelerate deterioration of the band or cause skin irritation or stain on the sleeve edge. The watch requires a lot of attention for long usage
Metallic band
- Moisture, sweat or soil will cause rust even on a stainless steel band if they are left for a long time
- Lack of care may result in a rash or cause a yellowish or gold stain on the lower sleeve edge of shirts.
- Wipe off moisture, sweat or soil with a soft cloth as soon as possible.
- To clean the soil around the joint gaps of the band, wipe it out in water and then brush it off with a soft toothbrush. (Protect the watch body from water splashes by wrapping it up in plastic wrap etc.) Clean it off with a soft cloth.
- Because some titan bands use pins made of stainless steel, which has outstanding strength, rust may form in the stainless steel parts.
- If rust advances, pins may poke out or drop out, and the watch case may fall off the band, or the clasp may not open.
- If a pin is poking out, personal injury may result. In such a case, refrain from using the watch and request repair.
Leather band
- A leather band is susceptible to discoloration and deterioration from moisture, sweat and direct sunlight.
- Wipe off moisture and sweat as soon as possible by gently blotting them up with a dry cloth.
- Do not expose the watch to direct sunlight for a long time.
- Please take care when wearing a watch with light-colored band, as dirt is likely to show up.
- Refrain from wearing a leather band watch other than Aqua Free bands while bathing, swimming, and when working with water even if the watch itself is water resistant enforced for daily use (10-BAR/20-BARwater resistant).
Polyurethane band
- A polyurethane band is susceptible to discoloration from light, and may be deteriorated by solvent or atmospheric humidity.
- Especially a translucent, white, or pale colored band easily adsorbs other colors, resulting in color smears or discoloration.
- Wash out dirt in water and clean it off with a dry cloth. (Protect the watch body from water splashes by wrapping it up in plastic wrap etc.)
- When the band becomes less flexible, have the band replaced with a new one. If you continue to use the band as it is, the band may develop cracks or become brittle over time.
Silicone band
- As for material characteristics, the band is easily dirtied, and may be stained and discolored. Wipe off dirt with a wet cloth or cleaning tissue.
- Unlike bands of other materials, cracks may result in the band being cut. Take care not to damage the band with an edged tool.
| Notes on skinirritation and allergy | Skin irritation caused by a band may result from various factors such as allergy to metals or leathers, or skin reactions against friction on dust or the band itself. |
| Notes on the | Adjust the band to allow a little clearance with your wrist to ensure proper airflow. |
| length of the band | When wearing the watch, leave enough room to insert a finger between the band and your wrist.![]() |
How to use tri-fold type clasp for leather band (Special clasps)
There are 3 types of special clasps as described below;
If the clasp of the watch you purchased is one of them, please refer to the indications


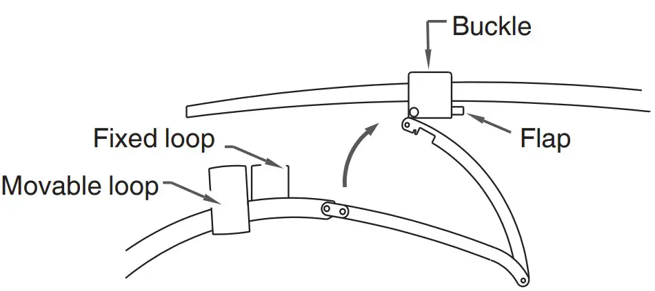
A: Type
- Lift up the clasp to release the buckle.

- Open the flap

- Remove the pin from the adjustment hole. Slide the band left and right, and reinsert the pin into the adjustment hole at an appropriate length.

- Fasten the flap.
- Do not push the flap in too hard

- When fastening the clasp, insert the tip of the band into the movable loop and fixed loop, and then, securely tighten the clasp.
- Do not push the flap in too hard
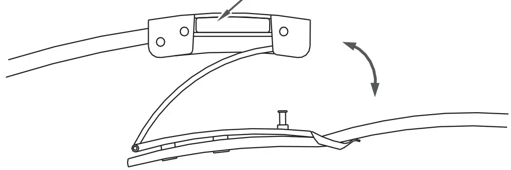
B: Type

- While pressing the push buttons on both sides of the flap, lift to open the clasp

- Remove the pin from the adjustment hole. Slide the band left and right, and insert the pin into the adjustment hole at an appropriate length. Push the buckle and fasten the clasp

How to adjust the length of the band
- While pressing the push buttons on both sides of the flap, pull the band out of the movable loop and fixed loop. Then open the clasp.

- Press the push buttons again to unfasten the flap.

- Pull the pin out of an adjustment hole of the band. Slide the band to adjust its length and find an appropriate hole. Place the pin into the hole.


- Fasten the flap.

Fasten the flap. How to use an easy adjust type clasp
Some bands are provided with an easy adjust type clasp for fine adjustment of the band’s length. If the clasp of the watch you purchased is as follows, please refer to the following instructions.
- The band can be lengthened by up to about 5 mm. This is useful if the band feels too tight or is uncomfortable for some reason

How to wear the band (Opening and closing the clasp)
- Lightly press the push buttons to open the clasp.
- Note that pressing the push buttons too firmly (deeply) actuates the adjuster, which lengthens the band.

- Note that pressing the push buttons too firmly (deeply) actuates the adjuster, which lengthens the band.
- Fasten the clasp by pressing the frame of the buckle

How to adjust the length of the band
- You can lengthen the band by up to about 5 mm (2 stages) by firmly pressing the push buttons from both sides to actuate the adjuster.

- Fasten the clasp by pressing the frame of the buckle.
- Even while the clasp is closed, you can still retract the length of band extended by the adjuster.

- The above illustrations are provided as examples. Some details may differ depending on the model.
- Even while the clasp is closed, you can still retract the length of band extended by the adjuster.
After sales service
Notes on guarantee and repair
- Contact the retailer from whom the watch was purchased or SEIKO CUSTOMER SERVICE CENTER for repair or overhaul.
- Within the guarantee period, present the certificate of guarantee to receive repair services.
- Guarantee coverage is provided in the certificate of guarantee. Read carefully and retain it.
- For repair services after the guarantee period has expired, if the functions of the watch can be restored by repair work, we will undertake repair services upon request and payment.
Replacement with functional parts
- Please keep in mind that if original parts are not available, they may be replaced with substitutes whose outward appearance may differ from the originals.
Inspection and adjustment by disassembly and cleaning (Overhaul)
- Periodic inspection and adjustment by disassembly and cleaning (overhaul) is recommended approximately once every 2 to 3 years in order to maintain optimal performance of the watch for a long time. 2
- The power transmission gear of the movement of this watch constantly receives force. To ensure that this mechanism works properly all the time, washing parts, changing oil, adjusting accuracy, checking functions and replacing consumable parts on a regular basis are important. The first overhaul after the purchase of your watch is particularly important for preserving long-time use of your watch. According to use conditions, the oil retaining condition of your watch mechanical parts may deteriorate, abrasion of the parts due to contamination of oil may advance or delay the time significantly, or the watch itself may stop. As the parts such as gasket may deteriorate, water resistant performance may be impaired due to intrusion of perspiration and moisture. Inspection and adjustment by disassembly and cleaning (overhaul) should be performed by the retailerfrom whom the watch was purchased, and who specifies “SEIKO GENUINE PARTS.” At this time, also request replacement of the gasket and the spring bar.
- When your watch is inspected and adjusted by disassembly and cleaning (overhauled), the movement of your watch may be replaced.
Mainspring wound condition and accuracy
In order to improve accuracy, it is important to regularly supply energy to the balance that controls the speed of the gears. The driving force of the mainspring that powers mechanical watches varies between when fully wound and immediately before it is unwound. As the mainspring unwinds, the force weakens. 2 Relatively steady accuracy can be obtained by wearing the watch on the wrist frequently for the self-winding type and winding up the mainspring fully everyday at a fixed time to move it regularly for the wind-up mechanical type.
Effect of magnetism
When affected by a strong magnetism from outside, the mechanical watch may lose/gain time temporarily. The parts of the watch may become magnetized depending on the extent of the effect. In such a case, consult the retailer from whom the watch was purchased since the watch requires repair including demagnetizing.
Troubleshooting
| Troubles | Possible causes | Solutions |
| The watch stops operating. | The mainspring has not been wound. | Wind up the watch as per “How to wind the mainspring” → (P.13), and set the time. If the watch still does not operate, consult theretailer from whom the watch was purchased. |
| The watch temporarily gains/loses time. | The watch has been left in extremely high or low temperatures for a long time. | Return the watch to a normal temperature so that it works accurately as usual, and then reset the time. The watch has been adjusted so that it works accurately when it is worn on your wrist under a normal temperature range between 5°C and 35°C. |
| The watch has been left close to an object with a strong magnetic field. | Correct this condition by moving and keeping the watch away from the magnetic source, and reset the time. If this action does not correct the condition, contact the retailer from whom the watch was purchased. | |
| You drop the watch, hit it against a hard surface, or wear it while playing active sports. The watch is exposed to strong vibrations. | If accuracy does not return after setting the time, consult the retailer from whom the watch was purchased. | |
| The watch has not been overhauled for more than 3 years. | Consult the retailer from whom the watch was purchased. |
Specifications
| Cal. | 6R31 / 6R38 | 6R35 |
| 1. Features | 3 hands (hour, minute, second) | 3 hands (hour, minute, second), dated is play |
| 2. Vibrations per hour | 21,600 vibrations/hour (6 vibrations/sec) | |
| 3. Loss/gain (daily rate) | +25 to -15 seconds at normal temperature range Only if worn on the wrist in a temperature range of 5°C to 35°C | |
| 4. Driving system | Automatic winding type with manual winding mechanism | |
| 5. Duration | Approx. 70 hours | |
| 6. Jewels | 24 jewels | |
- The accuracy above is factory-adjusted.
- Due to the characteristics of mechanical watches, any actual daily rate may not fall within the range of time accuracy specified above dependent on the conditions of use, such as the length of time during which the watch is worn on the wrist, temperature, arm movement, and whether the mainspring is wound up fully or not, etc.
| Troubles | Possible causes | Solutions |
| The date changes at12 o’clock noon. | AM/PM is not properly set. | Advance the hands by 12 hours. |
| Blur in the display persists. | A small amount of water has got inside the watch due to deterioration of the gasket, etc. | Consult the retailer from whom the watch was purchased. |
- For a solution to a problem other than listed above, contact the retailer from whom the watch was purchased.
















































