SKS818E9ZC 177cm Integrated Refrigerator
User Manual
SKS818E9ZC 177cm Integrated Refrigerator

FOR PERFECT RESULTS
Thank you for choosing this AEG product. We have created it to give you impeccable performance for many years, with innovative technologies that help make life simpler – features you might not find on ordinary appliances. Please spend a few minutes reading to get the very best from it.
Visit our website to:
Get usage advice, brochures, trouble shooter, service and repair information: www.aeg.com/support
Register your product for better service: www.registeraeg.com
Buy Accessories, Consumables and Original spare parts for your appliance: www.aeg.com/shop
CUSTOMER CARE AND SERVICE
Always use original spare parts.
When contacting our Authorised Service Centre, ensure that you have the following data available: Model, PNC, Serial Number.
The information can be found on the rating plate.
Warning / Caution-Safety information
General information and tips
Environmental information
Subject to change without notice.
SAFETY INFORMATION
Before the installation and use of the appliance, carefully read the supplied instructions. The manufacturer is not responsible for any injuries or damage that are the result of incorrect installation or usage. Always keep the instructions in a safe and accessible location for future reference.
1.1 Children and vulnerable people safety
- This appliance can be used by children aged from 8 years and above and persons with reduced physical, sensory or mental capabilities or lack of experience and knowledge if they have been given supervision or instruction concerning the use of the appliance in a safe way and understand the hazards involved.
- Children aged from 3 to 8 years are allowed to load and unload the appliance provided that they have been properly instructed.
- This appliance may be used by persons with very extensive and complex disabilities provided that they have been properly instructed.
- Children of less than 3 years of age should be kept away from the appliance unless continuously supervised.
- Children should be supervised to ensure that they do not play with the appliance.
- Children shall not carry out cleaning and user maintenance of the appliance without supervision.
- Keep all packaging away from children and dispose of it appropriately.
General Safety
- This appliance is for storing food and baverages only.
- This appliance is designed for single household domestic use in an indoor environment.
- This appliance may be used in, offices, hotel guest rooms, bed & breakfast guest rooms, farm guest houses and other similar accommodation where such use does not exceed (average) domestic usage levels.
- To avoid contamination of food respect the following instructions:
– do not open the door for long periods;
– clean regularly surfaces that can come in contact with food and accessible drainage systems;
– store raw meat and fish in suitable containers in the refrigerator, so that it is not in contact with or drip onto other food. - WARNING: Keep ventilation openings, in the appliance enclosure or in the built-in structure, clear of obstruction.
- WARNING: Do not use mechanical devices or other means to accelerate the defrosting process, other than those recommended by the manufacturer.
- WARNING: Do not damage the refrigerant circuit.
- WARNING: Do not use electrical appliances inside the food storage compartments of the appliance, unless they are of the type recommended by the manufacturer.
- Do not use water spray and steam to clean the appliance.
- Clean the appliance with a moist soft cloth. Only use neutral detergents. Do not use abrasive products, abrasive cleaning pads, solvents or metal objects.
- When the appliance is empty for long period, switch it off, defrost, clean, dry and leave the door open to prevent mould from developing within the appliance.
- Do not store explosive substances such as aerosol cans with a flammable propellant in this appliance.
- If the supply cord is damaged, it must be replaced by the manufacturer, its Authorised Service Centre or similarly qualified persons in order to avoid a hazard.
SAFETY INSTRUCTIONS
2.1 Installation
WARNING! Only a qualified person must install this appliance.
- Remove all the packaging.
- Do not install or use a damaged appliance.
- Do not use the appliance before installing it in the built-in structure due to safety manner.
- Follow the installation instructions supplied with the appliance.
- Always take care when moving the appliance as it is heavy. Always use safety gloves and enclosed footwear.
- Make sure the air can circulate around the appliance.
- At first installation or after reversing the door wait at least 4 hours before connecting the appliance to the power supply. This is to allow the oil to flow back in the compressor.
- Before carrying out any operations on the appliance (e.g. reversing the door), remove the plug from the power socket.
- Do not install the appliance close to radiators or cookers, ovens or hobs.
- Do not expose the appliance to the rain.
- Do not install the appliance where there is direct sunlight.
- Do not install this appliance in areas that are too humid or too cold.
- When you move the appliance, lift it by the front edge to avoid scratching the floor.
- The appliance contains a bag of desiccant. This is not a toy. This is not food. Please dispose of it immediately.
2.2 Electrical connection
WARNING!
Risk of fire and electric shock.
WARNING!
When positioning the appliance, ensure the supply cord is not trapped or damaged.
WARNING!
Do not use multi-plug adapters and extension cables.
- The appliance must be earthed.
- Make sure that the parameters on the rating plate are compatible with the electrical ratings of the mains power supply.
- Always use a correctly installed shockproof socket.
- Make sure not to cause damage to the electrical components (e.g. mains plug, mains cable, compressor). Contact the Authorised Service Centre or an electrician to change the electrical components.
- The mains cable must stay below the level of the mains plug.
- Connect the mains plug to the mains socket only at the end of the installation. Make sure that there is access to the mains plug after the installation.
- Do not pull the mains cable to disconnect the appliance. Always pull the mains plug.
2.3 Use
WARNING!
Risk of injury, burns, electric shock or fire.
The appliance contains flammable gas, isobutane (R600a), a natural gas with a high level of environmental compatibility. Be careful not to cause damage to the refrigerant circuit containing isobutane.
- Do not change the specification of this appliance.
- Any use of the built-in product as freestanding is strictly prohibited.
- Do not put electrical appliances (e.g. ice cream makers) in the appliance unless they are stated applicable by the manufacturer.
- If damage occurs to the refrigerant circuit, make sure that there are no flames and sources of ignition in the room. Ventilate the room.
- Do not let hot items to touch the plastic parts of the appliance.
- Do not store flammable gas and liquid in the appliance.
- Do not put flammable products or items that are wet with flammable products in, near or on the appliance.
- Do not touch the compressor or the condenser. They are hot.
2.4 Internal lighting
WARNING!
Risk of electric shock.
- This product contains a light source of energy efficiency class F.
- Concerning the lamp(s) inside this product and spare part lamps sold separately: These lamps are intended to withstand extreme physical conditions in household ppliances, such as temperature, vibration, humidity, or are intended to signal information about the operational status of the appliance. They are not intended to be used in other applications and are not suitable for household room illumination.
2.5 Care and cleaning
WARNING!
Risk of injury or damage to the appliance.
- Before maintenance, deactivate the appliance and disconnect the mains plug from the mains socket.
- This appliance contains hydrocarbons in the cooling unit. Only a qualified person must do the maintenance and the recharging of the unit.
- Regularly examine the drain of the appliance and if necessary, clean it. If the drain is blocked, defrosted water collects in the bottom of the appliance.
2.6 Service
- To repair the appliance contact the Authorised Service Centre. Use original spare parts only.
- Please note that self-repair or nonprofessional repair can have safety consequences and might void the guarantee.
INSTALLATION
WARNING!
Refer to Safety chapters.
WARNING!
Refer to installation instruction document to install your appliance.
- The following spare parts will be available for 7 years after the model has been discontinued: thermostats, temperature sensors, printed circuit boards, light sources, door handles, door hinges, trays and baskets. Please note that some of these spare parts are only available to professional repairers, and that not all spare parts are relevant for all
models. - Door gaskets will be available for 10 years after the model has been discontinued.
2.7 Disposal
WARNING!
Risk of injury or suffocation.
- Disconnect the appliance from the mains supply.
- Cut off the mains cable and discard it.
- Remove the door to prevent children and pets to be closed inside of the appliance.
- The refrigerant circuit and the insulation materials of this appliance are ozone-friendly.
- The insulation foam contains flammable gas. Contact your municipal authority for information on how to discard the appliance correctly.
- Do not cause damage to the part of the cooling unit that is near the heat exchanger.
WARNING!
Fix the appliance in accordance with installation instruction document to avoid a risk of instability of the appliance.
3.1 Dimensions
Overall dimensions ¹
| H1 | mm | 1769 |
| W1 | mm | 556 |
| D1 | mm | 549 |
¹ the height, width and depth of the appliance without the handle
Space required in use ²
| H2 (A+B) | mm | 1816 |
| W2 | mm | 560 |
Space required in use ²
| D2 | mm | 552 |
| A | mm | 1780 |
| B | mm | 36 |
² the height, width and depth of the appliance including the handle, plus the space necessary for free circulation of the cooling air
Overall space required in use ³
| H3 (A+B) | mm | 1816 |
Overall space required in use ³
| W3 | mm | 780 |
| D3 | mm | 1085 |
³ the height, width and depth of the appliance including the handle, plus the space necessary for free circulation of the cooling air, plus the space necessary to allow door opening to the minimum angle permitting removal of all internal equipment
3.2 Location
To ensure appliance’s best functionality, you should not install the appliance in the nearby of the heat source (oven, stoves, radiators, cookers or hobs) or in a place with direct sunlight. Make sure that air can circulate freely around the back of the cabinet.
This appliance should be installed in a dry, well ventilated indoor position.
This appliance is intended to be used at ambient temperature ranging from 10°C to 38°C.
The correct operation of the appliance can only be guaranteed within the specified temperature range.
If you have any doubts regarding where to install the appliance, please turn to the vendor, to our customer service or to the nearest Authorised Service Centre.
It must be possible to disconnect the appliance from the mains power supply. The plug must therefore be easily accessible after installation.
3.3 Electrical Connection
CAUTION!
Any electrical work required to install this appliance should be carried out by a qualified electrician or competent person.
WARNING!
This appliance must be earthed.
The manufacturer declines any liability should these safety measures not be observed.
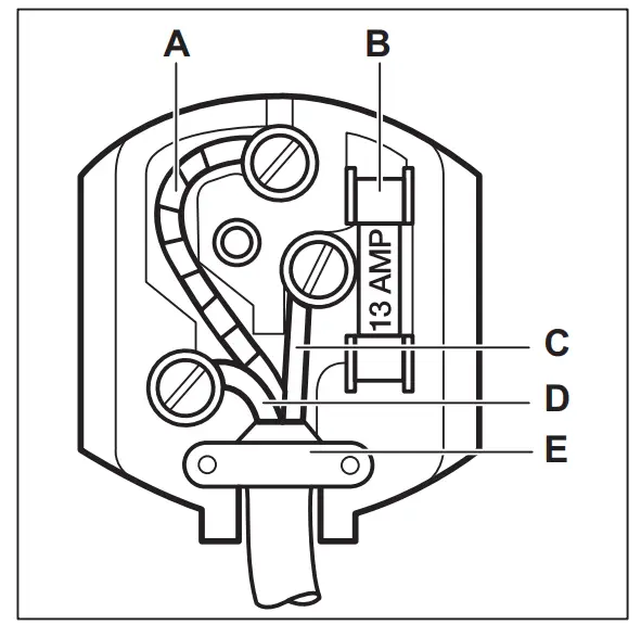
The wires in the mains lead are coloured in accordance with the following code:
- A – green and yellow: Earth
- C – brown: Live
- D – blue: Neutral
As the colours of the wires in the mains lead of this appliance may not orrespond with the coloured markings identifying the terminals in your plug, proceed as follows:
- Connect the wire coloured green and yellow to the terminal marked either with the letter “E“ or by the earth symbol
or coloured green and yellow. - Connect the wire coloured blue to the terminal either marked with the letter “N“ or coloured black.
- Connect the wire coloured brown to the terminal either marked with the “L“ or coloured red.
- Check that no cut, or stray strands of wire is present and the cord clamp (E) is secure over the outer sheath. Make sure the electricity supply voltage is the same as that indicated on the appliance rating plate.
- Switch on the appliance. The appliance is supplied with a 13 amp fuse (B). In the event of having to change the fuse in the plug supplied, a 13 amp ASTA approved (BS 1362) fuse must be used.
WARNING!
A cut off plug inserted into a 13 amp socket is a serious safety (shock) hazard. Ensure that it is disposed of safely.
3.4 Ventilation requirements
The airflow behind the appliance must be sufficient.
CAUTION!
Refer to the installation instructions for the installation.
3.5 Door reversibility
Please refer to the separate document with instructions on installation and door reversal.
CAUTION!
At every stage of reversing the door protect the floor from scratching with a durable material.
CONTROL PANEL
| 1 Display | 4 OK |
| 2 Temperature warmer button | 5 Mode |
| 3 Temperature colder button | 6 ON/OFF |
It is possible to change predefined sound of buttons by pressing together Mode
4.1 Display
4.2 Switching on
- Connect the mains plug to the power socket.
- Press the appliance ON/OFF if the display is off. The temperature indicators show the set default temperature.
To select a different set temperature refer to “Temperature regulation”. If “dEMo” appears on the display, refer to “Troubleshooting” .
4.3 Switching off
- Press the appliance ON/OFF for 3 seconds.
The display switches off. - Disconnect the mains plug from the power socket.
4.4 Temperature regulation
Set the temperature of the appliance by pressing the temperature regulators. Recommended set temperature is:
- +4°C for the fridge
The temperature range may vary between 2°C and 8°C for fridge. The temperature indicators show the set temperature.
The set temperature will be reached within 24 hours. After a power failure the set temperature remains stored.
4.5 Coolmatic function
If you need to insert in the fridge compartment a large amount of warm food, for example after doing the grocery and temperature colder button for a few seconds. Change is reversible.
A. Timer indicator
B. Coolmatic function
C. LongFresh function
D. Temperature indicator
E. Alarm indicator
F. ChildLock function
G. DrinksChill function
shopping, we suggest activating the Coolmatic function to chill the products more rapidly and to avoid warming the other food which is already in the refrigerator.
- Press the Mode until the corresponding icon appears. The Coolmatic indicator flashes.
- Press the OK to confirm. The Coolmatic indicator is shown. This function stops automatically after approximately 6 hours.
You can deactivate the Coolmatic function before its automatic end by repeating the procedure or by selecting a different fridge set temperature.
4.6 LongFresh compartment setting
The storage temperature and the relative humidity in LongFresh compartment provide optimal conditions for the storage of various kinds of fresh food (like fish, meat, seafood, etc.) as it preserves its high nutritional values, as well as high humidity level much longer than regular refrigerator.
- Press Mode until the corresponding icon appears.
The display shows 3. This is the default setting that ensures the most effective performance.
The possible settings can vary from 1 (the coldest) to 5 (the warmest). Settings from 1 to 3 are suitable for fish and meat.
Settings 4 and 5 are suitable for vegetables and fruits. In these settings the compartment works similarly to the fridge compartment. - Press the temperature buttons on the control panel to select the required setting.
- Press OK to confirm the setting. The indicator returns to the fridge temperature setting in a few seconds.
4.7 ChildLock function
Activate the ChildLock function to lock the buttons from unintentional operation.
- Press Mode until the corresponding icon appears. The ChildLock indicator flashes.
- Press OK to confirm.
The ChildLock indicator is shown.
To deactivate the ChildLock function, repeat the procedure until the ChildLock indicator goes off.
4.8 DrinksChill function
The DrinksChill function is to be used to set an acoustic alarm at the preferred time, useful for example when a recipe requires to cool down food products for a certain period of time.
- Press Mode until the corresponding icon appears.
The DrinksChill indicator flashes.
The Timer shows the set value (30 minutes) for a few seconds. - Press the Timer regulator to change the Timer set value from 1 to 90 minutes.
DAILY USE
CAUTION!
This refrigerating appliance is not suitable for freezing foodstuffs.
5.1 Positioning the door shelves
To permit storage of food packages of various sizes, the door shelves can be placed at different heights.
- Gradually pull the shelf up until it comes free.
- Reposition as required.
- Press OK to confirm. The DrinksChill indicator is shown. The Timer starts to flash (min). At the end of the countdown the “0 min” indicator flashes and an audible alarm sounds. Press OK to switch off the sound and terminate the function. To switch off the function repeat the procedure until the DrinksChill goes off.
It is possible to change the time at any time during the countdown and at the end by pressing the Temperature colder button and the Temperature warmer button.
4.9 Door open alarm
If the fridge door is left open for approximately 5 minutes, the sound is on and alarm indicator flashes.
The alarm stops after closing the door. During the alarm, the sound can be muted by pressing any button.
If you do not press any button, the sound switches off automatically after around one hour to avoid disturbing.
This model is equipped with a variable storage box which can be moved sideways.
5.2 Movable shelves
The walls of the refrigerator are equipped with a series of runners so that the shelves can be positioned as desired.
This appliance is also equipped with a shelf consisting of two parts. The front half of the shelf can be placed under the second half to make better use of space.
To fold the shelf:
- Take out the front half gently.
- Slide it into the lower rail and under the second half.

Do not move the glass shelf above the vegetable drawer to ensure correct air circulation.
5.3 LongFresh compartment
The storage temperature and the relative humidity in this compartment provide optimal conditions for the storage of various kinds of food.
To learn about the temperature settings in the LongFresh compartment please refer to the “LongFresh compartment setting” section.
LongFresh compartment is suitable for the storage of a variety of fresh food (like fish, meat, seafood, etc.) as it preserves its high nutritional values as well as high humidity level much longer in comparison to the regular refrigerator.
5.4 Humidity control
The LongFresh compartment has stops that prevent the drawers from falling out when fully extended. To remove the drawer:
- Pull the drawer to the maximum.
- Lift and pull out the drawer.
The drawers marked with water drop symbols:
and can be used according to the desired storage conditions independently of each other with lower or higher humidity.
Regulation for each drawer is separate and is controlled using the slide valve at the front of the drawer.
- “Dry”: low relative humidity. This humidity level is reached when both sliders are set into this position
and the ventilation openings are wide open. - “Humid”: high relative humidity.
This humidity level is reached when both sliders are set in this position and
the ventilation openings are closed. Humidity is kept and can not escape.
5.5 DYNAMICAIR
The refrigerator compartment is equipped with a device that allows rapid cooling of foods and keeps more uniform temperature in the compartment.
This device activates automatically when needed.
HINTS AND TIPS
6.1 Hints for energy saving
- Most efficient use of energy is ensured in the configuration with the drawers in the bottom part of the appliance and shelves evenly distributed. Position of the door bins does not affect energy consumption.
- Do not open the door frequently or leave it open longer than necessary.
- Do not set too high temperature to save energy unless it is required by the characteristics of the food.
- Ensure a good ventilation. Do not cover the ventilation grilles or holes.
- Make sure that food products inside the appliance allow air circulation through dedicated holes in the rear interior of the appliance.
6.2 Hints for fresh food refrigeration
- Good temperature setting that ensures preservation of fresh food is a temperature less than or equal to +4°C.
Higher temperature setting inside the appliance may lead to shorter shelf life of food. - Cover the food with packaging to preserve its freshness and aroma.
- Always use closed containers for liquids and for food, to avoid flavours or odours in the compartment.
- To avoid the cross-contamination between cooked and raw food, cover

The fan operates only when the door is closed. the cooked food and separate it from the raw one.
- It is recommended to defrost the food inside the fridge.
- Do not insert hot food inside the appliance. Make sure it has cooled down at room temperature before inserting it.
- To prevent food waste the new stock of food should always be placed behind the old one.
6.3 Hints for food refrigeration
- Fresh food compartment is the one marked (on the rating plate) with
. - Meat (all types): wrap in a suitable packaging and place it on the glass shelf above the vegetable drawer. Store meat for at most 1-2 days.
- Fruit and vegetables: clean thoroughly (eliminate the soil) and place in a special drawer (vegetable drawer).
- It is advisable not to keep the exotic fruits like bananas, mangos, papayas etc. in the refrigerator.
- Vegetables like tomatoes, potatoes, onions, and garlic should not be kept in the refrigerator.
- Butter and cheese: place in an airtight container or wrap in an aluminium foil or a polythene bag to exclude as much air as possible.
- Bottles: close them with a cap and place them on the door bottle shelf, or (if available) on the bottle rack.
- Always refer to the expiry date of the products to know how long to keep them.
6.4 Hints for fresh food storage in LongFresh compartment
The LongFresh compartment is the one marked with
and
.
| Type of food | Air humidity adjustment | Storage time |
| Butter | up to 1 month | |
| Beef. venison, small meatcuts, poultry | up to 7 days | |
| Tomato sauce | up to 4 days | |
| Fish. shellfish, cooked meatproducts | up to 3 days | |
| Cooked seafood | up to 2 days | |
| Salad, vegetables Carrots, herbs. brussels sprouts, celery | up to 1 month | |
| Artichokes, cauliflower. chicory, iceberg lettuce, endive, lamb’s lettuce. lettuce, leeks, radicchio | up to 21 days | |
| Broccoli. Chinese leaves. kale, cabbage. radishes. Savoy cabbage | up to 14 days | |
| Peas. kohlrabi | up to 10 days | |
| Spring onions. radishes. as- paragus. spinach | up to 7 days | |
| Fruit Pears. dates (fresh), strawberries, peaches | up to 1 month | |
| Plums rhubarb. gooseberries | up to 21 days | |
| Apples (not sensitive to cold). quinces | up to 20 days | |
| Apricots. cherries | up to 14 days | |
| Damsons. grapes | up to 10 days | |
| Blackberries. currants | up to 8 days |
| Type of food | Air humidity adjustment | Storage time |
| Figs (fresh) | up to 7 days | |
| Blueberries, raspberries | up to 5 days |
Cakes containing cream and other kinds of pastry products can be stored in the LongFresh compartment for 2 or 3 days.
Not to be placed in the LongFresh compartment:
- Cold sensitive fruit which have to be stored at cellar or room temperature like pineapple, bananas, grapefruit, melons, mango, papaya, oranges, lemons, kiwi fruit.
- Vegetables which have to be stored at room temperature like tomatoes, potatoes, onions, and garlic.
- The types of food not mentioned above should be stored in the refrigerator compartment (e.g. all sorts of cheese, cold cuts, etc.).
The level of air humidity in the drawers depends on the content of humidity in the stored food, vegetable and fruit and on the frequency of door opening.
The LongFresh compartment is also suitable for slow thawing of food. In this case the thawed food can be stored in the LongFresh compartment for up to two days.
- Pay attention to the freshness of the food, especially on the expiry date. Quality and freshness influence the storage time.
- The whole storage cycle time will depend on the preservation conditions made prior to the final storage in the fridge.
- Any type of food, fruit, vegetable or animal food shall always be packed or wrapped up before storage.
- Food rich in proteins will go bad quicker. This means seafood will spoil before fish which in turn will spoil before meat. While storing food in a LongFresh compartment storage time for that kind of food can be increased by up to three times as well without loss on quality.
- All food stored in a LongFresh compartment should be taken out of the drawers roughly 15 – 30 min before consumption, particularly fruit and vegetables to be consumed without any additional cooking process. Allowing fruit and vegetables to return to room temperature will improve the texture and flavour.
CARE AND CLEANING
WARNING!
Refer to Safety chapters.
7.1 Cleaning the interior
Before using the appliance for the first time, the interior and all internal accessories should be washed with lukewarm water and some neutral soap to remove the typical smell of a brandnew product, then dried thoroughly.
CAUTION!
Do not use detergents, abrasive powders, chlorine or oil-based cleaners as they will damage the finish.
CAUTION!
The accessories and parts of the appliance are not suitable for washing in a dishwasher.
7.2 Periodic cleaning
The equipment has to be cleaned regularly:
- Clean the inside and accessories with lukewarm water and some neutral soap.
- Regularly check the door seals and wipe them clean to ensure they are clean and free from debris.
- Rinse and dry thoroughly.
7.3 Defrosting of the refrigerator
Defrosting of the fridge compartment is automatic. The water that condenses flows into a recipient on the compressor and evaporates. The recipient cannot be removed.
7.4 Period of non-operation
When the appliance is not in use for long period, take the following precautions:
- Disconnect the appliance from electricity supply.
- Remove all food.
- Clean the appliance and all accessories.
- Leave the door open to prevent unpleasant smells.
TROUBLESHOOTING
WARNING!
Refer to Safety chapters.
8.1 What to do if…
| Problem | Possible cause | Solution |
| The appliance does not op- erate. | The appliance is switched off. | Switch on the appliance. |
| The mains plug is not con- nected to the mains socket correctly. | Connect the mains plug to the mains socket correctly. | |
| There is no voltage in the mains socket. | Connect a different electrical appliance to the mains socket. Contact a qualified electrician. | |
| The appliance is noisy. | The appliance is not suppor- ted properly. | Check if the appliance stands stable. |
| Acoustic or visual alarm is on. | The cabinet has been re- cently switched on. | Refer to “Door Open Alarm” or “High Temperature Alarm”. |
| The temperature in the appli- ance is too high. | Refer to “Door Open Alarm” or “High Temperature Alarm”. | |
| The door is left open. | Close the door. | |
| The compressor operates continually. | Temperature is set incorrect- ly. | Refer to “Control Panel” chapter. |
| Problem | Possible cause | Solution |
| Many food products were put in at the same time. | Wait a few hours and then check the temperature again. | |
| The room temperature is too high. | Refer to “Installation” chap-ter. | |
| Food products placed in the appliance were too warm. | Allow food products to cool to room temperature before storing. | |
| The door is not closed cor- rectly. | Refer to “Closing the door” section. | |
| The Coolmatic function is switched on. | Refer to “Coolmatic function” section. | |
| The compressor does not start immediately after pressing the “Coolmatic”. or after changing the temperature. | The compressor starts after a period of time. | This is normal, no error has occurred. |
| Door is misaligned or inter- feres with ventilation grill. | The appliance is not level- led. | Refer to installation instruclions. |
| Door does not open easily. | You attempted to re-open the door immediately after closing. | Wait a few seconds between closing and re-opening of the door. |
| The lamp does not work. | The lamp is in stand-by mode. | Close and open the door. |
| The lamp is defective. | Contact the nearest Authorized Service Centre. | |
| There is too much frost and ice. | The door is not closed cor- rectly. | Refer to “Closing the door” section. |
| The gasket is deformed or dirty. | Refer to “Closing the door” section. | |
| Food products are not wrap- ped properly. | Wrap the food products better. | |
| Temperature is set incorrect- ly. | Refer to “Control Panel” chapter. | |
| Appliance is fully loaded and is set to the lowest tempera- Lure. | Set a higher temperature. Refer to “Control Panel” chapter. |
| Problem | Possible cause | Solution |
| Temperature set in the appli- ante is too low and the am- bient temperature is too high. | Set a higher temperature. Refer to “Control Panel” chapter. | |
| Water flows on the rear plate of the refrigerator. | During the automatic de- frosting process. frost melts on the rear plate. | This is correct. |
| There is too much con- densed water on the rear wall of the refrigerator. | Door was opened too fre- quently. | Open the door only when necessary. |
| Door was not closed com- pletely. | Make sure the door is closed completely. | |
| Stored food was not wrap- ped. | Wrap food in suitable packaging before storing it in the appliance. | |
| Water flows on the floor. | The melting water outlet is not connected to the evapo- rative tray above the compressor. | Attach the melting water out-let to the evaporative tray. |
| Temperature cannot be set. | The “Coolmatic function” is switched on. | Switch off “Coolmatic function” manually, or wait until the function deactivates automatically to set the temperature. Refer to “Coolmatic function” section. |
| The temperature in the appli- once is too lowitoo high. | The temperature is not set correctly. | Set a higher/lower tempera-ture. |
| The door is not closed cor- rectly. | Refer to “Closing the door” section. | |
| The food products’ tempera- ture is too high. | Let the food products ternperature decrease to room temperature before storage. | |
| Many food products are stor- ed at the same time. | Store less food products at the same time. | |
| The door has been opened often. | Open the door only if necessary. | |
| The Coolmatic function is switched on. | Refer to “Coolmatic function” section. |
| Problem | Possible cause | Solution |
| There is no cold air circula- tion in the appliance. | Make sure that there is cold air circulation in the appliance. Refer to “Hints and Tips” chapter. | |
| Some specific surfaces in- side the fridge compartment are warmer at some times. | This is a normal state. | |
| DEMO appears on the dis- play. | The appliance is in demon- stration mode. | Keep the OK key pressed for approximately 10 seconds until a long sound is heard and the display turns off for a short time. |
| A 0 or 0 _ symbol is shown instead of numbers on the temperature display. | Temperature sensor prob- lem. | Contact the nearest Author-ized Service Centre (the cooling system will continue to keep food products cold, but temperature adjustment will not be possible). |
If the advice does not lead to the desired result, call the nearest Authorized Service Centre.
8.2 Replacing the lamp
The appliance is equipped with a longlife LED interior light.
Only service is allowed to replace the lighting device. Contact your Authorised Service Centre.
8.3 Closing the door
- Clean the door gaskets.
- If necessary, adjust the door. Refer to installation instructions.
- If necessary, replace the defective door gaskets. Contact the Authorised Service Centre.
NOISES
TECHNICAL DATA
The technical information is situated in the rating plate on the internal side of the appliance and on the energy label.
The QR code on the energy label supplied with the appliance provides a web link to the information related to the performance of the appliance. Keep the energy label for reference together with the user manual and all other documents provided with this appliance.
INFORMATION FOR TEST INSTITUTES
Installation and preparation of the appliance for any EcoDesign verification shall be compliant with BS EN 62552. Ventilation requirements, recess dimensions and minimum rear clearances shall be as stated in this User Manual at Chapter 3. Please contact the manufacturer for any other further information, including loading plans.
ENVIRONMENTAL CONCERNS
Recycle materials with the symbol
Put the packaging in relevant containers to recycle it. Help protect the environment and human health by recycling waste of electrical and electronic appliances. Do not dispose of appliances marked with the symbol
with the household waste. Return the product to your local recycling facility or contact your municipal office.
www.aeg.com/shop
222379669-B-492021
TECHNICAL DATA












