KOBA Vision ZoomCam Portable Camera Solution User Manual

[email protected]
www.kobavision.be
This manual describes the KOBA Vision ZoomCam. The latest versions of the manual can be downloaded from the KOBA Vision website: www.kobavision.be.
Chapter 1: Safety and maintenance instructions
![]()
SAFETY INSTRUCTIONS
- The power supply must only be replaced by the same type (5V, max. 3A, Medical Grade AC/DC Adapter (EN60601-1)) after switching off the device and removing the adapter from the grid.
- The connections have been designed to only connect in 1 way. Never force a connection. Install the power supply of the device in a well ventilated area.
- Never attempt to repair the device by yourself. It is dangerous to remove protective covers which are there to prevent electric shock. You must contact KOBA Vision or your dealer in case of defects.
- To avoid electrocution, do not place the device in a spot where it can come into contact with liquids.
- Consult the user manual of the screen or other connected external devices for specific safety instructions related to this device.
- Save this manual carefully. It contains all necessary information about your device.
- Keep the device in a dry, well-ventilated and clean place. Do not expose the device to direct sunlight or a heat source.
- Never use this device in ambient temperatures higher than 35°C.
- This device is designed as aid to magnify documents. Any change of purpose voids the CE-marking.
- Your product is designed and manufactured with high quality materials and components, which can be recycled and reused. Do not dispose of your old product in your general household waste bin. Dispose of the complete product (including its cables, plugs and accessories) in the designated collection facilities.
![]()
MAINTENANCE INSTRUCTIONS
- Disconnect all the cables from the device before cleaning.
- Occasionally clean the device and the lens using a damp cloth intended for cleaning computers and screens.
- Do not allow any fluids to enter the device.
- Treat your device with care and you will enjoy it for years to come.
CE
This device bears the CE approval mark. ![]()
FCC
This device bears the FCC approval mark. ![]()
This equipment has been tested and found to comply with the limits for a Class B digital device, pursuant to part 15 of the FCC Rules. These limits are designed to provide reasonable protection against harmful interference in a residential installation. This equipment generates, uses and can radiate radio frequency energy and, if not installed and used in accordance with the instructions, may cause harmful interference to radio communications. However, there is no guarantee that interference will not occur in a particular installation. If this equipment does cause harmful interference to radio or television reception, which can be determined by turning the equipment off and on, the user is encouraged to try to correct the interference by one or more of the following measures:
- Reorient or relocate the receiving antenna.
- Increase the separation between the equipment and receiver.
- Connect the equipment into an outlet on a circuit different from that to which the receiver is connected.
- Consult the dealer or an experienced radio/TV technician for help.
This device complies with part 15 of the FCC Rules. Operation is subject to the following two conditions:
- This device may not cause harmful interference, and
- this device must accept any interference received, including interference that may cause undesired operation.
Chapter 2 : Installation
CONTENT
The ZoomCam is supplied with the following content:
- ZoomCam camera
- USB-C – USB-C 3 cable (1 meter)
- USB-C – USB-A 3 cable (1 meter)
- HDMI cable (2 meter)
- USB-C power supply
- Remote control
- 2x AAA batteries
- Protection bag
- Reading tablet
- User Manual
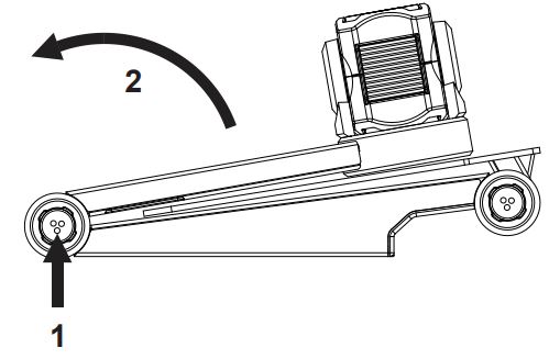
SETTING UP

- Press the large round button in the hinge between the 2 arms of the ZoomCam. The button has 3 tactile dots.
- Keep pressing the button while unfolding the arm until the button pops out automatically.

- Press the large round button in the hinge between the arm and the foot. The button has 3 tactile dots.
- Keep pressing the button while unfolding the arm until the button pops out automatically.

- Turn the ZoomCam and set it on his footplate.
- Ready
POSITION OF THE CAMERA
The ZoomCam can be used in multiple ways because the camera head can turn in any direction.
- Behind (recommended)

The arm of the camera is placed at the back. Rotate the camera around its axis to straighten the image. A3 sheets can moved freely under the camera. - Left or right

The base of the camera is placed on the left or the right. Rotate the camera around its axis to straighten the image. A4 sheets can moved freely under the camera. - Other positions
Rotate the camera around its axis to adjust the image straight.
CONNECTIONS

- HDMI
The HDMI connection transfers the image from the ZoomCam to a screen. This can be a television screen as well as a monitor. - USB-C 3 port – POWER
This USB connection can provide additional power.
This USB connection is used if the other USB connection does not provide sufficient power or to connect an external battery or power supply. - USB-C 3 port – PC
The USB connection transfers the image to a computer or tablet. The connection also provides power to the device. This USB connection is the main connection.
READING TABLET
The reading tablet is intended to move documents smoother over the foot of the ZoomCam. With the reading tablet documents can be read more comfortably.
Position the bottom groove of the reading tablet over the foot of the ZoomCam. Now you will have a smooth surface above the foot of the ZoomCam to move documents.
POWER SUPPLY
The ZoomCam operates on external power. Power will be supplied to the USB ports. Connect the USB cable or USB power supply. The LED lights on the front an back inform details about the power source.
- 3x green: Enough power. ZoomCam is powered via USB-C or via 2 USB-A cables. The ZoomCam will turn on without having trouble with power.
- 3x yellow: Not sure of sufficient power. ZoomCam is powered via a non USB-C supply. ZoomCam could have a problem.
- 6x red: The ZoomCam can’t turn on, because of too less power. Connect a second power source via USB.
CONNECT THE ZOOMCAM TO A SCREEN
Connect the ZoomCam via HDMI. Power the device with the supplied USB-C adapter or by connecting the ZoomCam to a USB port on the screen that provides sufficient power. Use:
- HDMI cable to HDMI connection
- USB-C power supply or USB-C – USB-A cable for connection to the screen → connect 1 of the 2 USB connections
CONNECT THE ZOOMCAM TO A COMPUTER OR TABLET
Use the USB-C (PC) connection to connect the ZoomCam on a computer, tablet or smartphone. If the device does not have enough power, use the second USB (PWR) connection. Use:
- USB-C cable → connect it to the outer USB-C connector (PC) – 3
- If the ZoomCam does not have enough power or if you want to connect an external battery, use a second USB cable → connect it to the middle USB-C connection (PWR) – 2
USB 3, type USB-C
The ZoomCam works optimally with a USB 3, type USB-C.
USB 3, type USB-A
It is also possible to use a USB 3, type USB-A. This port may not provide enough power. If the ZoomCam is not receiving enough power, the LED flashes 6 times red at the next start-up. In this case, connect the ZoomCam with a USB-C cable, connect the power supply or connect a second USB cable to the computer or tablet.
USB 2, type USB-A
It is also possible to use a USB 2, type USB-A. This port does not provide enough power. If the ZoomCam is not receiving enough power, the LED flashes 6 times red at the next start-up. In this case, connect the power supply or connect a second USB cable to the computer or tablet.
Chapter 3: Operation
REMOTE CONTROL
The ZoomCam is operated with a remote control. The remote control has 2 AAA batteries. On the back of the remote control there is a cover that you can slide down to replace the batteries.
The receiver is located between the lights in the horizontal arm of the ZoomCam.
The LEDs on the front and back of the ZoomCam flashes when a button is pressed on the remote control.

ICONS
The functions of the ZoomCam are shown with icons on the screen. For some functions, you will see a red progress indicator to the left of the icon to indicate how the function is set or how it is changing.
![]()
SWITCHING ON / OFF
In combination with a screen or monitor
Switching on with button 1. Most screens are switched on automatically by the ZoomCam. If this does not happen, switch on the screen and choose the correct source (see screen manual).
The ZoomCam is turned off by pressing button 1 long.
In combination with a computer or tablet (streaming)
The ZoomCam is automatically switched on by the viewer.
The ZoomCam switches off by stopping the stream, by closing the application or by selecting another camera. ZoomCam switches off with a delay of 30 seconds by default. During these 30 seconds, the image is immediately available when the stream is started again.
POSITION OF THE CAMERA
The camera has a 2-dimensional head that can be adjusted manually.
Rotate

By rotating the camera you can rotate the image and adjust it correctly so that the text is right on the screen.
Tilt (switch between reading and distance view)

By tilting the camera up and down you choose to read under the camera or to use it for distance view.
POSITION SENSOR
The ZoomCam has a sensor that detects the position of the camera. The ZoomCam knows whether the camera is viewing the distance or is used for reading. The pre-sets between the 2 modes are stored according to the sensor. The ZoomCam remembers the settings for:
- Magnification
- Coulor
- Brightness
- Background
- Lighting
- Reading line
Chapter 3: Using ZoomCam on a screen
To use the ZoomCam with a screen, connect the ZoomCam to the screen with an HDMI cable. The ZoomCam is compatible with a digital display that has a HDMI, DVI or DisplayPort connection. A HDMIHDMI cable is supplied with the ZoomCam. For a screen with a different connection you need a different cable (not included).
Connect the HDMI cable. Also connect a power supply. You can connect the supplied USB-C adapter to the wall socket or you can use the USB-C – USB-A cable to power the ZoomCam through the screen. Note: not every screen has a USB port with power or sufficient power.
To display the image on the screen, select the correct source on the screen.
Chapter 4: Using ZoomCam on a computer or tablet
To use the ZoomCam with a computer or tablet, connect the ZoomCam via a USB cable. We recommend using a USB 3, USB-C port. If this is not available, you can also use a regular USB 3 (recommended for better performance) or USB 2, USB-A port. With a USB-A port it may be that there is insufficient power. In this case, connect a second USB cable, the power supply or an external battery.
By connecting the device, the ZoomCam is automatically configured on the operating system.
IMAGE SPEED AND RESOLUTION
The ZoomCam has a resolution of 1920 x 1080 and a frame rate of 60 frames per second. You can achieve this speed with a USB 3 connection.
The ZoomCam automatically reduces its frame rate when the connection is not optimal. As a solution, you can:
- Decrease the resolution in the viewer. The frame rate will be increased automatically.
- Use a USB 3 cable.
- Use a computer / tablet with a USB 3 port.
- Use a high-performance computer.
- Use a high-performance program to display the images
WINDOWS (LAPTOP, TABLET, DESK COMPUTER)
The ZoomCam works best in combination with a Windows computer or tablet equipped with an USB 3 port, preferably USB-C. ZoomCam was successfully tested on several devices, but there is no guarantee that the ZoomCam will function on all devices.
Under Windows, the ZoomCam shows images in various programs.
SuperNova (full screen and split screen)
You can switch on or off “Connect and View”
using the “Visual” options in the SuperNova control panel.
Hot key: ALT + NUMPAD ENTER (computer) or LEFT SHIFT + CAPS LOCK + 0 (laptop).
When you turn on “Connect and View” a portion of the screen begins to show the image from the camera or whiteboard. This area is called the Viewer. You can change the position of the Viewer on the screen and you can use the Viewer Toolbar to adjust the size, color and contrast of the image to make it easier to see.
Selecting the camera
In the “Visual” option, open the “Connect and View” submenu and choose “Settings”. The “Connect and View Settings” dialog box opens showing the “Camera” settings.

- Select the ZoomCam from the “Devices” list.
- Check Use Camera Optical Zoom. This means that SuperNova can control the magnification of the camera, which improves image quality.
- Check Use camera coulor change. This means that SuperNova can control the coulors of the camera, which improves image quality.
- TIP: Under the Settings button you can set the resolution. We recommend selecting 1920 x 1080, 60 fps. If the picture is slow, you can lower the resolution.
- Choose OK button.
Adjusting the viewer position and size
By default, the Viewer appears on the top half of the screen. You can change the position and size of the Viewer through the “Connect and View” settings in the SuperNova Control Panel. You can dock the viewer to the top, bottom, left or right side of the screen and the Viewer can be set to fill 80%, 50% or 20% of the screen area.
You can also set the Viewer to “Full Screen”. While in Full Screen Mode, you can continue to use CAPS LOCK + MIDDLE MOUSE BUTTON to switch between the Viewer and the desktop.
Switching between the Viewer and the desktop
To access the Viewer toolbar and to make adjustments to the image requires you to place the focus in the Viewer area.
You can switch between the Viewer and the desktop by pressing CAPS LOCK + MIDDLE MOUSE BUTTON. If you have both an active camera and whiteboard connection then pressing CAPS LOCK + MIDDLE MOUSE BUTTON cycles you between camera, whiteboard and desktop.
Magnification

Changing the colours of the image

Locking the image

Capture image

Reading aloud

Other functions
We recommend not to use them.
- Rotate: Rotate the camera head of the ZoomCam to rotate the image.
- Focus: Do not adjust this. The ZoomCam has an automatic focus.
ZoomText (full screen and split screen)
To start the camera click the Camera button on the Tools toolbar tab, or use hot key: CAPS LOCK + CTRL + C.
Tip: When using the camera hot key with default ZoomText settings, the layered keys banner is shown on top of the camera image. Disable the banner via ZoomText – Command Keys – Button Banner Settings – Uncheck Display the layered keys banner.

If the Camera toolbar is not in view, press CAPS LOCK + CTRL + C to engage the camera layered key command mode and then press T to bring the toolbar into view.
Selecting the camera

On the Tools toolbar tab, click the arrow next to Camera or navigate to Camera and press the down arrow key. In the Camera menu, choose Settings.
- In the Active Camera list box, select ZoomCam USB Video stream.
- Disable: Automatically set camera resolution.
- Resolution: 1920 x 1080
- Frame Rate: 60 FPS
- Click OK.
- TIP: Save your settings under ZoomText – Configurations – Save as default. This will save your settings so you don’t have to redo all the settings again.
Adjusting the viewer position and size
In the Camera toolbar you can choose:
- Full screen: the whole screen shows the image of the ZoomCam. To switch between Full and Docked view, press CAPS LOCK + CTRL + C to activate layered keys mode, then press Tab to switch between Docked / Full View.
- Docked view (split screen): the image of the ZoomCam is displayed on 50% of the screen. You choose where you want the image to be displayed. You can choose from: top, right, bottom, left. Hotkey: CAPS LOCK + LEFT / RIGHT ARROW
Magnification
Use the buttons on the ZoomCam remote control to do this. The buttons in the ZoomText Camera Toolbar also work, but they zoom in and out in large steps.
Other functions
We recommend not to use them.
- Rotate: Rotate the camera head of the ZoomCam to rotate the image.
- Colour: Set this function to normal. Use the ZoomCam remote to adjust the colors.
- Brightness: Do not adjust this. Use the ZoomCam remote control to adjust the brightness.
- Focus: Do not adjust this. The ZoomCam has an automatic focus.
Windows Camera

TIP: In Windows Camera, you have the possibility to take a screen shot or to record a video. For the video, Windows Camera uses the microphone of your computer or tablet.
MAC OS (LAPTOP, PERSONAL COMPUTER)
The ZoomCam works best in combination with a Mac computer equipped with an USB 3 port, preferably USB-C. ZoomCam was successfully tested on several devices, but there is no guarantee that the ZoomCam will function on all devices.

ANDROID (TABLET, SMARTPHONE)
The ZoomCam works best in combination with an Android tablet or smartphone equipped with an USB 3 port, preferably USB-C. ZoomCam was successfully tested on several devices, but there is no guarantee that the ZoomCam will function on all devices.

CHROME OS (CHROMEBOOK)
The ZoomCam works best in combination with a ChromoBook equipped with an USB 3 port, preferably USB-C.
ZoomCam was successfully tested on several devices, but there is no guarantee that the ZoomCam will function on all devices.

Chapter 6: Usage tips
READING
Reading is best done in positive or negative mode. These modes adapt the image for the visually impaired to a high-contrast image with improved background. Background and letters can be set at your discretion. The background can be set by means of background suppression. This will allow you to filter out the structure of a sheet. This unique KOBA Vision function allows you at all times to set a high contrast background without annoying paper impurities. A newspaper can be read without annoying paper impurities. Factory settings will take you back to the original settings.
WATCH PHOTOS
Photos are best watched in photo mode. This mode is a unprocessed image without contrast enhancement. By changing the brightness, you can adjust the image so that the photo becomes clearly visible. Quality is slightly improved when locking the auto focus.
CRAFTING
Crafting is best done with a small magnification. It is better to select a dark background during this activity so that the camera is not hindered by large differences in contrast with whatever is darkened by the hands.
WRITING
You can also write under the ZoomCam. It is best to use a black pen and lined paper.
Chapter 7: Warranty
WARRANTY
KOBA Vision offers a two-year warranty on every ZoomCam, starting from the delivery date. To be able to benefit from the warranty, you need to keep the box and the packaging material.
Warranty services are provided by KOBA Vision or dealers acting on behalf of KOBA Vision. When the ZoomCam cannot be repaired correctly, KOBA Vision reserves the right to replace the reading device by an equal device. All components and products replaced within the warranty period become property of KOBA Vision.
WARRANTY PROVISIONS
The warranty becomes invalid if the KOBA Vision ZoomCam:
- Was not used according to instructions or was misused;
- Was damaged as a result of a fall or impact;
- Was disassembled or tinkered with;
- Was repaired earlier by a non-official service partner
Consequential loss is under no circumstances covered by the warranty.
KOBA Vision will neither assume any liability whatsoever nor accept any possibility of liability except for the warranty provisions explicitly stated above. This limitation to the liability does not imply a breach of the customer’s legal consumer rights or his or her rights vis-à-vis the vendor.
SERVICE FULFILMENT
Before claiming the warranty or service and before contacting KOBA Vision or a dealer, you must note product name, serial number, purchase date, invoice number and any error messages or particular problem aspects.
SERIOUS INCIDENT REPORTING
In the event of a serious incident taking place during use of this product, affecting the user, it must be reported to the product manufacturer or authorised distributor. Should the incident take place within the European Union (EU), it must also be reported to the local competent authority within the member state.
MANUFACTURER
KOBA Vision bv
De Oude Hoeven 6
3971 Leopoldsburg
Belgium
Tel. +32 11 51 70 80
[email protected]
www.kobavision.be
SWISS AUTORISED REPRESENTATIVE
Accesstech AG
Bürgenstrasse 12
6005 Luzern
Switzerland
Tel: +41 41 227 41 27
[email protected]
www.accesstech.ch
Specifications

Model: ZoomCam 1
Version: ZoomCam 20230217
KOBA Vision bv | De Oude Hoeven 6 | 3971 Leopoldsburg | Belgium
Tel. +32 11 51 70 80 | [email protected] | www.kobavision.be
Company number 0455822497 | VAT BE0455822497 | RPR Antwerp, division Hasselt






















