KRAMER VIA Connect² User Guide
Step 1: Check what’s in the box
- VIA Connect² Collaboration Device
- 1 VESA mounting bracket
- 1 Video toggle cable
- 1 Power supply (12V DC) with adapters for US, UK, and EU
- 1 VESA screw set
- 1 Quick start guide
Step 2: Get to know your VIA Connect²


# | Feature | Function |
1 | Video Toggle Connector | Connect to video toggle cable for toggling between VIA input and HDMI™ input. |
2 | Micro SD Card Slot | Not in use. |
3 | Power Button with LED | Press to power ON or turn OFF the device. |
4 | USB 3.0 Connectors (x2) | Connect to USB devices, for example, a keyboard and a mouse. |
5 | USB 2.0 Connector | Connect to a USB device, for example, a keyboard or mouse. |
6 | Lock Opening | Connect to a security locking cable. |
7 | HDMI™ OUT Connector | Connect to an HDMI sink. |
8 | RJ-45 Connector | Connect to a LAN (default mode). |
9 | HDMI™ IN Connector | Connect to an HDMI source. |
10 | Power Connector | Connect to the 12V DC power supply. |
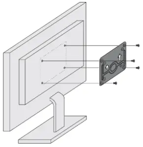
Step 3: Install VIA Connect²
Place VIA Connect² on a flat surface, or mount on a wall or the back of a display using the included VESA mounting bracket:
- Attach the VESA mounting bracket to the back of the display with 4 screws.

- Fasten two screws to the bottom of VIA Connect².

- Insert the screws on the bottom of VIA Connect² into the slots on the mounting bracket.

Step 4: Connect the inputs and outputs
Always switch OFF the power on each device before connecting it to your VIA Connect². For best results, we recommend that you always use Kramer high-performance cables to connect AV equipment to VIA Connect². Using third-party cables may cause damage!
- Connect the keyboard and mouse.
- Connect an HDMI display.
- Connect to the LAN (default mode).
- If required, connect a wired HDMI video source.


If you wish to use a Kramer active optical pluggable HDMI cable with your VIA Connect², contact your local Kramer office to assist in purchasing the correct cable.
Step 5: Connect the power
Connect the 12V DC power adapter to VIA Connect² and plug it into the mains electricity.
Caution: There are no operator serviceable parts inside the unit.
Warning: Use only the Kramer Electronics power adapter that is provided with the unit.
Warning: Disconnect the power and unplug the unit from the wall before installing.
See www.KramerAV.com for updated safety information.
Step 6: Configure VIA Connect²
A wizard guides you through configuration. If you choose to skip the wizard, follow these steps for configuration:
General Settings Configuration
- On the main display, click the VIA icon in the lower left corner. The VIA gateway dashboard appears.
- Click Settings. The settings login window appears.
- Enter the User Name (default = su) and Password (default = supass) and click Login. The VIA Settings window appears.
The VIA Settings tabs are:- LAN Settings – Configure network parameters (default = DHCP)
- System Controls – Define audio input and output sources, change display resolution, view system health indicators, and activate your unit.
- Wi-Fi – Activate and configure the built-in Wi-Fi capability.
- When you have finished configuring settings, click Reboot to apply all settings.

Change to AP Wi-Fi Mode
Set up the built-in Wi-Fi module as a secondary Access Point (for guests).
- On the Wifi tab, click the Wifi Settings switch. The switch turns green and additional Wi-Fi settings appear.
- Click AP Mode, and enter a new name in the SSID field and a new password or use the default name and password.
- Select a Wi-Fi channel for the Access Point.
- Select Enable Internet (if the primary LAN network is connected to the Internet) OR Activate Standalone Wifi (to create an autonomous network without Internet access) and click Apply.
Switch to Client Wi-Fi Mode
Attach your VIA Connect² as a client device to your main network:
- On the Wifi tab, click the Wifi Settings switch. The switch turns green and additional Wi-Fi settings appear.
- Click Client Mode, select an available network from the drop-down.
- Enter the required password and click Apply.
- Disconnect the LAN cable (if connected) before rebooting the device.
Step 7: Connect your personal device to the proper network
Connect your personal device to the same Wi-Fi network to which the VIA Connect² in your meeting room is connected.
Step 8: Run or download the Kramer VIA app
For Mac or PC:
- Enter the Room Name of the VIA Connect² device into your computer’s browser. The Welcome page of VIA Connect² appears.

- Click Run VIA to execute the Kramer VIA app without downloading it. (Intended for guests who are using VIA only temporarily.)
OR
Click Install VIA to download the Kramer VIA app onto your computer. (Intended for regular users of VIA.)
OR
Click Join Through Browser to use an online version of Kramer VIA. (Only when there is internet access.)
For iOS or Android devices:
- Download and install the free Kramer VIA app from Apple App Store or Google Play or scan the QR code above.
Step 9: Join the meeting using Kramer VIA App
- Open the Kramer VIA app and, on the Welcome to VIA window, click Join next to the name of the VIA device to which you want to connect. The Login window appears.
- In the Nickname field, enter a name for your device. This name appears on the main display when you present content.
- In the Room Code field, enter the 4-digit code as it appears on the main display (if enabled).
- Click Join.
You are logged into the VIA meeting.
The VIA Dashboard (and taskbar icon for laptops) appears on your device screen.
- Tap the green button to present your screen to the meeting participants on the main display.
- Tap Show Options > Features to access VIA Connect² features.
- Tap Show Options > Participants to see who else is connected.


Step 11:VIA Connect² Features
For a complete, updated list of available features go to: www.true-collaboration.com/products.html#.
- Wireless Connection

- Powerful Content Security

- Video Streaming

- Mobile Mirroring

- VIA Site Management (VSM)

- Digital Signage

- Calendar Integration

- VIA Pad Compatible

- Integrated YouTube Player

- Do Not Disturb (DND)

- Web Conferencing

- HDMI Input

The terms HDMI, HDMI High-Definition Multimedia Interface, and the HDMI Logo are trademarks or registered trademarks of HDMI Licensing Administrator, Inc.
This guide helps you install and configure your VIA Connect² for the first time. Go to www.kramerav.com/downloads/VIA Connect² to download the latest user manual and check if firmware upgrades are available.
For User
This guide helps you participate in a meeting using VIA Connect². Go to www.kramerav.com/downloads/VIA Connect² to download the latest user manual.











































