
FREESTANDING COOKER
OR90 Induction models
INSTALLATION GUIDE
UK
SAFETY AND WARNINGS
![]() | WARNING! |
| Electrical Shock Hazard Failure to follow this advice may result in electric shock or death. • Before carrying out any work on the electrical section of the appliance, it must be disconnected from the mains electricity supply. • Connection to a good earth wiring system is absolutely essential and mandatory. • Alterations to the domestic wiring system must only be made by a qualified electrician. | |
| Cut Hazard Failure to use caution could result in injury or cuts. • Take care – some edges are sharp. | |
| Tipping Hazard Failure to do so can result in death or serious burns to children or adults. • To reduce the risk of tipping the appliance, the appliance must be secured by a properly installed anti-tip device packed with the appliance. • A child or adult can tip the cooker and be killed. • Install the anti-tip device to the structure by fastening the supplied bracket to the floor and wall following the instructions for installing the anti-tip device. • Engage the anti-tip device. • Re-engage the anti-tip device if the cooker is moved. |
WARNING!
To avoid hazards, follow these instructions carefully before installing or using this appliance.
- Please make this information available to the person installing the appliance — doing so could reduce your installation costs.
- This appliance must be installed and connected to the mains power supply only by a suitably qualified person according to these installation instructions and in compliance with any applicable local building and electricity regulations. Failure to install the appliance correctly could invalidate any warranty or liability claims.
- If the power supply cable is damaged, it must be replaced by the manufacturer, its service agent or a similarly qualified person in order to avoid a hazard.
- Isolating switch: ensure this cooker is connected to a circuit that incorporates an isolating switch providing full disconnection from the power supply in accordance with the wiring rules.
- The cooker must be earthed. z Do not use adaptors, reducers or branching devices to connect the cooker to the mains electricity supply, as they can cause overheating and burning. z Check for damaged after unpacking and that the cooker door closes correctly. z Some appliances are supplied with a protective film on steel and aluminum parts. This film must be removed before using the appliance.
- Packing elements (ie plastic bags, polystyrene foam, nails, packing straps, etc.) should not be left around within easy reach of children, as these may cause serious injuries.
- Ensure you recycle the packaging material where possible.
- The manufacturer accepts no responsibility for the incorrect installation of appliances. Incorrect installation may result in personal injury, and damage to property and may invalidate any warranty or liability claims.
- Do not modify this appliance.
- Before disposing of any appliance, ensure that it can no longer be used and that all hazardous parts are removed or made harmless so that children playing with the old appliance cannot harm themselves.
- The various components of the appliance are recyclable. Dispose of them in accordance with the regulations in force in your country. If the appliance is to be scrapped, remove the power cord.
GENERAL INSTALLATION INFORMATION
Cleaning and servicing
- Service should only be performed by an authorized technician.
- Always disconnect the appliance from the mains power supply before carrying out any maintenance operations or repairs.
- When removing appliance for cleaning and/or service:
- Disconnect the power supply.
- Carefully remove the cooker by pulling it outward.
- The misuse of the oven door (eg stepping, sitting, or leaning on them) can result in potential hazards and/or injuries.
- When installing or removing the cooker for service, a rolling lift jack should be used Do not push against any of the edges of the cooker in an attempt to slide it into or out of the installation. Pushing or pulling a cooker (rather than using a lift jack) also increases the possibility of bending the leg spindles or the internal coupling connectors.
IMPORTANT!
- The cooker is heavy; use care in handling.
- Do not lift the cooker by the oven door handle or hob rail, or by lifting the cooktop trim as this may damage the appliance.
Replacement parts
- Only authorized replacement parts may be used in performing service on the cooker.
- Replacement parts are available from factory authorized parts distributors.
- Contact the nearest parts distributor in your area.
IMPORTANT!
SAVE THESE INSTRUCTIONS
The models shown in this installation guide may not be available in all markets and are subject to change at any time. For current details about model and specification availability in your country, please go to our website fisherpaykel.com or contact your local Fisher & Paykel dealer.
PARTS SUPPLIED FOR INSTALLATION

TOOLS NEEDED FOR INSTALLATION (NOT SUPPLIED WITH THE APPLIANCE)
IMPORTANT!
THIS APPLIANCE MUST BE INSTALLED BY A QUALIFIED INSTALLER.
- Improper installation, adjustment, alteration, services, or maintenance can cause injury or property damage. Consult a qualified installer or the service agent.
- The use of suitable protective clothing/gloves is recommended when handling or installing this appliance.

MODEL IDENTIFICATION
Model features may vary.
OR90 Induction models
OR90SCI1
OR90SCI4
OR90SCI6
OR90SDI6
OR90SPI6X1
PRIOR TO INSTALLATION
Unpacking and handling
- Inspect the cooker to verify that there is no shipping damage. If any damage is detected, call the shipper and initiate a damage claim. Fisher & Paykel is not responsible for shipping damage.
- DO NOT discard any packing material until the cooker has been inspected.
- Remove the outer carton and any packing material from the cooker. Some models are supplied with a protective film on steel and aluminum parts. This film must be removed before installing or using the appliance.
PRODUCT DIMENSIONS
Model features may vary.
Optional kick strip available (purchased separately).


| PRODUCT DIMENSIONS | OR90 mm |
| 1 Overall height of cooker (from floor to top of cooktop, excl. optional backyard) | min 898 max 946 |
| 2 Overall width of cooker | 897 |
| 3 Overall depth of cooker (from the front of cooker to the rear of island trim/backguard, excl. handles and dials) | 600 |
| 4 Height of optional backyard from top of cooktop (supplied with some models only) | 60 |
| 5 Height of chassis (excl. adjustable feet) | 813 |
| 6 Adjustable feet height | min 85 max 133 |
| 7 Depth of open door to the front of the cooker | 451 |
CLEARANCE DIMENSIONS

| CLEARANCE DIMENSIONS | OR90 mm |
| A Minimum vertical distance between benchtop and cabinet extending above-counter | 450 |
| B Minimum clearance from the left and right edge of the cooker to a nearest vertical combustible surface | 50 |
| C Minimum clearance from the cooking surface to: • Overhead cabinet centered above the cooktop • Ventilation hood centered above the cooktop | 650 650 |
| D Width of cabinetry opening | 900 |
| E Maximum height of cabinetry immediately adjacent to the cooker (from floor to countertop)* | 945 |
| F Maximum depth from wall to cabinetry face | 600 |
*Depending on the height of the feet adjustment. The cooking surface must sit flush or above benchtop level.
Note:
- The cabinetry surrounding the cooker must be heat resistant and capable of withstanding temperatures of 75°C above room temperature.
- Do not install the cooker near flammable materials such as curtains.
- Installing the cooker on a plinth: the cooker can be installed on a plinth without the adjustable feet fitted.
- Ensure the cooker is secure and provide safety measures to keep it in place.
- Cabinetry dimensions can be adjusted to suit the plinth height, see product dimensions for chassis height.
- The cooker must sit flush or above benchtop level.
FITTING THE OPTIONAL BACKYARD
Backguard (supplied with some models only)
- Remove the screws and spacers on the rear of the cooktop.
- Assemble the backguard as shown and fix it onto the back of the cooker using the same screws and spacers.
- Fix the backyard onto the cooker using the screws provided.

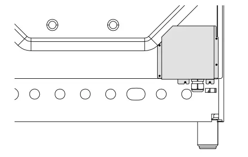
LOCATION OF ELECTRICAL SUPPLY

| SUPPLY AREA DIMENSIONS | MM |
| A Distance from either edge of the Cooker to the supply area | 19 |
| B Height of electrical supply area (from the floor)* | 210-260 |
| C Width of electrical supply areas | 859 |
| D Depth of supply area (ie maximum protrusion of electrical connection from wall) | 74 |
*Depending on adjustment of feet.
VENTILATION REQUIREMENTS
A suitable ventilation hood may be installed above the cooker.
Fisher & Paykel has a choice of ventilation hoods designed to match the rest of our kitchen appliance family. See fisherpaykel.com or your local dealer for more details.
IMPORTANT
- Consult local building codes and/or local agencies, before starting, to ensure that hood and duct installation will meet local requirements.
- Hood blower speeds should be variable to reduce noise and loss of heated or air-conditioned household air when maximum ventilation is not required. Normally, the maximum blower speed is only required when using the grill or the self-cleaning cycle.

FITTING THE ADJUSTABLE FEET
Fitting the adjustable feet
The adjustable feet must be fitted to the base of the cooker before use. Rest the rear of the cooker on a piece of the polystyrene packaging exposing the base for the fitting of the feet.
IMPORTANT
Take care not to damage the cooker during this operation.

Fit the four legs by screwing them tight into the support base as shown.
Leveling the cooker
- The cooker may be leveled by screwing the lower ends of the feet IN or OUT.
- Small adjustments may be made to the cooker in the upright position, however, it may be necessary to tip the cooker again to make larger adjustments.

Fitting the adjustable feet covers (optional)
If using the adjustable feet covers fit these while the cooker is tipped over.
![]() | |
| 1 Tip range onto its back and fix brackets to mounting holes. | 2 Assemble the feet covers by slotting the inner cover inside the outer cover. |
![]() | |
| 3 Note: gently bend the edges of the inner cover to adjust the tension between the two parts if needed. | 4 Secure covers to brackets using the provided screws. |
![]() | |
| 5 Stand cooker back upright. | 6 Adjust the inner panels of the foot covers to suit the height of the cooker feet. |
MOVING THE COOKER
IMPORTANT!
- When raising the cooker to an upright position always ensure two people carry out this maneuver to prevent damage to the adjustable feet.
- BE CAREFUL: do not lift the cooker by the oven door handle, the hob rail, or by lifting the cooktop trim as this may damage the appliance.
- When moving the cooker to its final position DO NOT DRAG.
- Lift feet clear of the floor.

INSTALLING THE ANTI-TIP BRACKET
IMPORTANT!
- To restrain the cooker and prevent it from tipping accidentally secure the cooker to the wall using the supplied anti-tip bracket. Ensure you also fit the supplied lock pin to the anti-tip bracket.
- If installing the cooker above a plinth (without fitting the adjustable feet) revise the installation dimensions for the anti-tip bracket accordingly, considering that the feet have the following measurements: min 85mm – max 133mm.
- Before drilling and holes or inserting any screws into the floor or wall check that you will not damage any wiring or pipes.
Fit the anti-tip bracket
- Loosely fix the anti-tip bracket to the wall using the supplied screws.
• Drill two 8mm diameter holes in the wall and insert the supplied plastic sleeve anchors before inserting the screws. - Slide the cooker into place and adjust the height of the bracket so that it will align with the slot on the back of the cooker.
- Tighten the screws to fix the anti-tilt bracket in place.
- Push the cooker back into place so that the bracket is fully inserted into the slot on the back of the cooker.

INSTALLING THE ANTI-TIP BRACKET
Fitting the lock pin (models with a storage/warming drawer) The anti-tip bracket is accessible by removing the storage/warmer drawer, and is positioned on the rear right side of the cooker.

To remove the storage/warming drawer
- Open the storage/warming drawer completely.
- Move down the lever of left guide A and up the lever of right guide B.
- Remove the drawer holding the levers in the same position.
IMPORTANT
- Do not remove the storage/warming drawer while hot or during operation.
- Be sure the storage/warming drawer is empty before removing it.
- Always position your hand below the front panel to open/close the drawer.

4 Fit the lock pin through the bracket as shown
5 Insert the drawer guides onto the sliding runners on either side of the cooker interior.
• Ensure they are correctly lined up on both sides of the drawer.
6 Gently close the drawer completely. The safety catches will automatically lock into place.
Fitting the lock pin (models with a storage compartment)
The anti-tip bracket is accessible by opening the storage compartment door and is positioned on the rear right side of the cooker.

- Open the storage compartment door.

- Fit the lock pin through the bracket as shown.
- Close the storage compartment door.
ELECTRICAL CONNECTION
IMPORTANT!
- This cooker must be connected to the mains power supply only by a suitably qualified person. This cooker must be earthed.
- If the installation requires alterations to the domestic electrical system, call a qualified electrician. The electrician should also check that the electrical system is suitable for the electricity drawn by the cooker.
- The appliance must be connected to the mains electricity supply, checking that the voltage corresponds to the value given in the rating plate and that the electrical cable sections can withstand the load specified on the plate.
- A suitable disconnection switch must be incorporated in the permanent wiring, mounted and positioned to comply with the local wiring rules and regulations. The switch must be of an approved type installed in the fixed wiring and provide a 3mm air gap contact separation in all poles in accordance with the local wiring rules.
- A switch of the approved type with a 3mm air gap must be installed in the active (phase) conductor of the fixed wiring. The switch must always be accessible.
- The power supply cable must not touch any hot parts and must be positioned so that it does not exceed 75°C at any point.
- This cooker must be connected to a suitable double pole control unit adjacent to the cooker. No diversity can be applied to this control unit.
- This appliance must be connected to the electrical supply using a cable fitted with an appropriately rated plug. The plug must be compatible with the socket-outlet fitted to the final subcircuit in the fixed wiring that is intended to supply the appliance.

Replacing the power cord
- Replacements should only be made by a qualified electrician.
- Use a cable according to the applicable local regulations.
| MAX CURRENT PER PHASE (A) | ||||||
| MODEL CODE | MAX POWER (W) | HZ | VOLTAGE (V) | 1 PH | 2 PH | 3 PH |
| OR90S*1 | 10610 | 50 Hz | 220 – 240 V~ | 46 | 32 | 16 |
| OR90S*4 | 15300 | 50 Hz | 220 – 240 V~ | 67 | 45 | 32 |
| OR90S*6 | 15550 | 50 Hz | 220 – 240 V~ | 68 | 45 | 32 |
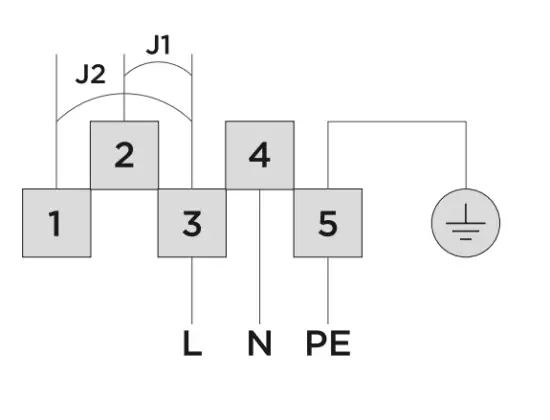
ELECTRICAL FEEDER CABLE CONNECTION
IMPORTANT!
The power supply cable must be connected by a Fisher & Paykel trained and supported service technician or qualified person.
Feeder cable section
Use a type of cable according to the applicable local regulations.

- Remove the screws that hold the cover in place at the back of the cooker.

- Unscrew the bottom terminal end of the strain relief by using two spanners. Insert the terminal into the power suply cable, then insert the feeder cable into the strain relief (ensure the sealing ring stays secured inside the strain relief).
IMPORTANT!
Do not unscrew the strain relief from the cooker.
- Connect the live, neutral, and earth cables to the terminal. Lock the power supply cable in place by screwing the terminal end back to the strain relief. Re-mount the screw cover back onto to the cooker.
IMPORTANT!
The earth conductor should remain around 30mm longer than the others.
SINGLE-PHASE CONNECTION

TWO-PHASE CONNECTION

THREE-PHASE CONNECTION

FINAL CHECKLIST
TO BE COMPLETED BY THE INSTALLER
GENERAL
- Placement of unit.
- Specified clearance maintained to cabinet surfaces.
- Unit Level — front to back, side to side.
- All packaging material and tie straps were removed.
- Island trim or optional backguard correctly attached.
- The anti-tip bracket is correctly installed.
ELECTRICAL - Adequate ground connection.
OPERATION
- All internal packing materials were removed. Check inside the oven.
- Dials turn correctly and freely.
- Oven and cooktop displays are functioning correctly and oven and cooking zones can be turned on.
- The oven door hinges seated and the door opens and closes properly.
Complete and keep for safe reference:
Model…………………………………….
Serial No……………………………..
Purchase Date………………………….
Purchaser………………………………….
Dealer address……………………………..
Installer’s name………………………
Installer’s signature……………………………..
Installation company………………………………..
Installation date ……………………………
FISHERPAYKEL.COM
© Fisher & Paykel Appliances 2021. All rights reserved.
The models shown in this guide may not be available in all markets and are subject to change at any time.
The product specifications in this guide apply to the specific products and models described at the date of issue.
Under our policy of continuous product improvement, these specifications may change at any time.
For current details about model and specification availability in your country, please go to our website or contact your local Fisher & Paykel dealer.
591517E 12.21























