virtufit Water Resistance Row 800 Roeitrainer

SAFETY INSTRUCTIONS
WARNING:
Before beginning any exercise program, consult your physician. This is especially important for individuals over the age of 35 or persons with pre-existing health problems. Read all instructions before using any fitness equipment. Save these instructions.
ATTENTION
- Before starting any exercise program you should consult your physician to determine if you have any medical or physical conditions that could put your health and safety at risk or prevent you from using the equipment properly. Your physician’s advice is essential if you are taking any medication that may affect your heart rate, blood pressure, or cholesterol level.
- Be aware of your body’s signals. Incorrect or excessive exercise can damage your health. Stop exercising if you experience any of the following symptoms: pain, tightness in your chest, irregular heartbeat, shortness of breath, lightheadedness, dizziness, or feelings of nausea. If you do experience any of these conditions, you should consult your physician before continuing with your exercise program.
- Keep children and pets away from the equipment. The equipment is designed for adult use only.
- Use the equipment on a solid, flat level surface with a protective cover for your floor or carpet.
To ensure safety, the equipment should have at least 2 feet of free space all around it. - Ensure that all nuts and bolts are securely tightened before using the equipment. The safety of the equipment can only be maintained if it is regularly examined for damage and/or wear and tear.
- Always use the equipment as indicated. If you find any defective components while assembling or checking the equipment, or if you hear any unusual noises coming from the equipment during exercise, stop using the equipment immediately and don’t use the equipment until the problem has been rectified.
- Wear suitable clothing while using the equipment. Avoid wearing loose clothing that may become entangled in the equipment.
- Do not place fingers or objects into the moving parts of the equipment.
- The maximum user weight of this rower is 140kg.
- This equipment is not suitable for therapeutic use.
- Move with caution when lifting and moving the equipment. Always use proper lifting technique and seek assistance if necessary.
- Your product is intended for use in cool, dry conditions. You should avoid storage in extreme cold, hot, or damp areas as this may lead to corrosion and other related problems.
- This equipment is designed for indoor use only! It is not intended for commercial use or medical treatment!
CHECKLIST
PARTS LIST
When you open the carton, you will find the below parts in the carton:

| NUMBER | DESCRIPTION | QTY |
| 1 | Main frame | 1 |
| 12 | Pedal Shaft | 1 |
| 39 | Seat | 1 |
| 43 L / R | Pedal | 2 |
| NUMBER | DESCRIPTION | QTY |
| 45 | Handlebar Holder | 1 |
| 54 | Console | 1 |
| 100 | Syphon pump | 1 |
| 101 | Funnel | 1 |
PARTS


ASSEMBLY INSTRUCTIONS
Open the box and remove all parts from the packaging and place them on the floor.
- Missing parts:
If you think you are missing certain parts in your package, carefully check the styrofoa and the treadmill. Some parts (bolts, screws, etc.) are already attached to / in the treadmill. - Error message:
Make sure that all cables are carefully attached. The aluminum legs are very sensitive and should remain straight. Do you get an error message after mounting your rowing machine? Then you should bend these copper feet straight again, this may cause the error message to disappear. - Allen bolts:
Make sure that the Allen key fits securely into the bolt before you apply force to the key. In this way you prevent the head of the socket head from being turned.
STEP 1

- Unfold the Front Support (2) away from the Main Frame (1);
- Unfold the Upright (4) away from the Rail (3).
STEP 2

- Bolt the Front Support (2) to the Main Frame (1) with Button Head Bolt ( M10 X 1.5 X 115mm)(63), Washer(M10)(82), and Nylock Nut (M10 X 1.5)(87);
- Attach the Upright (4) to the Front Support(2) with Button Head Bolt (M10 X 1.5 X 55mm)(65).
STEP 3
- There is an “L” decal on the left Pedal Cap(43L), and an “R” decal on the right Pedal Cap (43R);
- Insert the Pedal Shaft (12) through the tube located on the Front Support (2);
- Slide the right Pedal Cap (43R) onto the right side on the Pedal Shaft (12) and make it ride on the Rack on the Front Support (2);
- Slide the left Pedal Cap (43L) onto the left side on the Pedal Shaft (12) and make it ride on the Rack on the Front Support(2);
- Then secure the Pedal Caps (43R, 43L) with Washers(M10)(82), Lock Washer (M10)(81), and Acorn Nuts
(M10 X 1.5)(86) at both ends of the Pedal Shaft (12); - You need to use two combination Wrenches to tighten the Acorn Nuts (M10 X 1.5)(86) at both ends of the Pedal Shaft(12) at the same time.
STEP 4

- Attach the Seat(39) to the Seat Carriage(10) with 4x Button Head Bolts (M6 X 1 X 15mm)(75);
- Attach the Handlebar Holder (45) to the Upright(4) with 2x Button Head Bolts
(M6 X 1 X 15mm(75). Place the Handlebar(5) onto the Handlebar Holder (45). - Install two AAA batteries into the Meter(54), check page 15 for detailed battery installation instructions. Attach the Meter(54) to the Meter Plate(6) with 2x Round Head Bolts
(M5 X 0.8 X 10mm)(76). Plug the Sensor Wires(55) into the connecting wires of the Meter(54), and push the excess wires back into the Upright(4).
HOW TO FILL AND EMPTY THE TANK
- Remove the Fill Plug(21) from the upper tank(18).
- To fill with water, refer to illustration C. Place the Funnel(101) into the tank. Use a water cup, or the Syphon Pump(100) and a bucket to fill the tank. Use Water level gauge on the side of tank to measure volume of water in tank to the desired level.
- To empty the tank, refer to illustration D. Place a bucket next to the rower. Use the
Syphon Pump(100) to pump out the water in the tank to the desired leve. - Once completed, inset the Fill Plug(21) into the Upper Tank(18). Please wipe excess water from the frames after filling.
NOTE:
- Fill the tank with municipal water, do not use well water. If municipal water is unavailable, use distilled water. Refer to the Maintenance section for recommendations on water treatment.
- The water in the tank is not human or animal consumption. Please dispose of the water properly after removal from the tank.
WATER LEVEL

Refer to the detail view of illustration C. The water level gauge is positioned on the side of the tank.
DO NOT fill above the Maximum level – this could void the warranty.
The amount of resistance is dictated by the amount of water in the tank. For example level 2 of water offer light resistance, Level 6 offers a heavier resistance.
ADJUSTMENT GUIDE
MOVING MACHINE
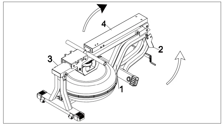
To move the machine, lift up the Front Support (2) until the Moving Wheels (36) on the main frame touch the ground. With the wheels on the ground, you can transport the rower to the desired location with ease.

ADJUSTING BALANCE
Adjust the Stand (59) below the Stabilizers of the machine if it is unbalanced during use.

STORAGE
- To store the water rowing machine, simply keep it in a clean dry place. Avoid a room with high humidity like a shed or near a washing machine.
- To avoid damage to the electronics, remove the batteries before storing the Water rowing machine for one year or more.
- Remove water from tank if storing the rower for more than a month without use.
MAINTENANCE
The safety and integrity designed into the Water rowing machine can only be maintained when the Water rowing machine is regularly examined for damage and wear. Special attention should be given to the following:
- Sit on the seat and pull on the handlebar to verify that the water system provides
resistance and the seat travel is smooth and stable - Periodic maintenance is required to maintain proper condition of the water in the tank. The water must be refreshed periodically by adding a water purification tablet, such as sodium dichlor
(56% chlorine) every 4-6 months. NEVER USE POOL CHLORINE (TRICHLOR 90% CHLORINE) OR CHLORINE BLEACH. Use of these products will void the warranty and damage the product. - Clean the roller tracks on the rails with an absorbent cloth. Do not let dirt accumulate. Check before every training.
- It is the sole responsibility of the user/owner to ensure that regular maintenance is performed.
- Worn or damaged components shall be replaced immediately. Contact your dealer for help.
OPERATING GUIDE
CONTROL PANEL

| BUTTON | EXPLANATION |
| (1) POWER ON | Start rowing or press any button. |
| (2) POWER OFF | Automatically shuts off after 4 minutes of inactivity. |
| (3) MODE | In the setting mode, press and release to select each function for preset target values for Time, Count, Distance, Calories, and Pulse. Press amd release to select functions for display for Time, Count, Distance, Calories, and Pulse. |
| (4) SET | In the setting mode, press to set target values. Press the button and hold it down for two seconds, the meter will continue to add the values, release the button to stop. |
| (5) RESET | In the setting mode, press the button to reset the setting values to zero. Press the button and hold it down for two seconds to reset all functions to zero |
FUNCTIONS
| BUTTON | EXPLANATION |
| (6) SCAN | Automatically scans Time, Count, Distance, Calories, and Pulse in sequence with a change every six seconds. Press and release the Mode button until “Scan” appears on display. |
| (7) TIME | Displays the time from 1 sec. Up to 99:59 minutes |
| (8) COUNT | Displays the total number of strokes you have taken from zero to 9999 strokes. |
| (9) DISTANCE | Displays distance from zero to 9999 meters. |
| (10) CALORIES | Displays the calories burned from zero to 9999 Kcal. The calorie readout is an estimate for an average user. It should be used only as a comparison. |
|
(11) PULSE | Displays the heart rate, from 40 to 240 beats per minute. To use this function, you must wear the Heart Rate Transmitter around your chest so the receiver which is built into the rower registers your heart rate from the Heart Rate Transmitter for displaying. Each heart rate signal will be accompanied with one “ “ symbol flash. |
NOTE:
The Heart Rate Transmitter(95) is not a medical device. Maintaining a consistent signal can be difficult due to the varying distances experienced during the rowing stroke. The pulse function is a great tool to optimize your workout, but should be used as a reference only.
PRESET VALUES OPERATION
You can pull on the Handlebar (5) to power on the meter and workout with the meter directly. Or, you can preset the function values for counting down. Press and release the Mode button until “SCAN”
does not appear on dispay, the meter will enter setting mode. Use Set and Reset buttons to input the values, and press Mode to confirm. Or, just press the Mode button to skip the setting and move to the next function. After all the desired settings are chosen, begin pulling on the Handlebar (5) to start the workout. Time (1:00 to 99:00) Count (10 to 9990) Distance (100 to 9900 meter) Calories (10 to 9990 Kcal).
NOTE:
- You may preset values for several functions. The preset function values will start to count down. When you complete one of the preset functions, the value of this completed function will start to count up, while the other preset functions will continue to count down.
- The Meter will shut off automatically after 4 minutes of inactivity. All function values will be kept. You can continue to work out with these function values. Or, press the Reset or Mode button and hold it down for two seconds to reset all functions to zero.
HOW TO INSTALL L AND REPLACE BATTERIES AAA BATTERIES
- Open the Battery Door on the back of the meter.
- The meter operates with two AAA batteries ( 1.5V each ), the batteries are included. Refer to the illustration to install or replace the batteries.
NOTE:
- Do not mix a new battery with an old battery.
- Use the same type of battery. Do not mix an alkaline battery with another type of battery.
- Ultimate disposal of battery should be handled according to all state and federal laws and regulations.

EXERCISE GUIDE
Rowing is an extremely effective form of exercising. It strengthens your heart and improves blood circulation as well. There are involved all major muscle groups of back, waist, arms, shoulders, hips and legs.
Sit on the saddle and fasten your feet to the pedals using Velcro straps. Then take hold of the rowing bar. Take the start position, lean forward with your arms straight and knees bent as shown in Fig. 1. Push your body backwards while simultaneously straightening your back and legs (Fig. 2). Continue this movement until you are leaning slightly backwards.Bring your arms out of the side during this phase (Fig. 3). Thereafter return to the second position and repeat it as shown below.

TRAINING TIME
Rowing is a strenuous training style. Because of it, it is better to start with a short and easy program and continue to a longer and intensive workout. Start rowing for about 5 minutes and increase the workout length gradually to improve your fitness. Finally, you should be able to row for 15-20
minutes. Don’t try to do it too quikly. Try to train on alternate days, 3 times a week. Take recovery time between workouts.
ROWING STYLE ALTERNATION
ONLY ARM ROWING: This workout should tone your arm, shoulder, back and abdominal muscles. Sit on the machine as shown in Fig. 4. Straight your legs, lean forward and grasp the handles. Control your moving and gradually lean back to just past the up-right position (Fig. 5) and continue to pull the handles towards your chest (Fig. 6). Return to the starting position and repeat.

ONLY LEG ROWING: This workout helps toning your leg and back muscles. Keep your back straight and arms out-stretched, bend your legs until you will grasp the rowing handles in the starting position (Fig. 7). Use your legs to push your body back (Fig. 8) while keeping your arms and back straight as shown in Fig. 9.

WARM-UP PHASE
This phase should help improving blood circulation and make your muscles working properly while reducing a cramp risk or injury. It is advisable to do a few stretching exercises as shown below. Each stretching exercise should be taken for approx. 30 seconds. Don’t overstretch and don’t jerk your muscles. If you feel pain, stop immediately.

EXERCISE PHASE
It is a phase, during which you should put in your effort. After regular workout, your leg muscles should get more flexible.Keep steady tempo throughout your exercising. The workout intensity should be sufficient to raise your heartbeat into the target zone as shown below.
NOTE: This stage should last for at least 12 mins. Thus, most people start at approx. 15-20 mins.

COOL-DOWN PHASE
In this stage, your cardiovascular system and muscles should get calm. Repeat the warm-up exercises, reduce your tempo and continue for approx. 5 mins. Repeat the stretching exercises, but don’t overstretch or jerk your muscles. As you get fitter, you can exercise longer and harder. It is advisable to train at least three times a week and, if possible, to space your workouts evenly throughout a week.
TECHNICAL DRAWING


PARTS LIST
| # | DESCRIPTION | QTY |
| 1 | Main frame | 1 |
| 2 | Front stabilizer | 1 |
| 3 | Rail | 1 |
| 4 | Upright | 1 |
| 5 | Handlebar | 1 |
| 6 | Meter Plate | 1 |
| 7 | Mounting Bracket | 1 |
| 8 | Tank Brace | 1 |
| 9 | Impeller | 1 |
| 10 | Seat Carriage | 1 |
| 11 | Sensor Bracket | 1 |
| 12 | Pedal Shaft | 1 |
| 13 | Rail Shaft | 1 |
| 14 | Idle Roller Spacer | 2 |
| 15 | Roller Long Spacer | 2 |
| 16 | Roller Short Spacer | 4 |
| 17 | Strap Pulley Spacer | 2 |
| 18 | Upper Tank | 1 |
| 19 | Lower Tank | 1 |
| 20 | Rubber Ring Seal | 1 |
| 21 | Fill Plug | 1 |
| 22 | Fill Plug Seal | 1 |
| 23 | Lower Pad | 4 |
| 24 | Strap / Bungee Pulley Bushing | 2 |
| 25 | Plastic Washer | 2 |
| 26 | Shaft Retainer | 1 |
| 27 | Strap / Bungee Pulley | 1 |
| 28 | Hook pad | 1 |
| 29 | One-way Bearing HF2016 | 1 |
| 30 | Spring Pin Ø6X40mm | 2 |
| 31 | Strap Pulley |
| # | DESCRIPTION | QTY |
| 32 | Idle Roller | 2 |
| 34 | Seat Roller | 4 |
| 35 | Lower Seat Roller | 2 |
| 36 | Moving Wheel | 2 |
| 37 | Bungee Pulley | 4 |
| 38 | Spacer for Bungee Ø8.1XØ12X | 8 |
| 39 | Seat Pulley 6.5mm | 1 |
| 40 | Rail Bushing Ø16 X 31.8 X 12.5 mm | 2 |
| 41 | Meter Plate Bushing Ø8.2 X Ø27 X 10 mm | 2 |
| 42 | Stopper | 4 |
| 43 | Pedal | 2 |
| 44 | Pedal Strap | 2 |
| 45 | Handlebar Holder | 1 |
| 46 | Endcap 30mm X 70mm | 1 |
| 47 | Rectangular Plug 40mm X 100mm | 2 |
| 48 | Rectangular Plug 30mm X 60mm | 2 |
| 49 | Round plug Ø28.6mm | 2 |
| 50 | Strap | 1 |
| 51 | Bungee cord | 1 |
| 52 | Needle Roller Bearing HK2010 | 2 |
| 53 | Hand Grip | 2 |
| 54 | Console | 1 |
| 55 | Sensor Wire | 2 |
| 56 | Sensor Holder | 1 |
| 57 | Magnet | 1 |
| 58 | Nut | 1 |
| 59 | Stand | 4 |
| 60 | Beaering 6000zz | 6 |
| 61 | Bearing 608zz | 10 |
| 62 | Bolt, Flat Socket Head M10 X 1.5 X 115mm | 2 |
| 63 | Bolt M10 X 1.5 X 105 mm | 1 |
| # | DESCRIPTION | QTY |
| 64 | Bolt M10 X 1.5 X 55mm | 3 |
| 65 | Bolt M10 X 1.5 X 55mm | 3 |
| 66 | Bearing Spacer | 1 |
| 67 | Bolt M8 X 1.25 X 135mm | 2 |
| 68 | Bolt M8 X 1.25 X 110mm | 2 |
| 69 | Bolt M8 X 1.25 X 135mm | 1 |
| 70 | Bolt M8 X 1.25 X 50mm | 4 |
| 71 | Bolt M8 X 1.25 X 30mm | 4 |
| 72 | Bolt M8 X 1.25 X 15mm | 10 |
| 73 | Bolt M6 X 1 X 45mm | 2 |
| 75 | Bolt M6 X 1 X 15mm | 10 |
| 76 | Bolt M5 X 0.8 X 10mm | 2 |
| 77 | Screw, Round Head M3 X 0.5 X 20mm | 12 |
| 78 | Screw, Round Head M4 X 16mm | 2 |
| 79 | Screw, Round Head M4 X 12m | 1 |
| 80 | Bolt Ø10X12.5mm, M8X1.25X15mm | 2 |
| 81 | Lock Washer M10 | 5 |
| 82 | Washer M10 | 12 |
| 83 | Washer M8 | 2 |
| 84 | Washer M6 | 24 |
| 85 | Washer M3 | 2 |
| 86 | Arcon Nut M10 X 1.5 | 4 |
| 87 | Arcon Nut M10 X 1.5 | 5 |
| 88 | Nylock Nut M8 X 1.25 | 11 |
| 89 | Nylock Nut M6 X 1 | 2 |
| 90 | Nylock Nut M3 X 0.5 | 12 |
| 91 | Large Washer M8 X Ø20mm | 2 |
| 92 | Upper pad 25mm X 25mm | 4 |
| 93 | Impeller Seal | 1 |
| 94 | Tank Seal | 1 |
| 95 | Foam Spacer | 1 |
| # | DESCRIPTION | QTY |
| 96 | PC Plate | 1 |
| 97 | Roller Spacer Ø8.1 X Ø10 X 13mm | 1 |
| 98 | Idle Roller Spacer | 2 |
| 99 | Stainless Washer | 1 |
| 100 | Syphon Pump | 1 |
| 101 | Funnel | 1 |
| 102 | Allen Wrench 4mm | 1 |
| 103 | Allen Wrench 6mm | 1 |
| 104 | Combination Wrench | 1 |
| 105 | Screw ST5.5*16 | 4 |
| 106 | Ribbon guide wheel | 1 |
| 107 | Bolt, button head M10x60 | 1 |
For questions or missing parts please contact your dealer.



















