HIGH LIFTER HDRRA-C1D Can-Am Defender 1000 XT and XMR APEXX Rear Rake Arms

Parts Available For These Popular Brands and Others
PRODUCT DISCLAIMER
The installation of products sold or manufactured by High Lifter Products, Inc. including, but not limited to suspension components such as lift kits, gear reduction lifts, frame stiffener kits, snorkels, and tires that exceed the original specifi cations for the vehicle, may change the vehicle’s center of gravity and handling characteristics both on- and off-road. You are aware that the installation of tires that are larger than original vehicle specifi cations may reduce the effectiveness of the braking system. Use of these products may place added stress to the original factory vehicle components which could cause them to weaken or possibly fail. Products sold or manufactured by High Lifter Products, Inc. are intended for off-road use only. Operation of a vehicle modifi ed with these products on a road could result in serious bodily injury or death, and such operation may violate the laws of your state or municipality. You agree to operate your vehicle exclusively in the manner intended by the vehicle manufacturer. You agree that failure to safely and reasonably operate your vehicle could result in serious bodily injury or death, and that, as a result of installation of this product(s) to your vehicle, extreme care must be taken to prevent vehicle rollover or loss of control, which may be more likely to occur as a result of said modifications. You will avoid unsafe maneuvers, including sudden sharp turns or other abrupt maneuvers, which could make a vehicular accident more likely.
You understand that High Lifter Products, Inc. is not responsible or liable for any damages or any injuries to yourself or your passengers that could occur upon possible accidents due to driver error, incorrect installations, bad judgment, incompatibility with other aftermarket accessories or natural disasters to the fullest extent allowable by law.You will have all vehicle occupants fasten seatbelts, if equipped, and wear proper safety equipment, such as DOT approved helmet and eye protection prior to operating the vehicle. You understand and acknowledge that failure to wear proper safety equipment may increase the risk of serious bodily injury or death to yourself and any passengers. Proper installation of products sold or manufactured by High Lifter Products, Inc. requires knowledge of the factory recommended procedures for removal and installation of original equipment components. Installation of these products without proper knowledge and experience may affect the performance of these components and the safety of the vehicle and cause serious bodily injury or death. It is strongly recommended that a certified mechanic familiar with the installation of similar components perform the product(s) installation.Prior to installing any products sold or manufactured by High Lifter Products, Inc., you will perform or cause to be performed an inspection of their vehicle to confirm its condition is suitable for the installation of these products.
A proper inspection of the vehicle includes confirmation that the vehicle has not been in a collision and is free of corrosion. If the vehicle is suspected to have been in a collision or misused, or is otherwise unsuitable for modification, you will not install the product(s). You will continue to inspect the vehicle prior to each use to confi rm its condition is suitable for its intended use, and you acknowledge that the failure to do so may result in serious bodily injury or death, as well as damage to the vehicle itself.You will install any warning labels provided with the product so it may be prominently seen by yourself and all passengers. You will notify all passengers of the modifications performed to your vehicle prior to operation.Insurance companies may handle coverage of a modified vehicle differently. Please check with your insurance carrier prior to modifying the vehicle to ensure your coverage remains sufficient. Installation of this product(s) may void your vehicle warranty. If this is a concern, please check with the manufacturer or dealer before purchase or installation of this product(s).
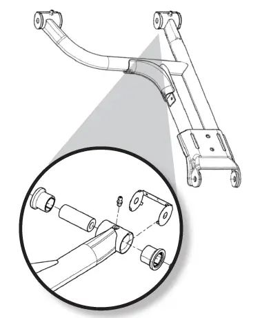
PARTS DIAGRAM
NOTE BEFORE INSTALLING: This kit will NOT work in conjunction with ANY front lift brackets, but WILL still work with spring spacers
REAR LOWER & UPPER ARMS
(HDRRA-C1DXMR) 79-15119

NOTE BEFORE INSTALLING: This kit will NOT work in conjunction with ANY front lift brackets, but WILL still work with spring spacers.
REAR LOWER & UPPER ARMS
(HDRRA-C1D) 79-115122

REAR PASSENGER SIDE

KEEP ALL FACTORY HARDWARE.
Place jack under the REAR center of the UTV and lift until the weight is off the suspension. Ensure that the vehicle is properly secured, so that it is stable on the jack. ONCE LIFTED, USE JACK STANDS TO PROPERLY SECURE THE UNIT. Remove the rear wheels.
CALIPER & HUB
CALIPER
Remove the brake caliper mounting bolts from the hub assembly. (15mm) Set caliper aside. DO NOT DRAIN BRAKE FLUID.

HUB

Remove the cotter pin, castle nut (30mm) and washers from the rear axles, then remove the brake rotor assembly

LOWER ARM
Disconnect the lower arm FIRST by detaching the arm at the frame, then disconnect the lower shock and sway-bar. KEEP FACTORY HARDWARE, it will be used to reconnect the new control arms.

UPPER ARM

Remove the upper control arms at the frame by removing the frame bolts. (17mm) KEEP FACTORY HARDWARE. SET ARMS ASIDE FOR BUSHING REMOVAL.
BUSHINGS
IF YOU HAVE PREINSTALLED BUSHINGS YOU WILL NOT REUSE THE FACTORY BUSHINGS. Remove the stock bushings, sleeve, and wear plate from the collar.
REAR UPPER & LOWER CONTROL ARMS
LOWER ARM
UPPER ARM

- Install the new LOWER control arm to the frame, using the factory hardware. (17mm)
- Install the new UPPER control arm to the frame, using the factory hardware. (17mm)
KNUCKLE

SHOCK, SWAY-BAR, & HUB
SHOCK

Secure the shock to the LOWER arm by installing a M10x55mm bolt followed by a 10mm washer through the shock tab. Secure it with another 10mm washer and 10mm lock nut. Secure the sway-bar link to the sway bar tab on the LOWER arm by re-securing the linkage bushing.
ROTOR & HUB
Reattach the rotor to the knuckle assembly. Install washers, then secure using the axle nut and cotter pin. (30mm)
CALIPER

Secure the brake caliper mounting bolts from the hub assembly. (15mm) Set caliper aside
BRAKE LINES
Use the 133B brake line clamps to secure the brake lines to the UPPER arm. You do not have to route the lines exactly as shown, as long as they do not become pinched or bound.

ADJUSTING WHEEL CAMBER
BEFORE STARTING
- Tires must be off the ground
- Tires must have equal air pressure
- Suspension components must be completely assembled
The new High Lifter lower control arms will come pre-adjusted to factory length, which is .937 If you need to re-adjust the collars, place the factory arm and new control arm on a fl at surface. Measure from eyelet to center mount on the factory arm, and then adjust the new arms to those lengths.
NOTE: When re-adjusting, leave the jam nuts loose. Do not fasten tight until installed on UTV, after all final adjustments have been made.

Make all adjustments in small increments.Do this by disconnecting control arms at the frame and adjusting collars. Once small adjustments have been made. Take the UTV off the jack and roll it back and forth several times to check the camber. Repeat steps as needed. After alignment is complete, tighten jam nuts to 80 ft-lbs and secure it with blue loctite

- If you have a positive camber you will need to adjust the collar OUTWARD or lengthen the control arm. The maximum amount outward is “1.250” which could give up to 3°of positive camber.
- For this application, we recommend a camber setting of 0°. Collars are preset to .937
- If you have a negative camber you will need to adjust the collar INWARD or shorten the control arm. The maximum amount inward is zero threads exposed and could give over 3° of negative camber.
HIGH LIFTER LIMITED LIFETIME WARRANTY
High Lifter offers a Limited Lifetime Warranty to the original purchaser that our product shall be free from defects in material and workmanship for the life of the product if utilized in accordance with the manufacturer’s instructions for installation and operation of said products.
LIMITED LIFETIME WARRANTY EXTENDS TO THE FOLLOWING PRODUCT LINES
- Lift Kits (Signature, Standard and Big Lifts)
- Control Arms
- Trailing Arms
- Radiator Relocation Kits
- Portal Gear Lifts
- Wheel Spacers
- Tow Hooks
- Control Arm Link Kits
Damages to vehicle or any other object during the installation, use, or removal of High Lifter products are not covered under this warranty. Normal wear items included with any of the products covered under this Limited Lifetime Warranty are excluded from coverage. These items include, but are not limited to heim joints, tie rods, bearings, bushings, seals, gaskets, zinc plating, painted and powder coated fi nishes. Other exclusions of coverage under this warranty include, but are not limited to: damage or product failure due to improper installation, lack of maintenance, product modifi cation, abuse, collision or use on vehicles for which product was not designed, repairs performed by anyone other than approved High Lifter personnel or made using non-High Lifter components. This warranty is valid for the original purchaser only and is non-transferable. High Lifter reserves the right to inspect any product before determining if the claim is valid and covered under this warranty. Claims determined to be caused by reasons other than a manufacturer defect will be rejected and an estimate for repair or cost of a replacement product if a repair is not possible, will be provided. This warranty is exclusive and is in lieu of any implied warranty of merchantability, fi tness for a particular purpose or other warranty of quality, whether express or implied, except the warranty of title.
WARRANTY PROCESSING
If you suspect your product is defective, DO NOT disassemble the product to determine the cause without prior approval as it may void your warranty status. This is especially true with our Portal Gear Lift. To begin the claim process, please e-mail our warranty team at [email protected] and include the following in the e-mail
- Your full name, address and contact phone number.
- The year, make and model of your vehicle
- The part number of the product
- Photos of the product installed, and vehicle product is installed on
- Proof of Purchase (Required for all warranty claims and you must be the original purchaser)
Once a claim is created, you will receive a return authorization number (RMA). Write this number on the outside of the box containing your defective product and include it along with your name and contact information inside the box. Product must be returned in the original box or a box of equal strength and packaging. Product sent without an RMA number visible on the outside of the box or sent COD will be refused. Ship your product to the following address: High Lifter Products, Inc. Attn: Returns 780 Professional Dr N Shreveport, LA 71105 Once your product is received, we often have your replacement or repaired product shipped back to you within 3-business days of receiving it. Please note that High Lifter is not responsible for shipping charges on product returned for warranty or repair, including duties and fees required by those residing outside the United States.



















