User Manual
2.4GHz Wireless Guitar System

Thank you for choosing our product, a well designed wireless audio transmitter and receiver with 2.4GHZ transmission band, lossless tone quality, low latency and high THD. No need to pair, convenient and user-friendly. Four different group of devices can be used under the same circumstance. A 282° rotating head is designed to suit almost all musical instrument interface. High capacity lithium battery can bring more convenience to your play. Hope you enjoy our product.
Attentions
- Do not use it in humid, high temperature, strong vibration and thunderstorm circumstances.
- Do not disassemble, repair or smash the device.
- Other wireless devices or large obstacles might interfere or block signal transmission.
- Power off when the device is not in use.
- Charge the device when it is not in use for a long time just in case the battery enters protected mode. Generally speaking, with the increase of working time, battery storage capacity will decrease gradually, thus the maximum usable time of battery will decrease.
- Power off when charging to speed up charging speed.
- Power off when plug in/out in case the device is damaged.
Product Parameters
Parameter | Description |
Sample Rate | 48K/24bit lossless digital transmission. |
Transmission Band | 2.4GHz ISM |
Transmission Distance | 30 meters outdoors and 15 meters through walls. |
Transmission Latency | 10ms |
THD+Noise | -98dB |
THD | <0.02% |
Dynamic Range | >105dB |
Frequency Response | 20-20KHz; +1dB/-3dB |
Rotation Angle | 282° |
Supported Device Groups | 4 at the same time |
Battery | rechargeable lithium batteries with short-circuit protection. 1 in 2 out TYPE-C USB charge cable |
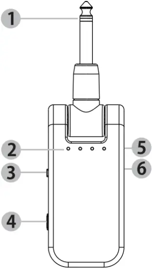
Product Introduction

- Connector: for transmitter connector, plug it in the guitar or other musical instruments.for receiver connector, plug it in the speaker.
- Channel indicator: the light indicates the working channel.
- Channel switch button: press to switch channel. The transmitter and receiver should be in the same channel.
- Power: turn on/off the device.
- Charge indicator: the light is on when being charged and is out when it is fully charged.
- Charge interface: TYPE-C USB interface. The data cable can charge the transmitter and receiver at the same time.
A dual-ended USB cable charges both the transmitter and receiver.

How to Use
1. Plug the transmitter in your guitar and plug the receiver in your speaker, turn on the devices and choose channel 1.

2. Play the guitar, you will hear the sound from the speaker. Just so easy!
3. Our device support four different group of devices in use under the same circumstances. All you need is to choose different channel.

channel-1 channel-2 channel-3 channel-4
in the same space
4. Our transmitter can transmit signal to more than one receiver.

FAQ
- Q: The device can not be turned on?
A: Maybe the battery enters into protected mode due to not being used for a long time, Please charge it to activate the battery. - Q: The device can not be charged?
A Maybe because the battery is in protected mode. It need to be charged over 10 minutes to be activated. - Q: There is strange noise when the device is in use?
A: That is probably because the signal is interfered by other wireless device or blocked by obstacles. Please exclude these factors and make sure the transmission distance is within 30 meters. If these don’t work, switch to another channel. - Q: The device has no sound ?
A: Turn up the volume of guitar and speaker. make sure the transmitter and receiver are in the same working channel. If these do not work, switch to another channel.
This device complies with part 15 of the FCC Rules. Operation is subject to the following two conditions: (1) this device may not cause harmful interference, and (2) this device must accept any interference received, including interference that may cause undesired operation.
Any changes or modifications not expressly approved by the party responsible for compliance could void the user’s authority to operate the equipment.
NOTE: This equipment has been tested and found to comply with the limits for a Class B digital device, pursuant to Part 15 of the FCC Rules. These limits are designed to provide reasonable protection against harmful interference in a residential installation. This equipment generates, uses and can radiate radio frequency energy and, if not installed and used in accordance with the instructions, may cause harmful interference to radio communications. However, there is no guarantee that interference will not occur in a particular installation.
If this equipment does cause harmful interference to radio or television reception, which can be determined by turning the equipment off and on, the user is encouraged to try to correct the interference by one or more of the following measures:
— Reorient or relocate the receiving antenna.
— Increase the separation between the equipment and receiver.
— Connect the equipment into an outlet on a circuit different from that to which the receiver is connected.
— Consult the dealer or an experienced radio/TV technician for help.
The device has been evaluated to meet general RF exposure requirement. The device can be used in portable exposure condition without restriction


















