vetus EAIR040 Air Cooled E Air Electric Propulsion Motor

- Make sure that the user of the vessel is supplied with the owner’s manual.
Safety
Warning indications
- Where applicable, the following warning indications are used in this manual in connection with safety:
Danger
Indicates that great potential danger exists that can lead to serious injury or death.
Warning
Indicates that a potential danger that can lead to injury exists.
Caution
Indicates that the usage procedures, actions etc. concerned can result in serious damage to or destruction of the engine. Some CAUTION indications also advise that a potential danger exists that can lead to serious injury or death.
Note
Emphasises important procedures, circumstances etc.
Symbols
Indicates that the relevant procedure must be carried out. Indicates that a particular action is forbidden. Share these safety instructions with all users. General rules and laws concerning safety and accident prevention must always be observed.
Introduction
This manual gives guidelines for installing a VETUS E-Air, air-cooled, electric motor (48 VDC), type ‘EAIR040’ and ‘EAIR060’. The quality of the installation is decisive for the reliability of the E-Air system. Almost all faults can be traced back to errors or inaccuracies during installation. It is therefore imperative that the steps given in the installation instructions are followed in full during the installation process and checked afterward.
The E-Drive system consists of five modules:
- Propulsion
- Control
- Energy monitoring
- Energy storage
- Energy supply
Several choices and combinations are possible within these modules.
Note
Refer to the installation manuals of all components before using the E-Drive system.
Unauthorised modifications exclude the factory’s liability for any resulting damage. Depending on wind area, displacement, propeller, battery pack size and shape of the underwater hull, the power delivered by the electric motor will give a different result on each vessel. The nominal rated power output is only achievable under optimum conditions:
- During use ensure the correct battery voltage is available.
- The installation is carried out in compliance with the recommendations given in this installation instruction, in particular with regard to:
- Sufficiently large diameter of the battery cables so that voltage drop is reduced to a minimum.
- The inflow to the propeller.
- Alignment of the propeller shaft system.
Warning
Never work on the electrical system while it is energized.
Warning
Changing over the plus (+) and minus (-) connections will cause irreparable damage to the installation.
Note
Check for possible leakage immediately after the ship has been launched.
Note
After installation of the system, before commissioning, check the following points:
- Flexible motor mounts and brackets
- All hose and cable connections, bolts, nuts and glands.
Installation form
Go to: www.vetus.com/service-support and download the installation form.
Note
In order to make a warranty claim, please complete the installation form in full and send the form to: [email protected] The serial number of the MCV (Motor Controller VETUS) and the engine are visible on the packaging and on this manual.
Motor installation
Motor compartment
The motor should be installed in a dry, well-ventilated area.
Warning
The ambient temperature should not exceed 50 °C. Ensure adequate ventilation. Supply cool air and discharge warm air.
Motor support
All components of the propulsion system must be properly aligned to ensure correct operation. The foundation must be sufficiently rigid to maintain this under all conditions.
Note
The E-Air motor is designed to withstand the thrust generated by the propeller. A thrust bearing is not necessary.When determining the dimensions of the foundation, take into account a clearance of at least 10 mm (3/8″) between the motor and the foundation. The mounting surfaces of the motor supports must all be at the same level. This will prevent distortion of the rubber elements of the flexible motor supports. The motor must be kept free of bilge water at all times.
Flexible mounting
The flexible installation is specially adapted to the characteristics of the motor. Use the supplied flexible motor supports (vibration dampers); these have been specially developed for electric propulsion engines. The vibration dampers must be fitted without tension in the longitudinal direction. Distorted vibration dampers can transmit vibration and noise to the boat.The mounting brackets are easily adjustable in height and at an angle of 0° or 8°. This makes re-motorization and connection to an existing propeller shaft easy.
Note
Upon receipt, the motor brackets are in the transport position. Dismantle the brackets, turn them half a turn and reassemble them.
For the front and rear of the motor setup, the compression on the left and right must be the same. A difference in compression between the front and rear is permitted and often unavoidable.
- Place the motor on the motor supports and wait 48 hours before starting the alignment. If it is not possible to wait that long, set the supports so that the motor is 0.75 mm (1/32″) too high.
Note
It is very important that the E-Air motor and the propeller shaft are in line. Check the alignment again when the boat is in the water.
Correct adjustment of the vibration dampers can be achieved as follows:
- Set up the motor so that it is more or less in line with the propeller shaft, using the adjuster nuts on the vibration dampers, do NOT yet connect the propeller shaft with the hub of the coupling.
- Lift the motor at the front so that both front supports just come free of the vibration damper nuts.
- Lower the motor again and adjust the nuts so that both motor supports rest on the nuts at the same time.
- Repeat this at the rear end of the motor.
- When the vibration dampers have been adjusted correctly, the motor can be aligned by turning both the adjuster nuts fore and aft, left and right, exactly the same number of turns.
- Tighten the nuts to the torque indicated.

Propeller shaft installation
Propeller shaft coupling
Connect the E-Air motor to the propeller shaft using a flexible coupling type VETUS Combiflex (1225/1230) or Bullflex (0120/0125).
Propeller shaft
The propeller shaft should have a diameter of at least 25 mm. Because of the axial movement of the propeller shaft, there must be a minimum free space between:
- The outer bearing and the propeller hub,
- The inner bearing and the coupling hub.
- Lock the propeller shaft cap nut with a lock plate.

- Lock the propeller shaft cap nut with a lock plate.
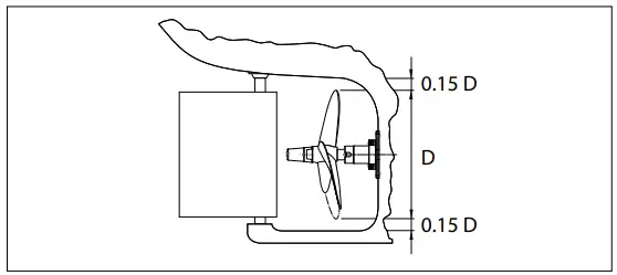
Propeller aperture
- The space between the tips of the propeller blades and the bottom of the boat should be at least 15% of the propeller diameter.
- The distance from propeller hub to outer bearing must be at least 10 mm (3/8”), but not more than 60 mm (2 3/8”).
- It is useful when working on the motor if the shaft can be pushed about 10 cm (4”) backwards.
- The water must be able to flow freely over a distance of at least 10 cm (4”) forward and aft of the propeller.

Propeller
Design of the propeller and propeller aperture are very important for the cruising characteristics of the vessel. It is especially important for a vessel with electrical propulsion that the propeller size is selected correctly. Consult your VETUS dealer to choose the correct propeller. You can choose for both a left and right turning screw. Via the control panel, the direction of rotation of the motor can be linked to the movement of the control, so that forward operation also results in forward movement of the boat.
Electrical System
The electrical wiring between the electric motor and the motor controller has already been installed. The installation has an insulated return.
Warning
Keeps battery cables free from the E-Air housing and sharp edges
MCV boosted charge function
Using the MCV boosted charge function, the 48 Volt E-Air motor can be used in an (existing) 24 V onboard network. By connecting a 24 Volt battery bank to the MCV boosted charge connection, the 48 Volt, E-Air, battery bank is charged. An additional charging facility is not required. See page 72 for the connection diagram.
Warning
The MCV boosted charge function is only suitable for lead-acid batteries as standard.
Batteries
VETUS can provide maintenance-free batteries of the type AGM (Absorbed Glass Mat), that, with approx. 375 charge cycles to a depth of discharge of 70%, are excellently suited to electric propulsion. Starter batteries are not suitable for an electric propulsion system. Instead, semi-traction or traction batteries should be used.
Battery capacity
The following points play an important role in determining the battery capacity:
- Boat characteristics (length of waterline, weight, hull shape)
- Sailing style
- Desired range
- Battery type
Table ‘Power consumption indication displacement vessel’ on page 16 gives an indication of the power consumption (energy consumption) of a displacement vessel at different lengths and speeds. The power consumption can then be used to calculate the sailing time. See example below:
Determining battery capacity
For a boat with a length of 6 meters and a desired sailing speed of 8.8 km/h (4.7 knots) an indicative power input of 2.1 kW applies. The desired sailing time is set at a minimum of 6 hours, continuous sailing. This results in a required battery capacity of 2.1 x 6 = 12.6 kWh.
Determine battery pack
A battery pack of eight AGM batteries, C20 value 220 Ah, 12 V series parallel (2 x 12 V and 4 x 220 Ah) switched to a 24 V battery pack gives a usable battery capacity of ((220 x 4) x (2 x12) x 0.7) = 14.8 kWh.
Sailing time calculation (indication)
Based on the energy consumption of 2.1 kW, this gives a sailing time of (14.8 / 2.1) more than 7 hours.
Battery installation
The following points must be taken into account when installing the batteries:
Warning
Always follow the warning and safety instructions as stated in the battery manual.
- Batteries must be installed in a dry, well-ventilated space.
- Ventilation is important because small quantities of explosive gas can be produced while charging. If necessary, install a system of forced ventilation.
- Always install batteries above the bilge water level.
- Batteries must be fixed securely to prevent damage to the casing. Preferably fit batteries in a tray.
- Ambient temperature may not exceed 60 degrees C (140 degrees F). Never place batteries in direct sunlight!
- The batteries must be easily accessible for maintenance.
- Never fit switches or other electrical equipment in the vicinity of batteries; possible sparks could cause an explosion.
- Prevent metal objects from accidentally coming into contact with a battery terminal.
Main current cables
- Connect the motor to the batteries as shown in the diagrams, see page 72.
- Fit the fuse supplied and a main switch in the positive (+) cable.
Warning
When calculating the cable cross-sections, take into account a maximum permissible voltage drop of 5%. Never use smaller cable cross-sections than indicated in the table below.
When the batteries are not being used or not charged, it is recommended that they are disconnected from each other using an isolating switch.
Warning
NEVER fit the fuse, main switch or isolating switches in the battery space! Take the following points into account when installing the battery cables:
- Fit the cables in the shortest possible way from the batteries to motors.
- With a long cable length, bundle the ‘+’ and ‘-’ cables together.
- Install the ‘+’ and ‘-’ preferably in such a way that the total length of each cable is the same. This ensures an equal load on each battery.
- Ensure that the cables do not run through any bilge water.
- Ensure that the cables cannot come into contact with any sharp edges.
- Fix the cables in such a way to prevent wear or abrasion caused by vibration.
- Use cable terminals to connect the cables to switches, fuse and motor.
- Preferably fit cable terminals by crimping.
- Use good quality battery terminals to connect the cables to the battery posts.
- Tighten bolts securely to ensure a good connection.
- Do not use spring-loaded battery terminals!
- Grease the battery posts and battery terminals with Vaseline to prevent corrosion.
- Never change over the connector cables.
- Before leaving, check the charge status of the batteries just as you would check the tank capacity of a diesel engine.
Warning
Changing over the plus (+) and minus (-) connections will cause irreparable damage to the installation.
Warning
NEVER short-circuit the batteries by connecting the plus (+) pole to the minus (-) pole. Connecting the main current cables
- Switch all electrical equipment off.
- Prevent any short circuits caused by tools, for example.
- Connect the positive (+) cable first, then the negative.
Power consumption indication displacement vessel

Internal fuse
There is an internal fuse on the controller in the connection box. This fuse protects the CAN bus control of the inverter.
Note
Always replace a defect fuse by a fuse of the same value (5 A blade fuse).
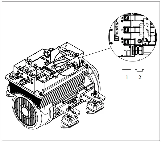
Configuration of one or more motors
By default, the E-Air motor is configured for use in a single-motor propulsion system. Only if multiple motors are installed one of the E-Air motors must be configured.
Danger
Only work on the system when the motor is stopped and the electrical system is switched off.
- Remove the cover and flip the switch. It is located next to the controller.
- Move the switch from position 1 to position 2. The motor is now configured for use in a multi-motor system. Make sure motor 1 is in position 1 and motor 2 is in position 2.
- Replace the cover.

Note
The direction of rotation of the motor can be set on the control panel.
Connecting CAN bus (control current) cables
See diagrams from page 75 if multiple panels have to be connected.
Note
The CAN bus power supply must always be connected to 12 Volt (≥10 V, ≤16 V). Use the E-Drive MPE1KB key switch as power supply.
Caution
As required by international standards, all neutral (negative) conductors of the DC system must be connected to one central point. This prevents not only dangerous situations and corrosion problems, but also error messages in the CAN bus system.
- Fokkerstraat 571 – 3125 BD Schiedam
- Holland
- Tel.: +31 (0)88 4884700 – [email protected] – www.vetus.com
References
Making boating easy and carefree all over the world - VETUS
Service og Support - VETUS
Service & Unterstützung - VETUS
Servicio apoyo - VETUS
Palvelu & Tuki - VETUS
Service après vente - VETUS
Servizio e Supporto - VETUS
Service & Support - VETUS
Serwis i wsparcie - VETUS
Service & Support - VETUS
Service och support - VETUS






















