SEALEY ATV1000W ATV Winch 1000kg Line Pull 12V Instructions
Thank you for purchasing a Sealy product. Manufactured to a high standard, this product will, if used according to these instructions, and properly maintained, give you years of trouble free performance.
IMPORTANT: PLEASE READ THESE INSTRUCTIONS CAREFULLY. NOTE THE SAFE OPERATIONAL REQUIREMENTS, WARNINGS & CAUTIONS. USE THE PRODUCT CORRECTLY AND WITH CARE FOR THE PURPOSE FOR WHICH IT IS INTENDED. FAILURE TO DO SO MAY CAUSE DAMAGE AND/OR PERSONAL INJURY AND WILL INVALIDATE THE WARRANTY. KEEP THESE INSTRUCTIONS SAFE FOR FUTURE USE.
- Refer to instructions

- Wear eye protection

- Wear protective loves

SAFETY
- WARNING! Winching a vehicle, especially with a steel cable, has an inherent danger element to it, and there is always some risk of injury. Proper training is highly advised and constant risk assessment needs to be undertaken.
- WARNING! Never connect DC powered winches to AC current. Motor damage or fatal shock may occur.
- DO NOT lift or hoist loads over people. DO NOT lift loads vertically. The winch was designed for ground use only.
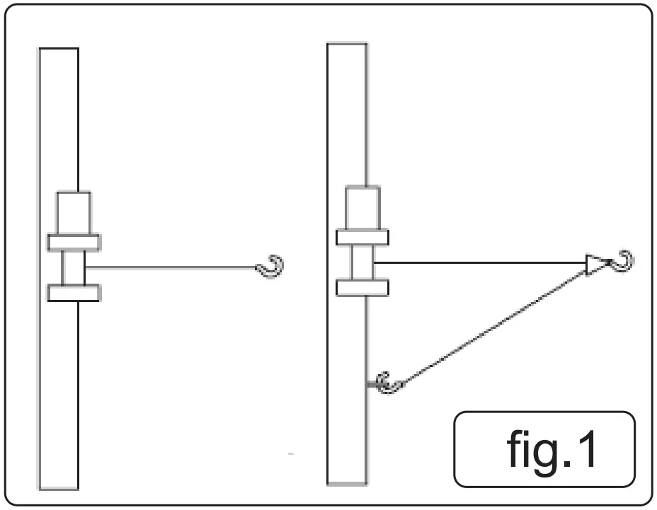
- DO NOT overload. Be sure all equipment used meets the winch’s maximum line pull rating. We recommend using the pulley block option to double line the wire rope (see fig.1). Double line with a pulley block to reduce the load on the winch, wire rope and battery.

When double lining, pulley blocks should be rated to a minimum of two times the winch’s line pull rating. The cable may break before the winch stalls. For heavy loads use a pulley block to reduce the load on the cable. - DO NOT immerse the winch in water. Doing so will immediately effect load holding and brake efficiency and in time will damage the motor and cause accelerated gearbox wear invalidating the warranty.
- DO NOT operate the winch with less than 5 turns of wire rope around the winch drum, since the wire rope end may not withstand the full load.
- DO NOT pull from an angle for too long and allow the cable to over spool on one side of the drum, to a point where the wire rope comes into contact with the tie bars, because this can cause the tie bars to break from the castings, damage the wire rope and invalidate the warranty.
- WARNING! The winch’s line pull capacity is the maximum line pull of the first layer. Never operate a winch by pulling a load that is at or over the rated capacity.
- DO NOT hook the wire cable back to itself because it could damage the wire rope. Use a Self Recovery Kit, (see fig.2) contact your stockist for full details.

- Make sure the winch is securely mounted on the vehicle or bracket before operation.
- Before moving a load inspect the wire rope. Prevent kinks and uneven wire layering before they occur. Loosened wire rope must be properly tensioned under a load of about 100lbs (45.4kg).
- Position a Wire Rope Dampener (available as an optional extra) over the wire rope near the hook end when pulling, as this will slow the snap back of a broken wire rope and prevent serious injury and/or damage.
- DO NOT move your vehicle to assist the winch in pulling the load. It will be easy to overload, and cause wire rope damage.
- DO NOT enter the danger zone. Keep away from the danger zone during operation. The danger zone is the area of the winch drum, the fairlead (if fitted), the wire rope, the pulley block (if used), and the hook.
- DO NOT approach or span the wire rope when the winch is under load.
- When using the winch to move a load, place the vehicle transmission in neutral, apply the hand brake and chock all wheels. The vehicle engine should be running during winch operation so that the battery is fully charged. Never use the winch if there is any doubt as to the efficiency of the battery.
- DO NOT disconnect the free spool clutch when there is load on the winch.
- After operation release the load immediately. DO NOT allow the cable to tighten anymore.
- Inspect winch, wire rope, hooks and other accessories frequently. A mashed, pinched, kinked or frayed wire rope with broken strands should be replaced at once because a damaged wire rope has a reduced load carrying capability and could break easily.
- Keep tension on the cable to re-spool the cable on the drum tightly after operating. It must be respooled with a load of about 45.4kg (100lbs).
- DANGER! DO NOT allow the wire rope to slide through your hands, use heavy rigger gloves when handling wire rope.
- Disconnect the clutch first then use the hand saver strap to hitch the hook to pull the wire rope. DO NOT pull the wire rope using your finger and DO NOT put your finger through the hook.
- DO NOT operate the winch when under the influence of drugs, alcohol or medication.
- If there is something wrong with the winch, cut the power at once, then check it carefully. If required, return it to your stockist for servicing.
- Wear eye protection, insulated work clothes, non-slip shoes, keep hair tied up and wear rigger gloves. Remove all jewellery.
- DO NOT machine or alter the winch in any way.
- Take good care of the winch when not in use.
- WARNING! Disconnect the battery before working in or around the fairlead or the wire rope drum, (the danger zone). Never tuck the remote under your arm or allow anyone to hold it when you are in the danger zone, so as to avoid the hand control being accidentally activated.
- WARNING! DO NOT use the winch to hold loads in place. Use other means of holding loads such as tie down straps.
- WARNING! If you are within four feet of the winch DO NOT hold the wire rope and remote control at the same time.
- WARNING! Mount the winch to a firm base. Be sure that your structural support is strong enough to withstand the weight and rated pulling strength of the winch.
NOTE: Whilst mounting orientation is at your discretion, the winch is to be operated with the wire rope in an under wound orientation on the drum. The winch is designed to rope out and rope in, in one direction. DO NOT attempt to reverse the operation of the winch. - WARNING! DO NOT weld or machine any part of the winch, this will weaken it and void the warranty.
- WARNING! Batteries contain explosive gases. The following precautions should be taken before making battery connections: wear eye protection; remove all jewellery; follow the wiring diagram included in the installation instructions; keep spectators away.
In the event of a battery explosion, acid should be washed away as soon as possible, seek medical help immediately. - WARNING! Use of any other accessories or attachments other than those recommended in this instruction manual may result in personal injury or property damage and could void the warranty.
NOTE: The safety precautions and instructions discussed in this manual can’t cover all possible conditions and situations that may occur. It must be understood by the operator that common sense and caution are factors which cannot be built into this product but must be applied by the operator.
INTRODUCTION
Suitable for ATV mounting. 3-Stage planetary gears. 12V DC 1.2hp permanent magnet motor. Pull and turn clutch. 4-way roller fairlead for even distribution of cable onto drum.
SPECIFICATION
- Model No: ATV1000W
- Supply: 12V
- Rated Line Pull: 1000kg / 2200lb
- Motor Power: 0.9kW/1.25hp
- Gear Ratio: 166:1
- Line Speed:
- No Load: 3.3m/min
- Maximum Load: 0.8m/min
- Current Draw:
- No Load: 12A
- Maximum Load: 130A
- Wire Rope Diameter: 4.8mm
- Consumable Parts:
- Wire rope: ATV1000.WR (Ø4.8mm x 12m)
PERFORMANCE
LINE PULL AND LINE SPEED vary according to how much cable is on the drum. The winch is rated at the first layer of cable on the drum. The maximum line pull force will be reduced by subsequent layers of cable on the drum. Charts below illustrate the maximum line force at increasing cable layers.
| Line speed and motor current (first layer) | |||||
| Line Pull | lbs | 0 | 1000 | 2000 | 3000 |
| kgs | 0 | 454 | 907 | 1361 | |
| Line Speed | fpm | 10.8 | 8.2 | 3.6 | 2.6 |
| mpm | 3.3 | 2.5 | 1.1 | 0.8 | |
| Motor Current | Amps | 12 | 60 | 100 | 130 |
| Line pull and Cable capacity | ||||||
| Layer of cable | 1 | 2 | 3 | 4 | 5 | |
| Rated line pull per layer | lbs | 3000 | 2250 | 1890 | 1590 | 1370 |
| kgs | 1361 | 1022 | 859 | 722 | 622 | |
| Cable capacity per layer | fit | 4.9 | 11.5 | 19.3 | 28.5 | 30.1 |
| m | 1.5 | 3.5 | 5.9 | 8.7 | 9.2 | |
INSTALLATION
WINCH INSTALLATION
Mount the winch on the vehicle or other fixed installation by using M8 x1.25 x 30mm screws, M8 nuts, Ø8mm flat and spring washers.
- WARNING! Mount the winch so that the wire rope under winds. Improper mounting could damage your winch and void your warranty. See fig.4.

ELECTRICAL INSTALLATION
(REFER TO FIG.5)
WARNING! These winches work on standard automotive 12V DC only, never connect to a 230V mains, as solenoid burnout or fatal shock may occur.
NOTE: Make sure the battery is disconnected.
- Connect the red wire of the switch to positive (+) terminal of the battery.
- Connect the shorter of the black and red wires of the control box to the relevant terminals on the motor.
- Connect the black wire of the control box to the negative terminal on the battery.
- Connect the red wire of the control box to the positive terminal of the battery.
NOTE: Your battery must be kept in good condition. Make sure the battery cables are not drawn across any surfaces which could possibly damage them. Corrosion on electrical connections will reduce performance or may cause a short circuit. Keep all connections clean especially in the remote control switch and receptacle. In salty environments use silicon sealer to protect from corrosion.
WARNING! Double check the wiring. Incorrect wiring could result in motor burn out and/or personal injury.
- Check the rotational direction of the drum. Select the frees pool position with the clutch knob, pull out some cable from the drum, and then select the ‘In’ position. Press the ‘Cable out’ button on the hand held switch, if the cable is paying out, then the winch is correctly connected. If it is paying in, the cables need swapping round the other way.
OPERATION
- WARNING! The switch assembly must be kept free of dirt and moisture to ensure safe operation.
- Turn the clutch knob so that the drum can turn freely by hand.
- Use the hand saver strap to pull the cable’s hook so that it can be attached to the load. See fig.3.

- WARNING! Check that at least five turns of wire rope remain on the drum before operation.
- Switch the clutch knob back to the ‘In’ position, (so that the drum can’t be turned by hand).
- WARNING! The clutch must be fully engaged before winching. Never operate the clutch whilst the drum is turning. DO NOT re-adjust the clutch knob, as it has been adjusted and permanently locked in place with a thread locking compound in the factory.
- Press the cable ‘In’ button on the hand held unit, to pay in the cable and the ‘Out’ button to pay the cable out.
- DANGER! Never handle the wire rope or rigging while anyone else is holding the hand held control switch.
- WARNING! Always use the hand saver to pull the hook, DO NOT hold the hook with your hand. This is important not only when reeling in wire rope, but also when removing wire rope from the winch under power.


- Equipping the winch with its roller fairlead (supplied) will substantially reduce wear on the wire rope during angle pulls, because rollers eliminate heavy rubbing and abrasion to the wire rope, see fig.8.

NOTE: DO NOT winch your vehicle in gear or in park, which would damage your vehicle’s transmission. - DO NOT wrap the wire rope around an object and hook the cable back onto itself, this can cause damage to the object being pulled and kink or fray the wire rope. (Use a Self Recovery Kit).
- Keep hands, clothing, hair and jeweler clear of the drum and cable when winching.
- DO NOT use the winch if the cable is frayed, kinked or damaged.
- DO NOT allow anyone to stand near the cable, or in line with the cable or behind the winch while it is under power. If the cable should slip or break it can suddenly whip back towards the winch, causing great danger for anyone in the area. Always stand well to the side while winding and use a Wire Rope Dampener.
- DO NOT leave the switch plugged in when the winch is not in use.
- CHECK THE WINCH THOROUGHLY AND CAREFULLY BEFORE OPERATING!
MAINTENANCE
- It is strongly recommended that the winch is used regularly (once a month). Simply power out 12m of cable, free spool 5m then power back in. This will keep all the components in good working condition so that the winch can be relied on when needed.
ENVIRONMENT PROTECTION
Recycle unwanted materials instead of disposing of them as waste. All tools, accessories and packaging should be sorted, taken to a recycling centre and disposed of in a manner which is compatible with the environment. When the product becomes completely unserviceable and requires disposal, drain any fluids (if applicable) into approved containers and dispose of the product and fluids according to local regulations.
WEEE REGULATIONS
Dispose of this product at the end of its working life in compliance with the EU Directive on Waste Electrical and Electronic Equipment (WEEE). When the product is no longer required, it must be disposed of in an environmentally protective way. Contact your local solid waste authority for recycling information.
Note: It is our policy to continually improve products and as such we reserve the right to alter data, specifications and component parts without prior notice.
Important: No Liability is accepted for incorrect use of this product.
Warranty: Guarantee is 12 months from purchase date, proof of which is required for any claim.
Support
Sealey Group, Kempson Way, Suffolk Business Park, Bury St Edmunds, Suffolk. IP32 7AR
01284 757500
01284 703534
[email protected]
www.sealey.co.uk


























