TEC 458 5 Gallon Preservative Applicator
Owner’s Manual
Introduction
Thank you for purchasing a Harvest Tec 458 electronic applicator designed specifically for the application of hay preservatives on conventional balers as well as round balers. By following this installation and operating instructions, the effectiveness of the hay preservative and the applicator’s life will be maximized. For applications of products other than hay preservatives or the use of this applicator on implements other than hay balers, contact your dealer for further recommendations.
Step 1. Installation of Applicator’s Main Frame on the Baler
Conventional Square Balers
The preferred location is on the top shield toward the baler’s right-hand side. Position the frame so that the four base mounting bolts can be reached from the underside of the top shield once they have been drilled. Locate the frame so that the product jug can easily be placed in the frame. On electronic units, the pressure gauge may have to be rotated to be visible from the seat of the tractor. After making sure that the mounting holes are clear of moving parts, and electrical and hydraulic lines, mark and drill the 3/8” holes. Use the supplied 5/16” bolts washers, locks, and nuts to bolt the unit down. 
Round Balers with Platforms
Some round balers have a platform that will allow you to mount the applicator just like the conventional balers. If there is, use the Conventional Square Balers Mounting instructions. 
Round Balers without Platforms
If your round baler does not have a flat platform big enough for the applicator’s frame you will need to use the two triangle mounts. First, locate a strong structural frame piece of the baler. This may be the tongue of the baler or a support piece that runs up the front of the baler. Attach the triangle brackets to the machine so they are next to each other. After making sure that the mounting holes are clear of moving parts, and electrical and hydraulic lines, mark and drill the four 3/8” holes. (Hardware not included). This will make a shelf that the applicator can sit on. Place the applicator main frame on the brackets and transfer the holes to the bottom of the main frame. Drill the holes in the main frame with a 3/8” drill. Attach the main frame to the triangle brackets with the included 5/16” bolts, washers, locks, and nuts. On electronic units, the pressure gauge may have to be rotated to be visible from the tractors seat.
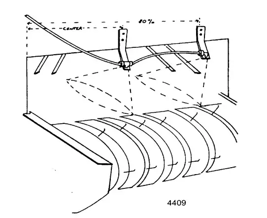
Step 2. Location of the Spray Tips on the Baler
Nozzle holders are provided for each required spray tip: Locate the tips and adjust the direction of the spray by bending the nozzle holders. Adjustable wrenches work well for this. Use the following guidelines for locating tips. (Note: 458’s are shipped as a two nozzle set up. If your baler requires more you will need to order additional parts)
Conventional Square Balers
Mount the left-hand nozzle. Located the nozzle so that it is approximately 80% across the width of the pick-up head. Example: If the head is 60” wide, locate the nozzle 48” from the right side of the head (60” x 80% = 48”) Bend the nozzle bar in so that the tip is pointed in toward the bottom of the gathering chamber and is about 16” above the sheet metal base of the chamber. Twist the nozzle so that the tip is tilted 45 degrees from horizontal.
Mount the right-hand nozzle. Locate the nozzle so that it is approximately centered on the pick-up head. Again, Bend the nozzle bar in so that the tip is pointed toward the bottom of the gathering chamber and the tip will be about 16” above the sheet metal base of the chamber. Twist the nozzle so that the tip is tilted 45 degrees from the horizontal.
Round Balers
On most Large Round balers the crossbar on the hay compressor above the pick-up head provides a mounting point by wrapping the nozzle holders around the bar. Space the nozzles by the following chart.
| Pick-Up Head Width | Left Side | Middle | Right |
| 48” | 12” from left | Center | 12” from right |
| 60” | 15” from left | Center | 15” from right |
| 72” | 15” from left | Center | 15” from the right. |

Bend the nozzle bars up so that the tip sprays in the generally horizontal direction and is pointed toward the intake rolls of the baler at the end of the pick-up head. The tips should be located so that they will be somewhere between 14” and 18” from the normal path of hay.
Step 3. Completion of the Plumbing.
Attach the ¼” tubing between each nozzle strap and then run it to the discharge of the gauge. The hose connections are made by loosening the fitting nuts, sliding the hose into the fitting until it reaches the stop, and then tightening the nut. TIGHTEN NUTS BY HAND ONLY! After making a connection, test it by pulling firmly on the hose. If it releases, Cut a short section of the hose off and try again. Secure the line with the wraps and jiffy clips provided. Make sure tubing is clear from moving parts so it will not get caught in passing hay or hydraulic lines that could melt the tubing.
Step 4. Location of the Controls and Wiring to the Implement.
A. Location of Control Box
Locate the control where it can be easily reached from the tractor’s seat. Adjustments for baling speed and windrow conditions can be made as the baler is operated.
B. Wiring
Route the wire to the starter solenoid on all 12v tractors. Connect the green lead marked+ to the hot terminal on the starter. Connect the black lead to a good ground. DO NOT REVERSE THE LEADS. CONNECTION OF THE GROUND-LEAD TO A HOT TERMINAL ON THE TRACTOR WILL TRIP THE CIRCUIT BREAKER. Be sure to use a voltmeter to verify that you do have 12 volts running to the box.
NOTE: For tractors with 24v starters (most John Deere 3020 and 4020 types of diesel,) connect the power leads to the tractor’s right-hand battery. Do not connect the leads to the starter.
Connect the lead marked + to the positive battery terminal and the lead marked- to the negative on the battery. Wiring connections to the battery normally results in corrosion; the terminal coating is recommended.
CAUTION: Do not run a pump or use an electronic control box directly off a battery charger. For stationary use, the applicator can be connected to a new battery and the battery connected to a charger.
C. BOX ADJUSTMENT
Electronic units control application rates by regulating pump speed. The control box is factory set, but from time to time may require readjustment. First TURN OFF POWER.
Second, remove the control box cover. Lastly, turn the power back on and make the following adjustments:
- MAXIMUM OUTPUT: Can be adjusted with the right-hand adjusting dial. The clockwise adjustment will increase output. With the speed dial turned up do not exceed 90 PSI during operation.
- MINIMUM OUTPUT: Set with red tips in and control all the way down. Adjust with the left-hand adjusting dial. Counter-clock-wise adjustment will decrease output. Set to 10 PSI at the low end.
Make adjustments with a small screwdriver. The settings are sensitive and only a small amount of adjustment turn is required.
Step 5. Operation
The 458 applicator is very simple to operate. After installing the applicator, fill a jug with 2 gallons of water. With control box connected to the applicator and the power cord hooked to the 12-volt battery, we can start the test. First, flip on the toggle switch. You might hear the buzzing of the motor. Turn the dial on the control box until the gauge starts to climb. By turning the dial clockwise the pressure will go up. By turning the dial counterclockwise the pressure will decrease. With the applicator spraying at about 30 PSI, look for leaks at all the hose connections and fittings. Using water in this step instead of chemicals will save you from wasting chemicals and making a mess if leaks are found.
When you are comfortable with the operation of the controls you can set the applicator to the amount of chemical you would like it to put on.
Step 6. Calibration
There are three things that you need to know when calibrating your applicator. First, you need to know how many tons per hour you bale. Second, you need to know the rate, or how many pounds of product to apply for a given ton per hour. Finally, you need to know what tips to use and at what pressure to set the gauge.
DETERMINING TONS PER HOUR
Conventional Small Square
- Bale for three minutes.
- Count the number of bales made in those three minutes.
- Weigh several bales to determine the average weight.
- Use the bale rate chart on the following page to determine the tons you are baling per hour.
Example: You baled 11 bales in three minutes. After weighing some of the bales you found the average bale weight to be 55 lbs. Using the following chart cross reference 11 bales and 55lbs and you will find the rate to be 6.0

DETERMINING THE RATE OF CHEMICAL
The number of pounds of chemical required to be applied to a given ton of hay depends on the moisture and the type of chemical used. The moisture of the hay is important in determining how many chemicals to use. The wetter the hay the more product is needed, the dryer the hay the less product is needed. By knowing the moisture, you can make sure you are treating the hay correctly.
Underapplying will save money but spoilage most likely occurs. Over-applying will waste money however, the hay will be saved. Some chemicals require more or less to treat the same amount of hay. To find the exact amount required, for given hay moisture, refer to the label on the drum or contact the manufacturer. Harvest Tec applicators come with three sets of tips. If your chemical requires rates other than what these tips deliver you will need to purchase them through your dealer.
SELECTING TIPS AND SETTING PRESSURE FOR ROUND BALERS
Once you have determined your tons per hour and the amount of chemical needed for the moisture you are applying at, you can select your tips and determine your gauge settings.
- Multiply the tons per hour by the amount of chemical required for the moisture you are applying at. This sum will give you the application rate.
- Select the proper set of tips from the application rate chart and install them.
- For the tips you have selected, you will need to keep the gauge at the recommended PSI to achieve the proper application rate.
- Set the pressure by adjusting the dial on the control box and by reading the pressure of the gauge to match the desired rates. The numbers on the dial are for reference only.
Rate is determined by watching the pressure gauge.
Example: You are baling at 22 tons per hour with your round baler. The moisture that you are baling it requires you to apply 8 pounds per ton. Multiply the 22 tons x 8lbs. = 176lbs. per hour. Using the chart, lbs/hr with three nozzles, you will notice the green set of tips at 35 PSI will give you that output.
CALIBRATION REMINDERS
*Watch the pressure gauge, as the setting will vary with the tractor’s electrical output, temperature, and other factors.
*Check your application rate by measuring the product used against actual tons baled.
REMEMBER, ONLY YOU CAN CONTROL HOW MUCH PRODUCT IS APPLIED AND THAT WILL DETERMINE IF YOUR HAY WILL KEEP!!!
SELECTING TIPS AND SETTING PRESSURE FOR CONVENTIONAL SQUARE
Once you have determined your tons per hour and the amount of chemical needed for the moisture
you are applying at, you can select nozzles and determine your gauge settings.
- Multiply the tons per hour by the amount of chemical required for the moisture you are applying at. This sum will give you the application rate.
- Select the proper set of tips from the application rate chart.
- Connect the hose manifold’s check valve to the coupler of the bank of nozzles that where selected. Place the caps on the remaining two couplers.
- For the tips you have selected, you will need to keep the gauge at the recommended PSI to achieve the proper application rate.
- Set the pressure by adjusting the dial on the control box and by reading the pressure of the gauge to match the desired rates. The numbers on the dial are for reference only.
Rate is determined by watching the pressure gauge.
Example: You are baling at 12.5 tons per hour with your conventional square baler. The moisture that you are baling it requires you to apply 8 pounds per ton. Multiply the 12.5 tons x 8lbs. = 100lbs.
per hour. Using the chart, lbs/hr with two nozzles, on page 20, you will notice the medium or pink set of tips at 35 PSI will give you that output.
CALIBRATION REMINDERS
*Watch the pressure gauge, as the setting will vary with the tractor’s electrical output, temperature, and other factors.
*Check your application rate by measuring the product used against actual tons baled.
REMEMBER, ONLY YOU CAN CONTROL HOW MUCH PRODUCT IS APPLIED AND THAT WILL DETERMINE IF YOUR HAY WILL KEEP!!!
GENERAL CALIBRATION CHARTS
POUNDS PER HOUR WITH TWO NOZZLES
| PSI | YELLOW 650033-SS | LOW RED 650050-SS | GREEN 6501-SS | HIGH BLUE 6502-SS | BLACK 6503-SS |
| 15 | 21 | 32 | 64 | 128 | 192 |
| 20 | 25 | 38 | 76 | 152 | 228 |
| 25 | 28 | 42 | 84 | 168 | 252 |
| 30 | 30 | 46 | 92 | 184 | 276 |
| 35 | 33 | 50 | 100 | 200 | 300 |
| 40 | 35 | 53 | 106 | 212 | 318 |
| 45 | 37 | 56 | 112 | 224 | 336 |
| 50 | 38 | 58 | 116 | 232 | 348 |
| 55 | 40 | 61 | 122 | 244 | 366 |
| 60 | 42 | 64 | 128 | 256 | 384 |
POUNDS PER HOUR WITH THREE NOZZLES
| PSI | YELLOW 650067 650033 | RED XR11001 650050 | GREEN XR110015 6501 | BLUE XR11002 6502 | BLACK XR11004 6503 |
| 15 | 53 | 64 | 112 | 192 | 320 |
| 20 | 63 | 76 | 133 | 228 | 380 |
| 25 | 70 | 84 | 147 | 252 | 420 |
| 30 | 77 | 92 | 161 | 276 | 460 |
| 35 | 84 | 100 | 175 | 300 | N/A |
| 40 | 89 | 106 | 186 | 318 | N/A |
| 45 | 94 | 112 | 196 | 336 | N/A |
| 50 | 97 | 116 | 203 | 348 | N/A |
| 55 | 102 | 122 | 214 | 366 | N/A |
| 60 | 107 | 128 | 224 | 384 | N/A |
LITRES PER HOUR WITH TWO NOZZLES
| PSI | RED 650050 | GREEN 6501 | BLUE 6502 |
| 15 | 13.6 | 27.3 | 54.5 |
| 20 | 15.9 | 32.6 | 65.1 |
| 25 | 17.4 | 35.6 | 71.2 |
| 30 | 19.7 | 39.4 | 78.7 |
| 35 | 21.2 | 42.4 | 84.8 |
| 40 | 22.7 | 45.4 | 90.8 |
| 45 | 23.5 | 48.4 | 96.9 |
| 50 | 25 | 50.7 | 101.4 |
| 55 | 26.5 | 53 | 106 |
| 60 | 27.3 | 56 | 112 |
ML PER MINUTE WITH TWO NOZZLES
| PSI | RED 650050 | GREEN 6501 | BLUE 6502 |
| 15 | 230 | 460 | 910 |
| 20 | 270 | 540 | 1090 |
| 25 | 290 | 590 | 1190 |
| 30 | 330 | 660 | 1310 |
| 35 | 350 | 710 | 1410 |
| 40 | 380 | 760 | 1510 |
| 45 | 390 | 810 | 1620 |
| 50 | 420 | 850 | 1690 |
| 55 | 440 | 880 | 1770 |
| 60 | 460 | 930 | 1870 |
ELECTRONIC CONTROL BOX WIRING DIAGRAM

| Relay wiring order: 1: Blue 2: Black 3: Orange 4: Green 5: Not Used | Hay Indicator wiring order: 1: Brown 2: Blue 3: Black 4: White (not used) |
ROUTINE MAINTENANCE
- Clean the tip strainers and main strainer every 10 hours of operation or more frequently if required.
- Depending on the product being used, the system may need to be flushed with water at a regular interval (consult with the manufacturer of the chemical.)
- Although the pump can run dry, extended operation of a dry pump will increase wear. Watch the preservative level in the tank.
- Cover the electronic cab control box on open station tractors if left outside.
- Pump performance may start to decline after 400 hours of use. Rebuilding the pump is a simple procedure if the motor is not damaged. Order pump rebuilding kit #007- 4581.
- If you are using bacterial inoculants, flush out the system daily after each use.
WINTER STORAGE
- Thoroughly flush the system with water.
- Remove the intake line and run dry until the water has cleared out of the intake side.
- Remove the red plug from the bottom of the pump, drain, and run the pump for 30 seconds or until it is dry.
- Drain all lines on the outlet side.
- Never use oils or alcohol-based anti-freeze in the system.
- For spring start-up, or anytime the pump is frozen, turn off the power immediately to avoid burning the motor out. The pump head can be disassembled and freed or rebuilt in most cases.
TROUBLESHOOTING CHECKS
| PROBLEM | POSSIBLE CAUSE | SOLUTION |
| Pump will not run. | 1. Circuit breaker tripped on electronic unit. | 1. Check for short, low voltage, and reset breakers. |
| 2. Pump locked up. | 2. Clean or rebuild pump if motor is OK. | |
| 3. Damaged wire. | 3. Repair damaged wire. | |
| 4. Vapor locked. | 4. Loosen hose by check valve by nozzles or manifold and bleed air. | |
| The pump runs but will not prime. | 1. Air leak in intake. | 1. Tighten fittings on the intake side. |
| 2. Clogged intake. | 2. Clean. | |
| 3. Restricted outlet. | 3. Check and clean tips. | |
| 4. Check valve stuck closed. | 4. Clean or repair check valve. | |
| 5. Dirt inside the pump. | 5. Replace pump check valve. | |
| The pump does not develop enough output. | 1. Air leaks or clogs on the inlet side. | 1. Check intake check valve. |
| 2. Electronic box out of adjustment. | 2. Refer to box adjustment page. | |
| 3. Pump worn or dirty. | 3. Rebuild the pump. | |
| 4. Low supply voltage. (Pump requires 12v minimum) | 4. Check voltage at connection with a voltmeter. | |
| 5. Bad gauge. | 5. Gauge should read less than 10 PSI when not in use. Also, tips should lose a spray pattern below 10 PSI. Check accuracy. | |
| Pump output varies. | 1. Clogged or restricted inlet. | 1. Clean |
| 2. Worn pump parts. | 2. Rebuild the pump. |
MODEL 458 PARTS LIST

| Ref | Description | Part# | Qty |
| 1 | Base | 001-4501A | 1 |
| 2 | Bottle Holders | 001-4501B | 2 |
| 3 | Pump Holders | 001-4501C | 1 |
| 4 | Pump | 007-4120S | 1 |
| 5 | Gauge | 002-2208Z | 1 |
| 6 | Pump Wire Harness | 006-4574 | 1 |
| 7 | Intake Screen | 002-4565 | 1 |
| 8 | Intake Check Valve | 002-4564 | 1 |
| 9 | Flex Spout Manifold (M | 003-4508A | 1 |
| 10 | Flex Spout Manifold (F) | 003-4508B | 1 |
| 11 | Jug Cap | 003-4508C | 1 |
| 12 | Electronic Control box | 030-0457 | 1 |
| 13 | ¼” FPT Tee | 003-TT14 | 1 |
| 14 15 | Jaco Elbow 3/8 x 1/4 Jaco Elbow ¼ x ¼ | 003-JEL3814 | 2 |
| 16 | ¼” Tubing (Hose) | 003-JEL1414 | 2 |
| NP | Suction Cup Mount | 002-9006 | 5 ft |
| NP | Suction Cup Mount | 001-2012SCM | 1 |

| Ref | Description | Part# | Qty |
| 1 | Left Holder | 001-4501D | 1 |
| 2 | Right Holder | 001-4501E | 1 |
| 3 | Nozzle Strap | 001-4215 | 2 |
| 4 | Nozzle Holders | 004-4710 | 2 |
| 5 | ¼” Tubing (Hose) | 002-9006 | 15 |
| 6 | Jaco Straight ¼” x ¼” | 003-JA1414 | 3 |
| 7 | ¼” Plug | 003-F14 | 1 |
| 8 | HB to NPT ¼” Tee | 003-T1414T | 1 |
| 9 | Valve | 002-2216 | 1 |
| 10 | ¼” Straight Fitting | 003-A1414 | 1 |
| 11 | Jiffy Clips | 008-9012 | 3 |
| 12 | Mini Hose Clamps | 003-9002 | 4 |
| 13 | ¼” FPT Tee | 003-TT14 | 2 |
| 14 | Tie Down Strap | 2 | |
| 15 | Tip Kit (Complete) | 030-9001 | 1 |
| 16 | Includes Following | ||
| 17 | Plastic Box | 008-9000 | 1 |
| 18 | Red Cap | 004-1207B | 2 |
| 19 | Low Output Tip | 004-650050-SS | 2 |
| 20 | Green Cap | 004-1207A | 2 |
| 21 | Medium Output Tip | 004-6501-SS | 2 |
| 22 | Blue Cap | 004-1207C | 2 |
| 23 | High Output Tip | 004-6502-SS | 2 |
| 24 | Washer | 004-1207W | 2 |
| 25 | Tip Strainer | 004-1203-100 | 2 |
Harvest Tec, LLC. Warranty and Liability Agreement.
Harvest Tec, LLC. will repair or replace components that are found to be defective within 12 months from the date of manufacture. Under no circumstances does this warranty cover any components which in the opinion of Harvest Tec, LLC. have been subjected to negligent use, misuse, alteration, accident, or if repairs have been made with parts other than those manufactured and obtainable from Harvest Tec, LLC.
Our obligation under this warranty is limited to repairing or replacing free of charge to the original purchaser any part that in our judgment shows evidence of defective or improper workmanship, provided the part is returned to Harvest Tec, LLC. within 30 days of the failure. Parts must be returned through the selling dealer and distributor, and transportation charges prepaid.
This warranty shall not be interpreted to render Harvest Tec, LLC. liable for injury or damages of any kind, direct, consequential, or contingent, to persons or property. Furthermore, this warranty does not extend to loss of crop, losses caused by delays or any expense prospective profits or for any other reason. Harvest Tec, LLC. shall not be liable for any recovery greater in amount than the cost or repair of defects in workmanship.
There are no warranties, either expressed or implied, of merchantability or fitness for particular purpose intended or fitness for any other reason.
This warranty cannot guarantee that existing conditions beyond the control of Harvest Tec, LLC. will not affect our ability to obtain materials or manufacture necessary replacement parts.
Harvest Tec, LLC. reserves the right to make design changes, improve design, or change specifications, at any time without any contingent obligation to purchasers of machines and parts previously sold.
HARVEST TEC, LLC.
P.O. BOX 63
2821 HARVEY STREET
HUDSON, WI 54016
PHONE: 715-386-9100
1-800-635-7468
FAX: 715-381-1792
Email: [email protected]



















