XHDATA D-808 FM Stereo Digital Signal Processing Receiver

The XHDATA D-808 is a versatile radio receiver that supports FM Stereo, LW, MW, SW-SSB, and AIR RDS. It comes with a user manual written by Kevin Davidson and illustrations by XHDATA. The radio has a range of features and controls that allow you to customize your listening experience.
FRONT VIEW


OVERVIEW
The Display
- Battery charge indicator
- Sleep timer active
- Key press beep active
- Alarm on
- Frequency Display is kHz or MHz
- Display temperature mode
- Signal strength
- Noise level
- Band selection
- FM Stereo signal
- FM RDS available
- Frequency
- RDS Information
- USB / LSB mode
- Squelch active (AIR band only)
- Alarm active
- Display shows Memory location
- Not available on this radio
- Radio keys locked
- Tuning knob speed
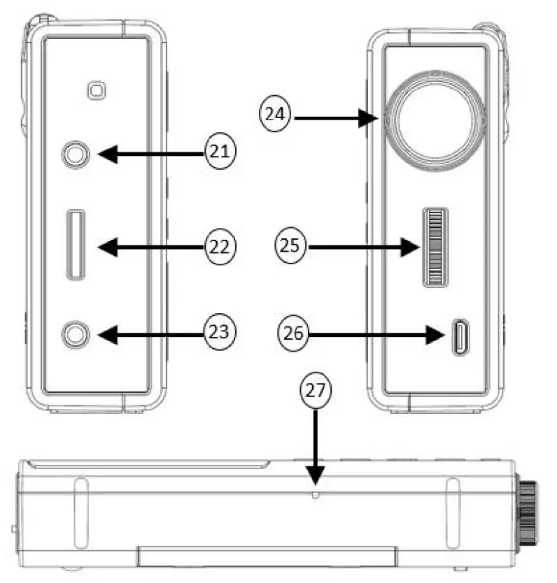
Side Controls
- External Antenna Jack (3.5mm)
- Volume control
- Headphone jack (3.5mm stereo)
- Main Tuning knob (push in for fast/slow/stop)
- Fine tuning / clarify control for SSB
- USB Charging port
- adio reset button access hole
Radio rear
- Whip antenna used for FM, SW and AIR bands
- Kickstand
- Battery door (18650 battery (included)
Warnings
- Do not expose the radio to water, moisture or excessive humidity.
- Keep radio out of the freezer. Operating temperature range is 0° – 40° C (32° – 104° F).
- Clean with a dry cloth. Don’t use detergents or chemical solvents.
- Do not attempt to open the unit, unless you are really curious. You might break something.
- Change the battery within one minute to avoid loss of time and other settings.
Quick Start Guide
- The radio is shipped with a protective tab in the battery compartment that prevents the battery from contacting the battery terminal. Carefully remove the battery door (back of radio) and remove the battery and the tab. Replace the battery taking care to align the polarity of the battery (+/-) to match the diagram on the back of the radio. Replace the battery door.
- Turn the radio on by pressing the orange power button on the upper right cor-ner of the radio.
- Select a radio band — FM, MW, SW or AIR — then raise the volume with the knob on the left side of the radio. Increasing volume is in the upward direction.
- Tune the radio by rotating the tuning knob on the upper right side of the radio. Clockwise is increasing frequency. To tune to a station directly, press the FREQ button, then the frequency. If the radio does not tune to the frequency, press FREQ again to complete the entry.
Functions and Operation
Power and charging
Power On Button and Sleep Timer
In this manual, the terms “press” and “long press” are used. Press means to press the button briefly. Long press means to press the button and hold it for 2 seconds.
The orange power on button turns the radio on. For 5 seconds, the sleep timer icon appears on the display flashing. While the sleep timer icon is flashing, further press-es of the Power button increment through a list of sleep times from 120 to 15 minutes or “on” indicating the timer is disabled. When the sleep timer is set, the radio will automatically power off after the selected number of minutes. The radio cannot be turned off while the sleep timer icon is flashing — just wait until it stops. The sleep timer setting can be disabled by simply turning the radio off.
Alarms
The radio can automatically power on based on the alarm setting. Alarm mode can be set on or off with the ALARM button. To turn the alarm on or off, turn off the radio and press the ALARM button. Use the up arrow button to toggle through the three alarm modes: Wake to radio, wake to tone and off. The alarm mode is indicated on the display with a tiny speaker symbol to the right of the word “Timer” for wake to radio, a tiny bell to indicate wake to tone, or no symbol when the alarm is off. Alarm to radio uses the most recently tuned station. To set the alarm time, long-press the ALARM button and key in the time with the number buttons. For example, to set the alarm for 21:30, long press the ALARM button and key 2 1 3 0. The alarm is set at the factory for 7:00 AM, turned off. The radio does not support a 12-hour clock.
Charging the radio
To charge the radio, plug a USB-C cable (included) into the USB jack on the right side of the radio. (Some early versions of the radio use a USB Micro connector.) The battery icon will cycle while the radio is charging. Charging will stop when the battery is fully charged or after 10 hours, whichever is first. Note: some early ver-sions of the radio may require long pressing the SSB button to begin charging.
Options and setup
FM Tuning range
The radio can be set for different tuning ranges that are convenient for FM broad-casting in different regions of the world. With the radio off, long-press the FM button. The current setting, showing the lowest frequency of the band, is displayed. To change the setting, press the FM button again to cycle through the three options:
- 64.0 MHz
- 76.0 MHz
- 87.5 MHz
Longwave
The LW band is not enabled by default. To enable it, turn the radio off and long-press the LW/MW button. The radio will display the current status of the setting, “LW ON” or “LW OFF.” To change the setting, press the LW /MW button. When LW is on, pressing the LW/MW selects either LW or MW. When it is off, the LW option is not available.
Medium Wave Step
The tuning step for medium wave (MW) can be set for 9 kHz or 10 kHz. To change the setting, turn the radio off and long-press the 9/10 kHz button (0). The current setting is displayed. Press the button again to cycle through the two options. 10 kHz us used in the Americas and 9 kHz in the rest of the world.
Beep
The radio as it comes from the factory beeps after each key press. To disable this, turn the radio off and long-press the BEEP button (5). Unlike other options, multiple presses of the button do not toggle the option. Long press the key to change it.
Temperature
The temperature scale for display, Fahrenheit or Centigrade, may be selected. With the radio off, press the DISPLAY button until the temperature is displayed, then long-press the number 3 to change the setting. Repeatedly press the button to toggle between F and C.
Setting the clock
The radio clock only supports 24-hour time display only. To set the clock, turn the radio off and long press TIME SET. The radio will display “TIME.” Key in the 4-digit time to set. To set the seconds, wait until about 7 seconds before the 00 minute, then activate the time function, quickly key in the time and then press TIME again. Note that time setting mode automatically exits after about 4 seconds with no key pressed. The radio has the option to automatically set the time from an FM broadcast station the provides it (refer to the RDS topic for more on this). To enable automatic setting, press the TIME SET button with the radio off. Use the up arrow key to toggle be-tween Auto and Manual modes. Note: many FM stations to not broadcast time, and those that do may not be accurate. You must tune the station with that information for the time to be set.
Lock
With the radio on or off, long press the INFO button to disable the keys on the radio. Long press again to re-enable them. This feature is useful to prevent the radio from being turned on accidentally during handling or when packed.
Display light
The display is automatically illuminated for about 10 seconds when you press a key or turn the tuning knob. Pressing the LIGHT button turns it on indefinitely. When set, the light stays on even when the radio is turned off.
Radio operation
Memory System
This radio has 500 memory locations, 100 for each band, organized into 10 pages with 10 memory locations each. A memory location stores the station frequency along with the stereo setting for FM and the bandwidth for LW/MW/SW. Select the desired band (MW, LW, FM, SW and AIR) first. Then to save or retrieve a station in memory, first establish the current memory page by pressing the PAGE button and then press the page number button (0-9). Once a page is selected, a frequency is stored to a memory location within the page by long-pressing the position number button (0-9). To recall a saved station, just press the number button (0-9) of the memory position within the current page.
Auto Tune Storage (ATS)
This radio has the capability to scan the bands and automatically store stations into memory. It loads them sequentially by page, and by position within the page, over-writing any previously stored stations. ATS is invoked by first selecting the band and then with a long press of the band button, FM, LW/MW, SW or AIR. ATS stores rela-tively stronger stations, and may skip some that are audible. Also, particularly on shortwave, the signal strength may fade in and out, causing the station to be skipped. For AIR traffic, transmissions are often short and may not be active when the radio scans a particular frequency. Also note that for shortwave, the radio only scans within the international broad-cast frequencies, not amateur radio or commercial bands. Refer to the SW topic.
Antennas
Antennas capture radio signals that are processed by the radio. This radio has 3 antenna options:
- Internal ferrite bar antenna used for LW/MW
- A 25.5” telescopic whip antenna for SW/FM/AIR
- A 3.5mm jack to connect an external antenna of your choice for SW, .FM, AIR
Caution: Ensure that an external antenna is clear from power lines.
The internal ferrite bar antenna is directional. Physically turn the radio for best re-ception. You may find that moving the radio to a different location, even slightly, greatly improves reception on all bands. AM reception can often be improved by placing a passive loop antenna next to the radio. Even 10-20 feet of wire can make a big difference on shortwave.
Display Mode
The display can be set to show different information, press the DISPLAY button to cycle between signal strength/signal to noise ratio, time, temperature and alarm time.
Signal strength is expressed in dBu units, the larger the number, the stronger the signal. The signal to noise radio is expressed in dB units; the larger the number, the greater the signal quality, with a value of 0 indicating that signal and noise are equal. The value is also shown as 0 when there is no signal at all.
Bandwidth
While radio signals are centered on one frequency, they actually occupy a range of frequencies. Sometimes two stations with adjacent frequencies can interfere with each other. This problem can be lessened by reducing the frequency range (bandwidth) the radio tunes. This feature is available on LW, MW and SW on this radio, but typically only used on SW. The bandwidth is selected by pressing the AM BW button. The width is shown on the display, and repeated presses of the button will cycle through the values: 6, 4, 3, 2.5, 2, 1.8 and 1 kHz. The bandwidths in SSB mode are 4, 2, 2.2, 1.2, 1, and 0.5 kHz. Generally, the higher the bandwidth, the better the audio fidelity and the lower the bandwidth, the lower the interference and noise.
Tuning speed
The tuning knob has fast, slow and stop modes. Switch between them by pressing the tuning knob in towards the radio. The display shows the mode in small print.
- Fast – advance 10 kHz (3 kHz on LW, 9/10 kHz on MW, 25kH on AIE and 100 kHz on FM)
- Slow – advance 1 kHz (10 kHz on FM)
- Stop – does not advance
FM Reception
To receive FM broadcasts, fully extend the whip antenna and press the FM button. Here are your tuning options.
- Press FREQ, enter the frequency of the station, and press FREQ again.
- Long press the FM button to activate ATS to store all strong stations into memory (see section on the Memory system for how to access them).
- Press the up or down arrow keys to go to the next frequency.
- Long press the up or down arrow to scan for the next strong station.
- Rotate the tuning knob to tune stations.
Some FM stations broadcast in stereo. In this case, STEREO appears on the display. Listening to the two stereo channels requires headphones. Stereo can be turned off and on with the FM ST button. It may be automatically disabled for a weak signal. In some situations, you may get improved reception by turning stereo off. The stereo setting is stored in the station memory when the frequency is saved.
FM RDS (radio data system)
RDS is a means for FM radio stations to transmit data along with their program-ming. Not all FM stations employ RDS, but the ones that do typically transmit the station name, the station type, the song artist and title when playing music, and occasionally the time. When RDS is present, the RDS icon on the display is shown and the RDS data information appears at the bottom of the display. Use the INFO button to cycle through the RDS data options. This radio supports the following RDS information:
- PS—Program Service Name
- DATE—Date and Time (“NO DATE” of not present)
- PTY—Program type: News, Drama, Rock music… (“NONE” if not present)
- RT— Radio Text may contain artist and title information for music (“NO RT” if not present)
RDS date information can be used to automatically set the radio clock. Refer to the Clock Setting topic for additional information. MW (medium wave)
To receive MW broadcasts, press the LW/MW button. Here are your tuning options.
- Press FREQ, enter the frequency of the station, either 3 or 4 digits.
- Long press the LW/MW button to activate ATS and store all strong stations into memory (see section on the Memory system for how to access them).
- Press the up or down arrow keys to go to the next frequency.
- Long press the up or down arrow to scan for the next strong station.
- Rotate the tuning knob to tune stations.
Rotate the radio for the best reception. Refer to the Antenna topic for more information.
LW (longwave)
Longwave reception is not enabled from the factory. Refer to the Settings topic for how to enable it. Pressing the LW/MW button when longwave is enabled switches between the two bands. The display shows which is selected.
Here are your tuning options.
- Press FREQ, enter the frequency of the station.
- Long press the LW/MW button to activate ATS to store all strong stations into memory (see Memory system topic for how to access them).
- Press the up or down arrow keys to go to the next frequency.
- Long press the up or down arrow to scan for the next strong station.
- Rotate the tuning knob to tune stations.
Rotate the radio horizontally for the best reception. Refer to the Antenna topic for more information.
SW (shortwave)
Fully extend the whip antenna and press the SW button to selects the shortwave function and tune to the previously accessed shortwave frequency. Repeated press-es of the button cycle through the 14 international shortwave broadcast bands The display shows which meter band is selected briefly after the button is pressed. The bands are:
- 120m (2300 – 2495kHz)
- 90m (3200 – 3400 kHz)
- 75m (3900 – 4000 kHz)
- 60m (4750 – 4995 kHz)
- 49m (5730 – 6200 kHz)
- 41m (7100 -7450 kHz)
- 31m (9250 -9900 kHz)
- 25m (11500 – 12100 kHz)
- 22m (13570 – 13870 kHz)
- 19m (15300 – 15830 kHz)
- 16m (17480 – 17900 kHz)
- 15m (18900 – 19020 kHz)
- 13m (21450 – 21850 kHz)
- 11m (25670 – 26100 kHz)
Note: The band ending frequencies are approximate.
Here are your tuning options.
- Press FREQ and enter the frequency of the station. You may need to press FREQ again to complete.
- Long press the SW button to activate ATS to store all strong stations into memory (see Memory System topic for how to access them). Note that only the stations within the 14 international shortwave bands are scanned.
- Press the up or down arrow keys to go to the next frequency.
- Long press the up or down arrow to scan for the next strong station. Note that only the 14 international shortwave bands are scanned.
- Rotate the tuning knob to tune stations.
Position the radio for the best reception. Refer to the Antenna topic for more information.
Single Sideband (SSB)
SSB is a transmission method used by amateur radio and commercial radio services. It reduces the power requirements and improves reception, but it requires special receiving equipment. Most voice transmissions on the amateur radio bands are SSB, and you can recognize it by a highly distorted and punctuated sound for voice. To receive SSB on this radio, first tune the station as best you can. Then press the SSB button. After some delay, the display will show the sideband setting, either upper sideband (USB) or lower sideband (LSB). In SSB mode, the INFO button switches between the two sidebands. LSB is most often used for frequencies below 7300 kHz and USB for those over 14000 kHz, with exceptions. Use the fine tuning knob (+/- 990 Hz in 10 Hz steps) on the left side of the radio for the best sound. Be patient; SSB tuning takes practice . Refer to the Bandwidth topic for how to improve shortwave reception.
AIR Band
To receive aviation transmissions, fully extend the whip antenna and press the AIR button. Here are your tuning options.
- Press FREQ, enter the frequency of the station, and press FREQ again if neces-sary.
- Long press the FM button to activate ATS to store all strong stations into memory (see section on the Memory system for how to access them).
- Press the up or down arrow keys to go to the next frequency.
- Long press the up or down arrow to scan for the next strong station.
- Rotate the tuning knob to tune stations.
Air band is best received near airports. You can look up the approach frequency for your closest airports online and set the radio for these frequencies.
Squelch
Air band on this radio has a special feature called “squelch.” When set, the radio remains silent until a station stronger than the set level is received. To activate the feature, long press the tuning knob in towards the radio, and when the word “Squelch” appears in the display immediately rotate the tuning knob to set the squelch level. The values are 1-9 and OFF. The optimum level is usually the highest number without background noise. Turning squelch off may enable reception of weak signals that would otherwise not be heard.
Reset
Should the radio become inoperable, you may attempt to reset the radio by push-ing a small object such as a toothpick or paperclip into the Reset hole until you feel a click. Take care not to press too hard and damage the radio.
Specifications
Radio bands
- FM: 64 – 108 MHz
- MW: 520 – 1710 kHz
- SW: 1711 – 29999 kHz
- LW: 150 – 450 kHz
- AIR: 118 – 137 MHz
- Sensitivity:
- FM: > 3 μV
- MW: > 0.5 mV/m
- LW: > 10 mV/m
- SW: > 10 μV
- AIR: > 0.5 μV
- AM Selectivity: > 80dB
- Number of memories: 500 (100 per band)
- Battery: 1 x 18650
- DC input voltage: 5V
- Power consumption: 140 μA off, 120 mA at maximum volume
- Speaker: 8Ω 1 W
- Earphone Jack: 3.5mm stereo
- Dimensions: 157(W) x 92(H) x 32(D) mm
- Weight: 265g (without battery)
- Accessories: Earphone, storage bag, external antenna, USB-C charging cable, 18650 battery, English user manual




















