4MODERNHOME MX7005-W1BK Outdoor Hardwired Wall Rectangular Scone

Assembly & Installation Instructions
Dear Customer:
Thank you for your business!
If you have any question or problem, please send us an email to [email protected] or call us at 469-312-6428. We will do everything possible to make you completely satisfied with your purchase. Product reviews help future
customers to make their purchase decision. You are encouraged to share your experience by leaving a short product review on the platform where you bought this product.
Thank you!
Zgear Team
Warning: If any special control devices are used with this fixture, follow the instructions carefully to assure full compliance with N.E.C. requirements.
If there are any questions, contact a qualified electric contractor.
Warning: California Residents Proposition 65 This product contains lead, a chemical known to the state of California to cause cancer and birth defects or other reproductive harm. Do not place the product in your mouth. Wash your hands after
handling this product.
Caution: It is highly recommended to get an electrician to install this light. Please make sure to turn the electricity off at the main circuit breaker before beginning installation. All glass is fragile. Use care when handling glass components) and/or lamp(s)
WIRE CONNECTION DIAGRAM
Wires meeting safety standards are required to connect the electical circuit
CAUTION: Risk of fire

Please read all instructions carefully. Before you proceed to install, make sure that the power supply is turned off and remains off until installation is completed.
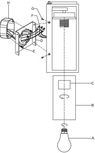
PARTS INCLUDED
- A Light bulb
- B Glass
- C Lamp ring
- D Mounting bracket
- E Box screws
- F Wire caps
- G Mounting screws
- H Junction box

Drawing 1
After securing fixture to the wall it is recommended that the gap between the wall and the fixture backplate be sealed on the top and both sides, with a good qualty waterproof caulk or silicone sealant (NOT INCLUDED)-see Drawing 1,


















