Courtney 1-Light Brass Plug-In or Hardwire Wall Sconce
Thank you for selecting Globe as your lighting choice for your home. With proper care, this product will provide years of pleasure and enjoyment.
Carefully follow the instructions in order to ensure that this product functions safely and properly for years to come.
Model
PLUG-IN WALL SCONCE
FOR YOUR SAFETY:
Most electrical accidents are caused by
carelessness or ignorance. If you combine a basic
knowledge of electricity, a healthy respect for it,
and a dose of common sense, you can safely tackle many
household electrical repairs. Here are some basic guidelines
for working with electricity:
Before working on a circuit, go to the main service panel and
remove the fuse or trip the breaker that controls that circuit.
Tape a sign to the panel warning others to leave the circuit
alone while you work.
Before touching any wire, use a voltage tester to make sure
it’s notlive.
Whenever you check for voltage in a receptacle, check both
outlets – each may be controlled by a separate wiring circuit.
When replacing fuses, turn off the main power first. Make
sure your hands and feet are dry, and place one hand behind
your back to prevent electricity from making a complete
circuit through your chest. Touch a plug fuse only by its
insulated rim. Remove cartridge fuses with a fuse puller.
Use tools with insulated handles and ladders made of wood
or fiberglass.
To protect children, place safety covers over any unused
outlets.
When unplugging a power tool or appliance, pull on the plug,
not on the power cord.
Improperly used extension cords are a leading cause of
electrical fires. They are for temporary use only – do not use
them to extend a circuit permanently.
Keep dry-chemical fire extinguishers in the kitchen,
basement, and workshop.
Never disable grounding devices. Make sure that all
appliances requiring grounding are properly grounded, and
that the electrical system itself is properly grounded.
Meet or exceed all electrical code requirements that cover the
work you are doing.
Always work with enough light to see what you are doing; it’s
easy to make mistakes when you’re working in dim light.
When in doubt about the safety of any electrical repair or test,
call in a professional.
IMPORTANT SAFETY
INSTRUCTIONS
This portable lamp has a polarized plug (one blade is wider
than the other) as a safety feature to reduce the risk of electric
shock. This plug will fit in a polarized outlet only one way. If
the plug does not fit fully in the outlet, reverse the plug. If it
still does not fit, contact a qualified electrician. Never use
with an extension cord unless the plug can be fully inserted.
Do not alter the plug.
CONSULT A QUALIFIED
ELECTRICIAN TO ENSURE
CORRECT BRANCH CIRCUIT
CONDUCTOR.
Since 1932, Globe has taken pride in offering products of the highest quality, and a level of service unparalleled in the industry. Should you encounter any difficulties, have any questions or simply wish to offer us your valuable feedback, you may contact us in the following ways: Toll Free Telephone: 1-888-543-1388 (North America Only) / Toll Free Fax: 1–800–668–4562 (North America Only) E-Mail: inf[email protected]/ Mail: Globe Electric Customer Service Department 150 Oneida, Montreal, Quebec, Canada H9R 1A8 Please visit our website to discover other quality Globe products: http://www.globe-electric.com
PRE-INSTALLATION
FIG. 1. Place the wall switch to the ‘OFF” position.
Depending on which type of fuse box you have in your home:
FIG. 2. Place either the main (Master) switch to the “OFF’ position, cutting off power to your entire home
OR turn off the individual switch that provides power to where the fixture will be installed. OR
FIG. 3. Place either the main (Master) switch to the “OFF’ position, cutting off power to the entire home
OR unscrew the fuse that provides power to where the fixture will be installed.

FIG. 1 WALL SWITCH

FIG. 2 BREAKER PANEL

FIG. 3 FUSE BOX
NOTE: Shutting off a wall switch that controls the light is not sufficient to prevent electrical shock.
HARDWARE INCLUDED
NOTE: Hardware not shown to actual size.
PLUG-IN

HARDWIRE

TOOLS REQUIRED

| PART | DESCIPTION | QUANTITY |
| A | Wall anchor | 2 |
| B | Mounting wall screw | 2 |
| C | Canopy screw | 2 |
| D | Plug | 1 |
| E | Back plate | 1 |
| F | Outlet box screw | 2 |
| G | Wire Connectors | 3 |
| F | Mounting bracket | 1 |
| I | Nut | 1 |
PACKAGE CONTENT

PLUG–IN INSTALLATION
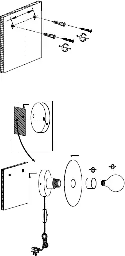
1. MOUNTING THE CANOPY – Remove back plate from canopy by unscrewing canopy screws. Place the back plate on the wall. Mark the location for the wall anchors. Use a drill to make the holes. Insert the wall anchors into the wall. Insert the mounting wall screws into the anchors. Hang the back plate on the mounting screws by the two holes. Secure the canopy onto the back plate with canopy screws.
2. ADJUST CORD LENGTH (OPTIONAL) – The cord length between the plug and the canopy should be at least 5ft (152.4cm). Slide the plug cap off of the cord plug as shown in image below. Cut the cord to desired length. Re-attach cord to cord plug by inserting the cord back into the cord plug and pressing down firmly. Insert cord into the plug by making sure the ribbed side (A) of the wire is pressed firmly onto the pin of the wider blade (B). Secure the cord by sliding the plug cap back onto the cord plug.

HARDWIRE INSTALLATION
1. REMOVE THE CORD – Remove back plate by unscrewing canopy screws. Unwire the black and white wire from the cord. Slide cord out through hole and remove.
2. INSTALL MOUNTING BRACKET INSTALLATION – Secure the mounting bracket to the junction box by using the outlet box screws.
3. CONNECTING THE WIRES
– If needed, strip plastic coating from the black and white wire approximately 1” (2.5 cm) to expose metal wire inside.
– Wrap the ground wire from the outlet box around the ground screw on the mounting bracket.
– Use a wire connector to connect the ground wire from the fixture to the ground wire from the outlet box,
– Use a wire connector to connect the white wire from the fixture to the white wire (neutral wire) from the outlet box.
– Use a wire connector to connect the black wire from the fixture to the black wire (live wire) from the outlet box.
– Wrap the three wire connections with electrical tape for a more secure connection.
– Position the wires back inside the outlet box.

4. ATTACHING THE CANOPY – Secure the canopy to the mounting bracket with canopy screws.
5. ATTACHING THE NUT – Use nut to insert in the original outlet hole in canopy.
Requires 1 x medium (E26) base bulb, 60 watt maximum (sold separately)
WARNING: consult a qualified licensed electrician who will ensure the fixture is installed in accordance with local installation codes.


















