globe 91002202 Molly 1-Light Matte White Plug-In or Hardwire Wall Sconce

FOR YOUR SAFETY
Most electrical accidents are caused by carelessness or ignorance. If you combine a basic knowledge of electricity, a healthy respect for it, and a dose of common sense, you can safely tackle many household electrical repairs. Here are some basic guidelines for working with electricity:
Before working on a circuit, go to the main service panel and remove the fuse or trip the breaker that controls that circuit.
Tape a sign to the panel warning others to leave the circuit alone while you work.
Before touching any wire, use a voltage tester to make sure it’s not live.
Whenever you check for voltage in a receptacle, check both outlets- each may be controlled by a separate wiring circuit.
When replacing fuses, turn off the main power first. Make sure your hands and feet are dry, and place one hand behind your back to prevent electricity from making a complete circuit through your chest. Touch a plug fuse only by its insulated rim. Remove cartridge fuses with a fuse puller. Use tools with insulated handles and ladders made of wood or fiberglass.
To protect children, place safety covers over any unused outlets.
When unplugging a power tool or appliance, pull on the plug, not on the power cord.
Improperly used extension cords are a leading cause of electrical fires. They are for temporary use only• do not use them to extend a circuit permanently.
Keep dry-chemical fire extinguishers in the kitchen, basement, and workshop.
Never disable grounding devices. Make sure that all appliances requiring grounding are properly grounded, and that the electrical system itself is properly grounded.
Meet or exceed all electrical code requirements that cover the work you are doing.
Always work with enough light to see what you are doing; it’s easy to make mistakes when you’re working in dim light. When in doubt about the safety of any electrical repair or test, call in a professional.
IMPORTANT SAFETY INSTRUCTIONS
This portable lamp has a polarized plug (one blade is wider than the other) as a safety feature to reduce the risk of electric shock. This plug will fit in a polarized outlet only one way. If the plug does not fit fully in the outlet, reverse the plug. If it still does not fit, contact a qualified electrician. Never use with an extension cord unless the plug can be fully inserted. Do not alter the plug.
CONSULT A QUALIFIED ELECTRICIAN TO ENSURE CORRECT BRANCH CIRCUIT CONDUCTOR.
PRE-INSTALLATION
ELECTRICAL INSTALLATION
FIG.1. Place the wall switch to the ‘ OFF” position. Depending on which type of fuse box you have in your home:
FIG. 2. Place either the main (Master) switch to the “OFF’ position, cutting off power to your entire home OR turn off the individual switch that provides power to where the fixture will be installed.
FIG. 3. Place either the main (Master) switch to the “OFF’ position, cutting off power to the entire home OR unscrew the fuse that provides power to where the fixture will be installed.
NOTE: Shutting off a wall switch that controls the light is not sufficient to prevent electrical shock.
NOTE: Hardware not shown to actual size.
PLUG-IN
| PART | DESCRIPTION | QUANTITY |
A | Wall anchor | 3 |
B | Mounting wall screw | 3 |
C | Detachable plug | 1 |

HARDWIRE
E | Outlet box screw | 2 |
F | Wire connectors | 3 |
G | Mounting bracket | 1 |

PACKAGE CONTENTS

PLUG-IN INSTALLATION
- MOUNTING THE CANOPY
– Place the mounting bracket on the wall. Mark the location for the anchors. Use a drill to make the holes. Insert the anchors into the wall. Secure the mounting bracket onto the wall by screwing the mounting wall screw into the anchors. Secure fixture onto mounting bracket with mounting screws and decorative nuts.
- ADJUST CORD LENGTH (OPTIONAL)
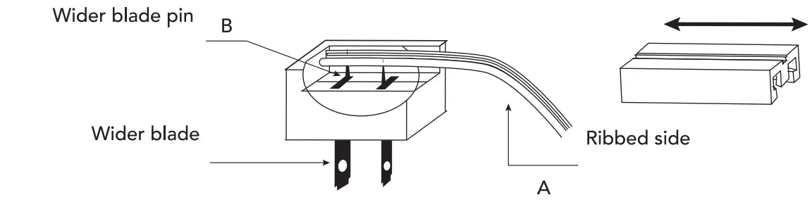
– The cord length between the plug and the canopy should be at least 5ft (152.4cm). Slide the plug cap off of the cord plug as shown in image below. Cut the cord to desired length. Re-attach cord to cord plug by inserting the cord back into the cord plug and pressing down firmly. Insert cord into the plug by making sure the ribbed side (A) of the wire is pressed firmly onto the pin of the wider blade (B). Secure the cord by sliding the plug cap back onto the cord plug.
HARDWIRE INSTALLATION
- REMOVE THE CORD
– Remove back plate by unscrewing decorative nuts. Unwire the black and white wire from cord (making sure to keep the switch on the black wire connected/intact). Slide cord out through hole and remove. - INSTALL MOUNTING BRACKET
Install mounting bracket to inside of canopy by securing with canopy screws and decorative nuts. - CONNECTING THE WIRES
-Cord length between the wire connectors and the canopy should be at least 6″ (152.4mm). If needed, strip plastic coating from the white and black wire approximately 1″ (2.5 cm) to expose metal wire inside. - ATTACHING THE CANOPY
– Position the canopy over the junction box and secure with outlet box screws.
Requires 1 x Medium base e26 base bulb, 60 watt maximum (sold separately)
WARNING: consult a qualified licensed electrician who will ensure the fixture is installed in accordance with local installation codes.
Since 1932, Globe has taken pride in offering products of the highest quality, and a level of service unparalleled in the industry.
Should you encounter any difficulties, have any questions or simply wish to offer us your valuable feedback, you may contact us in the following ways:
Toll Free Telephone: 1-BB8-543-1388 (North America Only)/Toll Free Fax: 1-800-668-4562 (North America Only)
E-Mail: [email protected] / Mail: Globe
Electric Customer Service Department
150 Oneida, Montreal, Quebec, Canada H9R 1A8
Please visit our website to discover other quality
Globe products: http://www.globe-electric.com
Thank you for selecting Globe as your lighting choice for your home. With proper care, this product will provide years of pleasure and enjoyment. Carefully follow the instructions in order to ensure that this product functions safely and properly for years to come.



















