CAD AUDIO GXLD2QM Digital Frequency Agile Dual Channel Wireless Microphone System

FEATURES
- Digital High Definition Aud io
- Frequency Agile Design
- Dual Handheld System
- QuickMic™ connection to your mixing board via integrated ¼ ” jack
- QuickMic™ is supplied with U SB and TRS 3.5mm adapters for added flexibility
- Handheld transmitters feature the CADLive Style Neodymium capsules
- Handheld transmitters and receivers feature low battery indicators
- Handheld transmitters utilize AA Batteries with> 8 Hrs of operation
- 2 Year Warranty
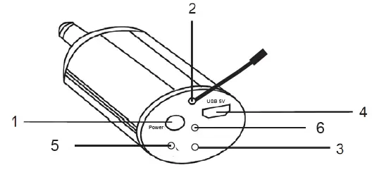
OVERVIEW
Receiver
- ON/OFF Switch
- Antenna
- Charge indicator, Red charging, Green charged
- DC 5V charging port
- Low battery indicator, Blue on, Red needs to be charged
- RF indicator, Red ChA, Green ChB
Transmitter
- ON/OFF switch
- Frequency Selection Button
- Frequency Display
- Battery Compartment
Adapters

Specifications
- Frequency Response 20Hz – 20kHz
- Modulation High Definition Digital QPS K
- Transmitting Power 10mW
- Sensitivity – 43 dBV (6.8mV) @ 1Pa
- Battery Life >10Hrs
- Frequency Band 500Mhz – 599Mhz
How to use the GXLD2QM system
- Turn the receiver ON/OFF switch to ON, the LED indicator will illuminate, insert the 1/4” (6.3mm) input jack into the audio input jack of your audio mixer.
- Insert (2) AA batteries into the battery compartment of the transmitter, make sure the polarity is correct.
- Turn the transmitter on, the frequency display will illuminate, you can now use this system.
- When the receiver battery gets low, please use the rechargeable cable to recharge the built in battery.
Please note:
- If there is any noise, distortion or audio dropouts when using the system it may be caused by a low battery, please replace the transmitter batteries or charge the receiver battery.
- Remember to turn the switches to the OFF position when not in use.
- If you won’t be using the system for a long time, please take the batteries out of the transmitter.
Frequency Matching
If there are multiple sets of units in the same environment, crosstalk may occur (same frequency and ID) it can be resolved by the matching procedure below:
- Turn both transmitters and receiver OFF
- First Transmitter: Press and hold the ON/OFF switch and the frequency select buttons for about 4 seconds, the display will flash.
- Receiver: Turn the power switch ON, and the RF indicator will flash 4 times.
- Second Transmitter: Press and hold the ON/OFF switch and the frequency select buttons for about 4 seconds, the display will flash.
- A short press on the frequency select button on each transmitter will complete the setup.
FCC
Individuals with cardiac pacemakers and other similar medical devices should consult with their physician before using any RF devices. Though the output level of this wireless system is below 50 milliwatts, the proximity of the transmitter to the implant device could pose a threat.
As with any wireless product, environmental conditions can reduce or in some cases prohibit a successful connection between the transmitter and the receiver. This device complies with Part 15 of the FCC Rules. Most users of CAD Audio wireless products in the United States do not need a license for operation. However, the rules for unlicensed operation state that this device must not operate in excess of 50 milliwatts and it must not cause harmful interference to other wireless devices, and must accept interference received from other devices. Wireless products meeting CAD factory standards adhere to these rules. The FCC reserves the right to change these rules at any time. For more information contact the FCC at 1-888-CALL-FCC (TTY: 1-888-TELL-FCC) or visit the FCC’s wireless microphone website at: www.fcc.gov/cgb/wirelessmicrophones
Two-Year Limited Warranty
CAD Audio hereby warrants that this product will be free of defects in material and workmanship for a period of two years from the date of purchase. In the unlikely event that a defect occurs CAD Audio will, at its option, either repair or replace with a new unit of equal or greater value. Retain proof of purchase to validate the purchase date and return it with any warranty claim. This warranty excludes exterior finish or appearance, damage from abuse, misuse of the product, use contrary to CAD Audio’s instructions or unauthorized repair. All implied warranties, merchantability, or fitness for a particular purpose is hereby disclaimed and CAD Audio hereby disclaims liability for incidental, special or consequential damages resulting from the use or unavailability of this product. This warranty gives you specific legal rights and you may have other rights that vary from state to state. Some states do not allow the exclusion or limitation of incidental or consequential damages or limitations on how long an implied warranty lasts, so the above exclusions and limitations may not apply to you. Note: No other warranty, written or oral is authorized by CAD Audio.
CAD Audio Corporate Offices
6573 Cochran Rd., Bldg. I Solon, OH 44139 U.S.A.
Tel: (440) 349-4900
Fax: (440) 248-4904
www.cadaudio.com
Distributed Worldwide by American Music and Sound
925 Broadbeck Drive, Suite 220
Newbury Park, CA 91320 U.S.A.
Tel: (800) 431-2609
Fax: (800) 431-3129



















