MYSTUDIO Wireless Mic Audio Wireless Dual Channel Microphone System User Manual
Disclaimer
Easypix makes no representations or warranties with respect to this manual and, to the maximum extent permitted by law, expressly limits its liability for breach of any warranty that may be implied to the replacement of this manual with another.
Furthermore, Easypix reserves the right to revise this publication at any time without incurring an obligation to notify any person of the revision.
Easypix is not responsible or liable for misuse of the information that is contained herein. If you have any suggestions for improvements or amendments or have found errors in this publication, please notify us.
All pertinent state, regional, and local safety regulations must be observed when installing and using this product. For reasons of safety and to help ensure compliance with documented system data, only the manufacturer shall perform repairs to components.
Failure to observe this information can result in injury or equipment damage.
Copyright @ by Easypix GmbH AII rights reserved. No part of this publication may be reproduced, distributed, or transmitted in any form or by any means, including photocopying, recording, or other electronic or mechanical methods, without the prior written permission of the publisher. For = permission requests, please write to the publisher below. Easypix GmbH, Em Parkveedel 11, 50733 Köln, Germany
Retaining instructions
Read this manual and its safety instructions before using this product.
Follow all the instructions.
This will avoid fire, explosions, electric shocks or other hazards that may result in damage to property and/or severe or fatal injuries.
The product shall only be used by persons who have fully read and understand the contents of this user manual. Ensure that each person who uses the product has read these warnings and instructions and follows them.
Keep all safety information and instructions for future reference and pass them on to subsequent users of the product.
The manufacturer is not liable for cases of material damage or personal injury caused by incorrect handling or noncompliance with the safety instructions.
Explanation of safety warnings
Warning indicates a hazard with a medium level of risk which, if not avoided, could result in serious injury.
NOTICE: Indicates information considered important, but not hazard-related.
Product introduction
MyStudio Wireless Mic Duo is a compact, rechargeable wireless mic system consisiting of a dual channel receiver, two microphone transmitters and a protective charging case.
Intended use
This product is intended for use anywhere where wireless and convenient ‘plug and play’ audio recording is required in conjunction with content creation and is suitable for any device with appropriate audio inputs.
Restrictions
Warning
The product is not suitable for children under 3 years because of choking hazard.
- Contains small parts, in order to avoid swallowing, please ensure any use by children is undertaken with adult supervision.
- This product is not suitable for use in wet conditions.
- Please ensure all parts are kept dry at all times.
- Ensure all parts are not exposed to extreme
Safety instructions
Warning
This product is only suitable for the purpose described, the manufacturer is not liable for damage caused by abnormal use.
Warning
Please read this instruction manual carefully before use. Keep all small parts out of the reach of small children.
- Please dispose of the waste and residues at the end of the service life of the product according to local laws and regulations
- If you think this product is damaged in any way, please do not use the product.
Operating environment
- Do not expose the product components to abnormally high or low temperatures. Store the components (at room temperature) in a dry and dust-free location and never expose them to high temperatures or direct sunlight.
- Protect the components from falls, shock and impact.
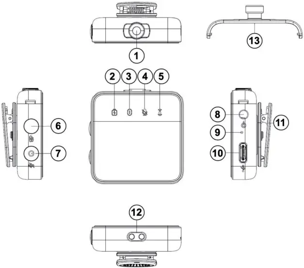
Microphone Transmitter Controls and functions

- Microphone
- Power / Battery indicator
- Wireless connection indicator
- Mute status indicator
- Recording indicator
- Db gain adjustment
- Power on/off
- 3.5mm audio input
- Reset button
- TYPE-C charging port
- Mounting clip
- Magnetic charging contacts
- Windshield holder
Dual Channel Receiver Controls and functions

- Power On/Off
- Reset button
- TYPE-C charging port
- Power / Battery indicator
- MIC 2 Connection indicator
- MIC 1 Connection indicator
- 5mm audio output
- TYPE-C digital audio output
- Mounting clip
- Magnetic charging contacts
Charging
Please ensure the microphones and receiver are fully charged before first use.
Charging can be completed by placing each of the units into the charging case and connecting the USB-C port of the case to your computer.
Alternatively the units can be charged by direct connection to the USB-C charging port on each device.
NOTICE:
When charging using the charging case please ensure the magnetic connection is made between the devices and the case.
When successfully docked and charging the power indicators will illuminate.
Charging is complete when the power / battery indicators are no longer illuminated.
Recording with MYSTUDIO Wireless
Preparing the receiver
- Connect the receiver to your camera, smartphone, laptop or recording
This can be done by using either the 3.5mm cable for connection to a DSLR camera for example, or by using the USB-C cable.
NOTE:
In the case of use with iOS devices an Apple° Lightning to 3.5mm Headphone Jack Adaptor is required which be used in conjunction with the 3.5mm cable. - Press and hold the power on/off button on the receiver until the Mic 1 indicator flashes green — this indicates the receiver is ready to connect to a
Connecting the microphones
- Press and hold the power button on Mic 1— the Recording indicator and the Wireless Connection indicator will illumine green to indicate a wireless connection is complete and the device is ready to transmit.
- Adjust the gain setting to your preferred level (See ‘Adjusting gain levels’ )
- Start recording on your
- To add Mic 2 simply press and hold the power button on Mic 2 until the Recording indicator and the Wireless Connection indicators illumine green to indicate the second wireless connection is complete and Mic 2 is also ready to transmit.
The Mic 1 and Mic 2 indicators on the receiver will always illuminate green to confirm which mics are currently connected at any given time.
Muting a microphone
To mute either microphone simply short press the power button. The Record indicator will turn off and the Mute indicator will illuminate.
To reactivate recording simply short press the power button again.
Adjusting gain levels
MYSTUDIO MIC DUO allows you to set the gain levels independently on each microphone.
To do this simply short press the Db gain adjustment button (6) until the green LED flashes.
The gain adjustment has 3 levels as follows:
- Level 1: -40db — Green LED flashes once
- Level 2: -50db — Green LED flashes twice
- Level 3: -70db — Green LED flashes 3 times
NOTE:
Db gain adjustment is not possible when the microphone is muted.
Db Level Memory
Each time the microphone is switched on it will operate on the last chosen Db level before it was turned off..
Connection Reset
Should the product experience an issue whereby the wireless connection is lost, the pairing between the mics and receiver must be reestablished.
This process is completed using the reset buttons:
- Turn on both the mic and receiver units
- Using a small point press the reset button on the Mic the connection status indicator will quick flash green to confirm it has entered the ‘pairing’ mode. At the same time the MIC1 LED on the receiver will slow flash green.
- Now press the reset button on the receiver..
- When the pairing is complete the REC and connection LED’s on the mic and the MIC1 LED on the receiver will remain on.
Microphone Transmitter Functions and Indicators
| Function | Button | LED Status |
| Power On | Long press power button | Connection indicator LED is illuminated |
| Power Off | Long press power button | All LED’s are off |
| Disconnected | Connection indicator LED flashes slowly | |
| Connected | Connection indicator LED is illuminated | |
| Gain Adjustment | Short press Db button to cycle through 3 gain levels | Recording LED indicator flashes to indicate chosen Db level. |
| Pairing Reset | Press once Reset with small needle | Connection indicator 2 flashes mrapidly. |
| Mute | Short press power button | Mute indicator LED illumined. Record LED turns off. |
| Charging | Battery LED is on while charging | |
| Fully Charged | All LED’s are off | |
| Low Power | Battery LED flashes once per second |
Receiver Functions and Indicators
| Function | Button | LED Status |
| Power On | Long press power button | MIC LED flashes |
| Power Off | Long press power button | ALL LED’s off |
| Disconnected | Mic indicator LED flashes | |
| Connected | MIC1 LED illuminated | |
| Charging | Battery LED illuminated | |
| Fully Charged | ALL LED’s off | |
| Low Power | Battery LED flashes once per second |
Charging Case
| Function | LED Status | |
| Charging the mics and receiver units | LED’s indicate charging status | Battery LED on while charging. Battery LED off when completely charged |
| Charging the case | Case LED indicates charging status | LED flashes red while charging. LED illuminates red when fully charged. |
| Charging case low power | Led flashes green |
Warning
- To avoid the risk of electric shock, do not connect the USB cable with wet hands.
- In the unlikely event of overheating, smokes or unpleasant odours coming from the units, disconnect them immediately from the charging cable.
- Never attempt to access or replace any parts as doing so will void the warranty.
Box Contents
- Dual Channel Receiver
- 2x Wireless Microphone Transmitter
- 2x Clip-on Windshield
- Charging Case
- USB Cables 2x
- 5mm Cable
- User Manual EN/DE
Operating instructions in other languages are available for download at bit.Iy/3FkosHS or www.easypix.info/download-manuals/download/mystudio-mic-duo/



















