
pHG-2091Pro
Online pH / ORP Meter
User manual
Shanghai BOQU Instrument Co., Ltd.
Address:No. 118 Xiuyan Road,Pudong New Area,Shanghai,zip code:201315,China
Web:www.boquinstrument.com | Email:[email protected] | Mob:86-15000087545
Product description
The PHG-2091Pro online pH ORP meter is a brand new online intelligent analog meter independently developed and manufactured by BOQU Instrument. It has a built-in A/D conversion module and is compatible with a variety of analog signal electrodes. Complete functions, stable performance, easy operation, low power consumption, safety and reliability are the outstanding advantages of this instrument. This instrument is equipped with RS485 transmission interface, which can be connected to the upper computer through Modbus RTU protocol to realize monitoring and recording.
This online pH and ORP meter uses a matching analog signal pH electrode and ORP electrode (see appendix 2 for details), which can be widely used in solutions, wastewater pH or ORP values and temperatures in industrial occasions such as thermal power generation, chemical industry, metallurgy, environmental protection, pharmaceuticals, biochemical, food, and tap water. Continuous monitoring.
Product Specification Sheet
| Specification | details |
| Name | Online pH/ORP meter |
| Measuring range | -2 ~16 pH -2000 ~2000 mV -30 ~130 ℃ |
| Measurement accuracy | ±1%FS ±0.5℃ |
| Shell material | ABS plastic |
| Power Supply | 90 – 260V AC 50/60Hz |
| Power consumption | 4W |
| Output method | Two 4-20mA outputs, RS485 |
| Relay | 5A/250V AC 5A/30V DC |
| Communication | RS485 Modbus RTU |
| Waterproof level | IP65 |
| Size | 98.2×98.2×128.3mm |
| Hole szie | 92*92mm |
Installation and wiring
Instrument size chart
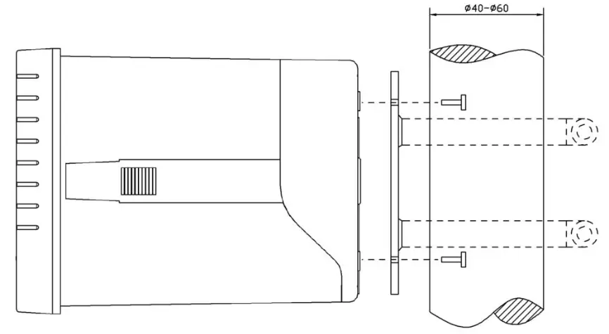
Embedded installation diagram

Pipeline installation diagram

Wiring diagram

Operation panel
The main panel of the pH ORP controller has 2 modules, the LED LCD display module and the button module.
The user can set and adjust the parameters of the instrument through the 5 keys on the panel.
Figure 1 Measuring instrument operation panel
- Set/Exit button
- Select/change button
- Up selection button
- Down selection button
- Confirm button
- Instrument display
Measurement interface
After the start-up animation ends, enter the main measurement interface.
When the pH ORP meter is working normally, the LED display shows the following contents.
1 Measurement reading
2 Measurement unit
3 Measure temperature
4 pH/ORP The corresponding value of 4-20mA
5 Measurement mode
6 Over/low limit alarm prompt
Three, settings
Press the “Set/Exit button” to enter the password input interface.
Figure 3 Enter the password
Enter settings:
Enter the password “3700” to enter the setup menu.
Figure 4 Setting menu
3.1 Measurement settings
Under this menu, the user can change the measurement method pH / ORP.
Figure 3.1 Measurement settings
3.2 4-20mA setting
In this menu, the user can change the corresponding value of 4-20mA and set the corresponding effective rang
Figure 3.2 4-20mA setting
3.3 Communication settings
In this menu, the user can change the communication address and communication speed.
3.4 Temperature setting
In this menu, the user can change the temperature compensation type and set the temperature manually.
3.5 Relay 1 setting
In this menu, the user can switch the relay 1 function, set the parameter alarm upper limit, alarm return difference, and alarm delay time.
3.6 Relay 2 setting
In this menu, the user can switch the relay 2 function, set the parameter alarm lower limit, alarm return difference, and alarm delay time.

3.7 Language setting
In this menu, users can change the language of the system interface. Simplified Chinese and English are built-in.
3.8 Backlight setting
In this menu, the user can change the backlight mode of the LCD screen, choose whether the backlight is always on or delay off (the default is delayed off), change the backlight brightness (brightness level 1-5, brightness increase), and change the contrast.
3.9 Restore factory settings
In this menu, users can restore all current output and relay parameters to factory parameters.
Four, calibration
Press the “Set/Exit button” to enter the password input interface.
Enter calibration:
Enter the password “3900” to enter the calibration menu.

4.1 Automatic calibration
In this menu, users can use standard solutions to calibrate the instrument at two 4.1 Automatic calibration
In this menu, users can use standard solutions to calibrate the instrument at two
4.2 Manual input calibration
In this menu, users can calibrate the pH of the known solution by themselves.
4.3 Three-point calibration
Put the electrodes into the standard solution of the specified concentration in order, and press the confirm key after the data is stable.
4.4 Buffer group
It is possible to modify the buffer standard set used in electrode calibration.
4.5 Electrode status
You can view the current zero potential millivolt value and slope of the electrode.

4.5 Restore factory settings,
The calibration parameters can be initialized to factory parameters.
Appendix
1. Communication protocol
Communication parameters:
Baud rate: 4800, 9600, 19200 (default is 9600)
Serial data format: 8N1 (8 data bits, no parity, 1 stop bit)
Function code: 03
Device address: pH/ORP controller defaults to 1
Register definition:
| Register address | Register definition | R/W | illustrate |
| 0,1 | Temp | R | ℃,Float CDAB |
| 2,3 | pH | R | Float CDAB |
| 4,5 | mV | R | mV,Float CDAB |
| 7 | Temperature mode | R/W | 1:ATC 2:MTC |
| 12 | RTU Address | R/W | Modbus mailing address,pH/ORP Default is 1 |
| 11 | Baud rate | R/W | 4800,9600,19200,The default is 9600 |
Detailed example of communication format:
Data read instruction: Address + function code + register start address + register read number + CRC check code (hexadecimal)
For example Tx: 02 03 00 02 00 02 65 F8
| address | function code | Register start address | Number of read registers | CRC Check code |
| 02 | 03 | 0002 | 0002 | 65F8 |
Data return instruction:
Address + function code + data length + data + CRC check code (hexadecimal)
For example, Rx: 02 03 04 40 0E B8 52 4E CD
| address | function | Data length | Measured value | CRC Check code |
| code | ||||
| 02 | 03 | 04 | 400EB852 | 4ECD |
Convert the hexadecimal number 400EB852 (note the data format) to decimal by a floating-point number converter, and get the value 2.23
2. Electrode parameter table for industrial online pH controller
| Electrode type | pH/ORP | ORP | |||
| Model | pH8012 | pH8012F | pH8010 | pH8010F | ORP8083 |
| Range | 0.00~14.00pH -2000~2000mV | -2000~2000mV | |||
| Temp | 0.0~80.0℃ | ||||
| Accuracy | 2%,±0.5℃ | 2% | 2% | ||
| Pressure | 0.06MPa | ||||
| IP | IP68/NEMA6P | ||||
| Theoretical slope | ≥95% | ||||
SHANGHAI BOQU INSTRUMENT COMPANY
TEL:86-021-2092-2782
WA:86-15000087545
WEB: www.boquinstrument.com
Email: [email protected]
ADRESS: No. 118 Xiuyan Road,Pudong New Area,Shanghai,Zip
Code:201315,China
*30200134*

















