LED Electric Stove
with Thermostatic Remote Control
Instructions for Use & Installation
For use in
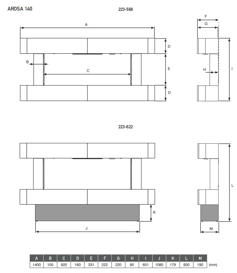
AROSA 140
CERRETO 140
| 223-568 | 223-622 |
| 223-590 | 223-643 |
IMPORTANT
PARTS OF THE OUTER CASING OF THIS APPLIANCE ARE CONSIDERED BY THE MANUFACTURER TO BE A WORKING SURFACE WHICH BECOMES HOT WHEN THE HEATER IS SWITCHED ON. IT IS THEREFORE RECOMMENDED THAT A FIREGUARD COMPLYING WITH BS 8423 (LATEST EDITION) IS USED IN THE PRESENCE OF YOUNG CHILDREN, THE ELDERLY OR INFIRM.
THE HEATER OUTLET GRILLE BECOMES VERY HOT WHILST IN OPERATION.
DO NOT COVER THE OUTLET GRILLE OR ANY PART OF THE APPLIANCE.
For use with 230V 50Hz electricity supply only.
Please read these instructions carefully before installation and keep them in a safe place.
They will be needed when maintenance or servicing is required.
THIS APPLIANCE MUST BE EARTHED THIS PRODUCT IS ONLY SUITABLE FOR WELL INSULATED SPACES AND OCCASIONAL USE.
IMPORTANT INFORMATION AND HEALTH AND SAFETY
Read all of the instructions carefully before using the appliance.
Remove all packaging and dispose of at an appropriate recycling facility.
Do not locate this appliance immediately below a fixed socket outlet.
Parts of the outer casing of this appliance are considered by the manufacturer to be a working surface which becomes hot when the heater is switched on. You must use a suitable fire guard to protect children, the elderly and the infirm.
Do not use this appliance in the immediate surroundings of a bath, shower, swimming pool or any other area where the appliance could come into contact with water or humidity, e.g. a bathroom.
WARNING! DO NOT COVER
Do not allow the appliance to be covered or let the air inlet/outlet become obstructed as the appliance may overheat. Please note the warning symbol on the appliance (see above).
For indoor use only. This appliance is not suitable for use outside the house.
This appliance must be firmly fixed to a flat internal wall using the Wall Mounting Bracket. Ensure that furniture, curtains etc. are positioned no closer than 1m to the appliance.
Where the electricity supply cable has to pass through a fire place, stone surround etc. ensure suitable rubber bushes are fitted at possible wear points.
If installed in an open fireplace, blank off the chimney to reduce the risk of a back draught which can cause the safety cut-out to operate.
Keep the power cord away from hot surfaces and hot conditions.
Do not route the power lead in front of the appliance.
When the fire has been installed the position of the plug must be accessible.
If the electricity supply cable is damaged do not use the appliance until it has been replaced. For safety reasons the replacement has to be carried out by a Gazco service agent or a similarly competent electrician.
CAUTION: In order to avoid a hazard due to inadvertent resetting of the thermal cut-out, this appliance must not be supplied through an external switching device, such as a timer, or connected to a circuit that is regularly switched on and off by the utility.
Do not operate the appliance if it is damaged.
Repairs of electrical appliances must only be performed by an electrical engineer. Should the appliance fail to operate,or in case of any damage, please contact the retailer from whom the appliance was purchased.
This appliance can be used by children aged from 8 years and above and persons with reduced physical, sensory or mental capabilities or lack of experience and knowledge if they have been given supervision or instruction concerning use of the appliance in a safe way and understand the hazards involved. Children shall not play with the appliance. Cleaning and user maintenance shall not be made by children without supervision.
Children of less than 3 years should be kept away unless continuously supervised.
Children aged from 3 years and less than 8 years shall only switch on/off the appliance provided that it has been placed or installed in its intended normal operating position and they have been given supervision or instruction concerning use of the appliance in a safe way and understand the hazards involved. Children aged from 3 years and less than 8 years shall not plug in, regulate and clean the appliance or perform maintenance.
Caution: Some parts of this product can become very hot and cause burns. Particular attention has to be given where children and vulnerable people are present.
However Gazco recommend:
This appliance is not intended to be used by persons under the age of 12, persons with reduced physical, sensory or mental capabilities or persons with lack of experience and
knowledge in the safe operation of the appliance.
The appliance may be operated by persons above the age of 12 provided they have been instructed in the safe use of the appliance and that they understand the hazards involved. Persons above the age of 12 may also operate the appliance under the supervision of a responsible adult.
Parts of this appliance become hot whilst in operation and under no circumstances should persons under the age of 12 be left alone with the product when it is in operation unless a suitable fireguard is used to protect them against the possibility of coming into direct contact with the appliance.
Children shall not play with the appliance.
Cleaning and user maintenance shall not be made by children without supervision.
OPERATING INSTRUCTIONS
WARNING! Do not operate the appliance if it is damaged or has malfunctioned. If you suspect the appliance is damaged or has malfunctioned call qualified service engineer o inspect the appliance, and replace any part of the electrical system if necessary, before reuse.
Do not disconnect the power at the mains supply whilst the appliance is running. Use the functions on the remote to turn the fire off and ensure the mains switch has been moved to the off position before disconnecting.
MANUAL CONTROL PANEL

- Remote Reset Button
- Heater Running Indicators
- All Lights On/Off
- Flame Setting Button
- Fuel Bed Setting Button
- Mains Power On/Off
OPERATING THE APPLIANCE
Press 6 to Turn the Appliance On/Off.
NOTE: To use both remote and manual functions the manual on/off switch must be in ‘ON’ position.
To prevent the product overheating, there is a 10s delay when turning on and off the heater fan.
The manual button controls basic functions.
Use the remote hand set to carry out all functions.
Press 3 to Turn Flames and Fuel bed ON/Off at the same time.
Press 4 to select the colour of flame or return to the OFF position.
There are 3 flame colour options.
Press 5 to select the colour of fuel bed or return to the OFF position.
There are 14 fuel bed colour options.
Note: The appliance will lose the memory for the light functions when the switch is set to the Off Position or the remote runs out of power.
REMOTE CONTROL
The remote control should be left on a flat surface in the room where the appliance is installed and away from any direct flow of hot air.

| – Power On/Off | |
| – Heater | |
| – Flames | |
| – Fuel Bed | |
| – Downlight | |
| #NAME? | |
| – Levels |
OPERATING THE APPLIANCE- QUICK START
| Turn the Appliance On/Off The appliance will start on the last remembered setting. | |
| A Turn the Appliance The appliance will start on the last remembered setting. | |
| Turn the Flame Effect On/Off. | |
| – Change the colour option. There are 3 flame colour options: | |
| Increase or decrease the brightness level. | |
| Turn the Fuel Bed Effect On/Off. | |
| – Change the colour option. There are 14 fuel bed colour options: | |
| – Increase or decrease the brightness level. |
| Increase or decrease the brightness level. | |
| Turn the Downlight On/Off. | |
| Change the colour option. | |
| Increase or decrease the brightness level. |
OPERATING THE APPLIANCE – ADVANCED OPERATION


TURN ON/OFF
Press
button to turn on the flame effect.
Press
button to turn off all the functions under the normal heating control mode.
Press
button to turn off the flame effect under daily and week timer heating mode.
WEEK DAYS/ TIME/ COMFORT TEMPERATURE AND UNIT SETTING
Ensure the clock is set to the correct time.
Press M for 3 seconds.
Press the ‘
’ button to choose setting.
The selected character will be highlighted.

Press the ‘+’ or ‘-’ button to adjust the number.
Time: 24-hour system.
Select Comfort temperature from 15-25℃.
Temperature unit: ℃/℉.
Press the
button for 3 seconds or wait 10 seconds to save and exit the week, time and heating temperature setting.
DAILY TIMER HEATING
The following heating periods have been preset, but can be altered if desired:
06:00 until 08:00
17:00 until 22:00
Press M until D shows at the upper right corner of the screen.

Hold the button for 6 seconds.
3 timed heating periods can be set per day.
Press ‘
’ to choose hour or minute.
Press ‘+’ or ‘-’ to set the number.
The minute increment / decrement by 15min per press.
![]()
Hold the
button for 3 seconds or wait for 10 seconds to save and exit the heating time period setting.
Press
to check the daily timer mode.
To turn heating off, return to Normal Control Mode.
When in Daily Timer Mode switching the appliance off with the remote will stop the light output. The heat output will continue according to the timer settings.
ADJUSTING THE SET TEMPERATURE
Press the ‘+’ or ‘-’ button to increase or decrease the temperature on the basis of COMF temperature.
COMF means the actual temperature is the same as setting.
ECO means the actual temperature is 2℃ lower than the setting temperature.
ECO- means 4℃ lower.
COMF+ means 2℃ higher.
COMF++ means 4℃ higher.
ADAPTIVE START CONTROL
The heater will automatically determine the appropriate time to heat to ensure that it will reach the set-pointed temperature at the set time (up to 45 minutes prior to the set time).
FLAME COLOUR ADJUSTMENT
Press
button.
There are 3 flame colour options.
There are 6 levels of brightness, including off.
![]()
Press the ‘
button to cycle through the flame colour options.
Press the ‘+’ button to increase the flame brightness.
Press the ‘-’ button to decrease the flame brightness until off.
FUEL BED COLOUR ADJUSTMENT
Press
to enter the fuel bed light adjustment screen.
There are 14 fuel bed colour options.
There are 6 levels of brightness, including off.

Press the ‘
’ button to cycle through the colour options.
Press the ‘+’ button to increase the brightness.
Press the ‘-’ button to decrease the brightness until off.
NORMAL CONTROL MODE
Normal Control Mode is the default setting.
Press M button until the N logo is shown
![]()
Press the ‘+’ or ‘-’ button to adjust the setting temperature from 17 ℃ to 25℃.
Press
A button to turn the heat on/off.
![]()
Note: It is normal for the fan heater to stop running for periods of time. This happens if the room temperature is higher than the temperature set on the control.
The heater indicator will be turned off after 10s if the flame is switched ON. The heater indicator will stay ON if only the heating function is used.
When in Normal Control Mode switching the appliance off with the remote will stop both the light and heat output.
COUNT DOWN TIMER
This setting is only in normal heating control mode. It allows the appliance to be returned to Standby after a set period of time. The heater must be switched on to use this function.
Press
to cycle through the setting from Off and 0.5 hours to 9 hours. Timer logo and remaining time will show on the screen. The heater of appliance can be automatically run by using daily timer and weekly timer.
WEEK TIMER HEATING
The following heating periods have been preset, these can be altered if desired:
From Monday to Friday
06:00 until 08:30
17:00 until 22:00
From Saturday to Sunday
06:30 until 09:30
11:00 until 13:00
17:00 until 22:00
Press M until W shows.
![]()
Hold the
button for 6 seconds.
Press ‘
’ to move the cursor (a flashing underline).
Press
the button in the corresponding week position to select (the character is highlighted) or cancel (the character is displayed normally) the current setting, the same time period can be selected together.

Press the ‘
’ button to move the cursor to the time period setting area.
Press ‘
’ button to choose hour or minute.
Press ‘+’ or ‘-’ to set the number.
A maximum of 3 timed heating periods can be set per day.
Minute increment / decrement by 15min per press.
Press
to set the heating time for the selected day and return to the week line.
Hold the button for 3 seconds or wait for 10 seconds to save and exit the heating time period setting.
Press ‘
’ to check the timer setting for the week timer heating mode.
To turn heating off, return to Normal Control Mode.
When in Weekly Timer Mode switching the appliance off with the remote will stop the light output. The heat output will continue according to the timer settings.
ADJUSTING THE SET TEMPERATURE
Press the ‘+’ or ‘-’ button to increase or decrease the temperature on the basis of COMF temperature.
COMF means the actual temperature is the same as setting.
ECO means the actual temperature is 2℃ lower than the setting
temperature.
ECO- means 4℃ lower.
COMF+ means 2℃ higher.
COMF++ means 4℃ higher.
ADAPTIVE START CONTROL
The heater will automatically determine the appropriate time to heat to ensure that it will reach the set-pointed temperature at the set time (up to 45 minutes prior to the set time).
ADVANCE MODE
The heating state can be advanced to the next period under both the daily and week timer heating mode.

If the heater is on in the current period, pressing the button will turn the heater off.
If the heater is off in the current period, pressing the button will turn the heater on.
Heating output depends on the room temperature and setting temperature.
Press
A to enter the Advance mode under the daily and week timer heating mode.

Press
A again or timer period ends will exit the Advance mode.
WINDOW OPEN DETECTING
When the transmitter detects a rapid drop in room temperature, it will be judged as an open window: the warning icon will be displayed and the heating will be turned off automatically.

After indoor temperature rise or manual intervention (by operatingremote control), it will return to normal working state.
OPERATING THE APPLIANCE – TROUBLESHOOTING
BATTERY
The battery power level is indicated at the top right of the remote control screen.
| Battery Full | No action required | |
| Battery Half Power | Ensure new batteries are available. | |
| Battery Empty | Replace batteries immediately |
NOTE: The remote control has a Battery Status indicator (top right corner), after an extended period of displaying empty the LED screen will cease to function despite the handset still being able to send commands. Replace the batteries to restore display.
BATTERY REPLACEMENT
Exhausted batteries are to be removed from the appliance and safely disposed of.

Ensure that the handset batteries are new and inserted correctly.
Dispose of old batteries at an appropriate recycling facility.
Battery replacement is recommended after 1 year.
The Remote requires two 1.5V alkaline AAA batteries.
Ensure the correct polarity.
Do not short circuit the terminals.
Do not attempt to recharge non-rechargeable batteries.
Remove rechargeable batteries before charging.
Do not mix old and new batteries.
Remove batteries if the appliance is not used for long periods.
Changing the batteries will not affect the Timer Mode settings.
Ensure the clock is set to the correct time.
NOTE: To use both remote and manual functions the manual on/off switch must be in ‘ON’ position.
In order to prevent the product becoming too hot, there is 10s delay when turning on the heater and a 10s delay when turning off the heater fan.
The manual button controls basic functions, not a full range of controls. Use the remote hand set to carry out all functions.
HEATER RUNNING INDICATORS
When the fan heater is used in conjunction with the flame or fuel bed effects the heater running indicators will light up for 10 seconds.
The LEDs will illuminate for 10 seconds if the flame or fuel bed effect is On.
If the fan heater is used independently, the heater running indicators will stay on.
RESET BUTTON FOR REMOTE CONTROL
If the handset loses signal or needs to be replaced then, see Servicing Instructions for details.
SIGNAL CODE
The handheld transmitter is configured in the factory with a unique signal code.
IMPORTANT: If the handset loses signal or needs to be replaced, see Servicing Section for details.
MAINTENANCE
ENSURE THE APPLIANCE IS TURNED OFF BEFORE CLEANING.
CLEANING THE FUEL EFFECT
Remove and wash the fuel effect to remove any dust particles.
Alternatively clean with a lint free duster.
Ensure that the effect is dry before replacing.
Replace the fuel effect see Installation Instructions for layout.
CLEANING AIR INLETS
Clean the air inlet and outlet grilles regularly with a soft cloth or the nozzle of a vacuum cleaner.

Dust build-up can inhibit efficient performance of the fan and lead to the safety cut-out operating.
Keep the area around the appliance clean and free of fluff, dust or pet hair.
In particular, build-up of dust etc. can occur around the heater area.
Take particular care to keep this area free from such particles on a regular basis to prevent build-up.
SERVICING AND SUPPORT

Servicing and Support
To keep your appliance looking and performing at its best, it must be serviced annually. This service must be undertaken by a suitably qualified individual and your retailer can organise this for
you. Alternatively, Gazco offer a manufacturers premium service with our friendly team of qualified engineers which can be booked at www.gazco.com/support
INSTALLATION GENERAL
TOOLS REQUIRED
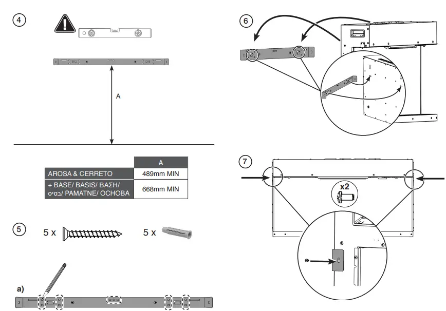
A Screwdriver, Spirit Level and Drill will be needed.
UNPACKING THE FIREPLACE
WARNING! DO NOT use this appliance if any part has been exposed to water.
Immediately call a qualified service technician to inspect and to replace any part of the electrical system if necessary.
Open the packaging carefully and remove the polystyrene.
Remove and discard the plastic bag.
Keep plastic wrapping away from children.
Be responsible when handling the packing materials.
Check all parts and accessories are removed before disposing of any packaging.
If necessary keep the original packaging for future transport and/ or storage.
Test the appliance before installation.
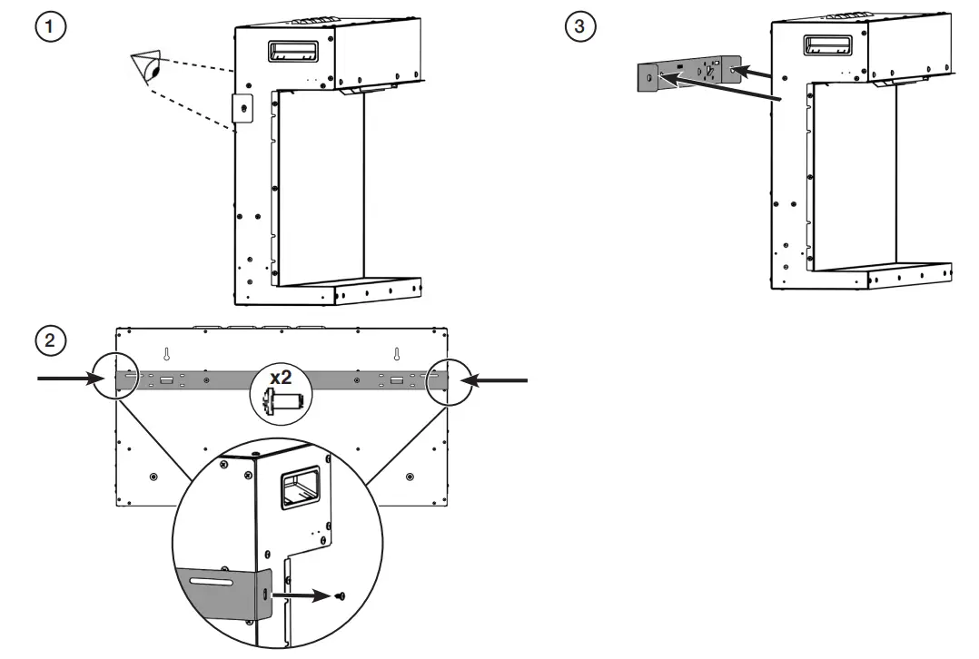
FITTING THE APPLIANCE
The appliance may be installed virtually anywhere in your home.
However, when choosing a location ensure that the general instructions are followed.
For best results, install out of direct sunlight.
The heater should ideally be fitted onto an internal flat wall constructed from either studwork and plasterboard block/ brick. The fixings provided are for use on brick walls ONLY. Please ensure that suitable fixings are used when securing to any hollow or purpose built cavity.
NOTE: This appliance is not suitable for fitting to a Cavity Wall, backing on to an outside wall, an open chimney or any opening that may be subject to damp and draft, unless adequate precautions are taken to avoid the appliance coming into contact with moisture or excessive drafts. In such installations, any existing chimney and/or purpose provided air vents should be fully sealed.
Make sure there are no pipes or cables behind the area to be drilled or cut.
Always ensure the appliance is adequately supported and sits on a firm structure when mounting above floor level.
The appliance should ideally be located close to a suitable mains socket to enable connection. An extension could be run from an existing socket outlet but this must be carried out by a suitably qualified electrical engineer.
The electrical socket must be easily accessible to allow disconnection when the appliance is fitted.
If the power cord is damaged, it must be repaired by the manufacturer, its authorised service centre or professional person.
Ensure that curtains and furniture are not positioned close to the chosen position, as this would create a potential fire hazard or block the heater outlet ducts.
WARNING! KEEP ALL COMBUSTIBLE MATERIALS AT LEAST 1M FROM THE FRONT OF THE ELECTRIC FIREPLACE.
SERVICING REQUIREMENTS
DURING SERVICING OF THIS APPLIANCE IT MAY BE NECESSARY TO CUT CABLE TIES IN ORDER TO ACCESS AND REMOVE SOME OF THE PARTS.
THESE MUST BE REPLACED WHEN REASSEMBLING THE APPLIANCE.
THIS APPLIANCE MUST ONLY BE SERVICED BY A SUITABLY QUALIFIED PERSON.
BEFORE UNDERTAKING ANY WORK ON THE APPLIANCE:
SWITCH OFF THE APPLIANCE AND ISOLATE THE POWER SUPPLY ENSURING THERE IS NO POWER TO THE APPLIANCE.
Wait for at least 10 minutes until the appliance has cooled down.
Remote Handset Battery Replacement
Replace with 2 AAA batteries. Make sure the batteries are installed correctly in the remote control.
NOTE: The remote control has a Battery Status indicator (top right corner), after an extended period of displaying empty the LED screen will cease to function despite the handset still being able to send commands. Replace the batteries to restore display.
Maintenance of Motors
The motor used on the flame effect is pre-lubricated for extended bearing life and requires no further lubrication. However, periodic cleaning/vacuuming of the heater unit is recommended.
Resetting the Thermal Cutout Switch
The appliance is fitted with an Electronic Safety Control (E.S.). This is a safety device which switches off the fire if, the appliance overheats for any reason e.g. when covered.
If the heater stops operating whilst the flame effect continues normally, this indicates that the E.S. Control is in operation.
The E.S. Control can only be re-set after the appliance has cooled down.
To re-set the E.S: Switch off the appliance (Manual On/Off switch) and leave for approximately 120 minutes.
Remove any obstruction to the fan heater outlet or other internal parts.
Switch on appliance and the E.S. Control will re-set. Ensure that the appliance is functioning correctly. If the E.S. Control operates again, the appliance should be checked by a competent Electrician.
TECHNICAL SPECIFICATION


CONTROL SYSTEM TECHNICAL DATA
| Main Control Board | Remote Receiver Board | GB: Remote Control | |
| Hardware | RC01-040A04 V2 | RF290B V1.2 | RF290A-TX V1.3 |
| Software | RC01-040A04 V2 | – | RF290C V06.0.HEX |
| GB: Frequency | – | – | ASK/OOK 433.92MHz |
| GB: Maximum Transmit Power | – | – | 10mW |
| AROSA 140 | 2000 WATTS |
| CERRETO 140 | 2000 WATTS |
A 230-240VAC 13 Amp 50Hz supply is required Maximum power consumption:
A 1.8 metre lead with plug containing a BS1362 13A fuse is supplied. Only use a BS1362 13A fuse with this appliance.
2 x Remote control handset battery (AAA).
PACKING CHECKLIST

INSTALLATION
WALL MOUNTED.

FREESTANDING.

WALL MOUNTED


FREESTANDING.

ALL

CERRETO 140

OPTIONAL BASE


OPTIONAL
FREESTANDING.

ALL


GLASS EMBERS
Spread the Glass Embers evenly over the fuel bed.
Note: The Ember Logs (See Log Layout) will rest directly on the fuel bed).

LOG SET – LOG LAYOUT



INFORMATION REQUIREMENT FOR ELECTRIC LOCAL SPACE HEATERS
| Heat Output | Model | Arosa 140 |
| Nominal Heat Output | P nom | 2.0kW |
| Minimum Heat Output | P min | 1.0kW |
| Maximum Continuous Heat Output | P max, c | 2.0kW |
Auxiliary Electricity Consumption
| At Nominal Heat Output | el max | 12.5W |
| At Minimum Heat Output | el min | 12.0W |
| In Standby Mode | el sb | 0.63W |
Type of heat input, for electric storage local space heaters only
| Manual heat charge control, with integrated thermostat | No |
| Manual heat charge control with room and/or outdoor temperature feedback | No |
| Electronic heat charge control with room and/or outdoor temperature feedback | No |
| Fan assisted heat output | No |
TYPE OF HEAT OUTPUT/ROOM TEMPERATURE CONTROL
| Single stage heat output and no room temperature control | No |
| Two or more manual stages, no room temperature control | No |
| With mechanic thermostat room temperature control | No |
| With electronic room temperature control | No |
| Electronic room temperature control plus day timer | No |
| Electronic room temperature control plus week timer | No |
OTHER CONTROL OPTIONS
| Room temperature control, with presence detection | No |
| Room temperature control, with open window detection | Yes |
| With distance control option | No |
| With adaptive start control | Yes |
| With working time limitation | No |
| With black bulb sensor | No |
Gazco Ltd, Osprey Road, Sowton Industrial Estate, Exeter, EX2 7JG
FOR ENQUIRIES IN THE U.K (EXCLUDING NI):
Gazco Ltd, Osprey Road, Sowton Industrial Estate, Exeter, Devon, England EX2 7JG
Tel: (01392) 261900
E-mail: [email protected]
FOR ENQUIRIES IN EUROPE (INCLUDING NI):
Stovax Heating Group (NI) Ltd (Comp reg NI675194), 40 Linenhall Street, Belfast, BT2
8BA DX 400 NR Belfast
Tel: +44 (0)1392 261990
E-mail: [email protected]



















