living co P90D25AP-H6 25L Microwave Oven Instruction Manual
PRECAUTIONS TO AVOID POSSIBLE EXPOSURE TO EXCESSIVE MICROWAVE ENERGY
- Do not attempt to operate this oven with the door open since open-door operation can result in harmful exposure to microwave energy. It is important not to bypass or tamper with the safety interlocks.
- Do not place any object between the oven front face and the door or allow food or cleaner residue to accumulate on sealing surfaces.
- Do not operate the oven if it is damaged. It is very important that the oven door is closed properly and that there is no damage to the
- Door (including any twisting),
- Hinges and latches (broken or loosened),
- Door seals and sealing surfaces.
- The oven should not be adjusted or repaired by anyone except qualified service personnel.
IMPORTANT SAFETY INSTRUCTIONS
When using electrical appliance basic safety precautions should be followed, including the following:
WARNING!–To reduce the risk of burns, electric shock, fire, injury to persons or exposure to excessive microwave energy
- Failure to regularly clean the inner cavity and waveguide can result in permanent damage to the waveguide insulating properties, this can then result in electrical failure and subsequent sparking to the safety earth circuit. This may result in the warranty being made void and will require repair by an authorised service centre.
- Use this appliance only for its intended use as described in the manual. Do not use corrosive chemicals or vapors in this appliance.
- The microwave oven is intended for defrosting, cooking and steaming of food only, it is not designed for industrial or laboratory use.
- Do not operate the oven when empty, this will result in permanent damage and may present a safety risk.
- Do not operate this appliance if it has a damaged cord or plug, if it is not working properly, or if it has been damaged or dropped. If the supply cord is damaged, it must be replaced by the manufacturer or its service agent or a similarly qualified person in order to avoid a hazard.
- WARNING!–Only allow children to use the oven with appropriate supervision and when adequate instructions have been given so that the child is able to use the oven in a safe way and understands the hazards of improper use.
- To reduce the risk of fire in the oven cavity:
- When heating food in plastic or paper container, keep an eye on the oven due to the possibility of ignition.
- Remove wire twist-ties from paper or plastic bags before placing bag in oven.
- If smoke is observed, switch off or unplug the appliance and keep the door closed in order to stifle any flames.
- Do not use the cavity for storage purposes. Do not leave paper products, cooking utensils, or food in the cavity when not in use.
- The microwave oven is intended for heating food and beverages. Drying of food or clothing and heating of warming pads, slippers, sponges, damp cloth and similar may lead to risk of injury, ignition or fire.
- WARNING!–Liquid or other food must not be heated in sealed containers since they are liable to explode.
- Microwave heating of beverages can result in delayed eruptive boiling, therefore care has to be taken when handle the container.
- Do not fry food in the oven. Hot oil can damage oven parts and utensils and even result in skin burns.
- Eggs in their shell and whole hard-boiled eggs should not be heated in microwave ovens since they may explode even after microwave heating has ended.
- Pierce foods with heavy skins such as potatoes, whole squashes, apples and chestnuts before cooking.
- The contents of feeding bottles and baby food jars should be stirred or shaken and the temperature should be checked before serving in order to avoid burns.
- Cooking utensils may become hot because of heat transferred from the heated food.
Potholders may be needed to handle the utensil. - Utensils should be checked to ensure that they are suitable for use in microwave oven.
- WARNING!–It is hazardous for anyone other than a trained person to carry out any service or repair operation which involves the removal of any cover which gives protection against exposure to microwave energy.
- This product is a Group 2 Class B ISM equipment. The definition of Group 2 which contains all ISM (Industrial, Scientific and Medical) equipment in which radio-frequency energy is intentionally generated and/or used in the form of electromagnetic radiation for the treatment of material, and spark erosion equipment. For Class B equipment is equipment suitable for use in domestic establishments and in establishments directly connected to a low voltage power supply network which supplies buildings used for domestic purpose.
- This appliance is not intended for use by persons (including children) with reduced physical, sensory or mental capabilities, or lack of experience and knowledge, unless they have been given supervision or instruction concerning use of the appliance by a person responsible for their safety.
- Children should be supervised to ensure that they do not play with the appliance.
- WARNING!–Do not install oven over a range cook top or other heat-producing appliance. if installed in this way, this could result in damage and the warranty could be made void.
- The microwave should preferably be used freestanding however, if used in a cabinet care must be taken to ensure the minimum clearance distances from the sides and back are maintained – as detailed herein.
- WARNING!–The appliance and some accessible parts may become hot during use. Young children should be kept away.
- Appliance is not to be used by children or persons with reduced physical, sensory or mental capabilities, or lack of experience and knowledge, unless they have been given supervision or instruction.
- WARNING!–If the door or door seals are damaged, the oven must not be operated until it has been repaired by a competent and authorized service person.
- The appliance is not intended to be operated by means of an external timer or separate remote-control system.
- The microwave oven is for household use only and not for commercial use.
- Please secure the turntable before you move the appliance to avoid damage.
- CAUTION!–It is dangerous to attempt repair of the appliance by no other than a specialist because under these circumstances the cover must be removed which assures protection against microwave radiation. Contact an authorized service centre.
- Use gloves or an insulated towel if you remove any heated food.
- Caution! Steam will escape, when opening lids or wrapping foil.
- This appliance can be used by children aged from 8 years and above and persons with reduced physical, sensory or mental capabilities or lack of experience and knowledge if they have been given supervision or instruction concerning use of the appliance in a safe way and understand the hazards involved. Children shall not play with the appliance. Cleaning and user maintenance shall not be made by children unless they are aged from 8 years and above and supervised.
INSTALLATION GUIDE
- Make sure that all the packing materials are removed from the outside and the internal cooking cavity.
- WARNING!–Check the oven for any damage, such as misaligned or bent door, damaged door seals and sealing surface, broken or loose door hinges and latches and dents inside the cavity or on the door. If there is any damage, do not operate the oven and contact qualified service personnel.
- WARNING: Do not install oven over a range cooktop or other heat-producing appliance. If installed near or over a heat source, the oven could be damaged and the warranty would be void.
- Do not remove the Wave Guide Cover (light brown Mica section) that is attached to the oven cavity to protect the magnetron.
- This microwave oven must be placed on a flat, stable surface to hold its weight and the heaviest food likely to be cooked in the oven.
- Do not place the oven where heat, moisture, or high humidity are generated, or near combustible materials.
- If the microwave is located within a recessed cavity – ensure the minimum clearance dimensions have been met.
- For correct operation, the oven must have sufficient airflow. Allow 20cm of space above the oven, 10cm at back and 5cm on both sides. Do not cover or block any openings on the appliance. Do not remove feet.
- For general safety and ease of access, the minimum recommended installation height is 85cm.
- Do not operate the oven without glass tray, roller support, and shaft in their correct positions.
- Make sure that the power supply cord is undamaged and does not run under the oven or over any hot or sharp surface.
- Do not use the oven outdoors.
- Blocking the intake and/or outlet openings can prevent venting of the cavity during cooking which can cause a build-up of moisture which will lead to damage of the oven.
- Plug your oven into a standard household outlet. The socket must be readily accessible so that it can be easily unplugged in an emergency.

GROUNDING INSTRUCTIONS
This appliance must be grounded. This oven is equipped with a cord having a grounding (earth) wire with a grounding plug. It must be plugged into a wall receptacle that is correctly installed and grounded. In the event of an electrical short circuit, grounding reduces risk of electric shock by providing an escape wire for the electric current. It is recommended that a separate circuit serving only the oven be provided.
WARNING!–Improper use of the grounding plug can result in a risk of electric shock.
Note:
- If you have any questions about the grounding or electrical instructions, consult a qualified electrician or service person.
- Neither the manufacturer nor the retailer can accept any liability for damage to the oven or personal injury resulting from failure to observe the electrical connection procedures.
RADIO INTERFERENCE
Operation of the microwave oven can cause interference to your radio, TV, or similar equipment. When there is interference, it may be reduced or eliminated by taking the following measures:
- Reorient the receiving antenna of radio or television.
- Relocate the microwave oven with respect to the receiver.
- Move the microwave oven away from the receiver.
- Plug the microwave oven into a different outlet so that microwave oven and receiver are on different branch circuits.
BEFORE CALLING FOR SERVICE
Before asking for service, please check each item below:
- Check to ensure the oven is plugged in securely. If not, remove the plug from the outlet, wait 10 seconds, and plug it in again securely.
- Check for a blown circuit fuse or a tripped main circuit breaker. If these seem to be operating properly, test the outlet with another appliance.
- Check to ensure the control panel is programmed correctly and the timer is set.
- Check to ensure the door is securely closed, engaging the door lock system. If the door is not properly closed, the microwave energy will not flow inside.
IF NONE OF THE ABOVE RECTIFIES THE SITUATION, THEN CONTACT A QUALIFIED TECHNICIAN. DO NOT TRY TO ADJUST OR REPAIR THE OVEN YOURSELF.
COOKING TECHNIQUES
- Arrange food carefully. Place thickest areas towards outside of dish.
- Watch cooking time. Cook for the shortest amount of time indicated and add more as needed. Food severely overcooked can smoke or ignite.
- Cover foods while cooking. Covers prevent spattering and help foods to cook evenly.
- Turn foods over once during microwave cooking to increase speed of cooking and achieve a more even heat distribution. Such foods as chicken and hamburgers. Large items like roasts must be turned over at least once.
COOKING UTENSILS GUIDE
- Microwave energy cannot penetrate metal so metal utensils or dishes with metallic trim should not be used. Only use utensils that are suitable for use in microwave ovens. Metallic containers for food and beverages are not permitted during microwave cooking. This requirement is not applicable if the manufacturer specifies size and shape of metallic containers suitable for microwave cooking.
- Do not use recycled paper products when microwave cooking, as they may contain small metal fragments which may cause sparks and/or fires.
- Round /oval dishes rather than square/oblong ones are recommended, as food in corners tends to overcook.
The list below is a general guide to help you select the correct utensils:
| Cookware | Microwave Cooking |
| Heat–Resistant Glass | Yes |
| Non Heat–Resistant Glass | No |
| Heat–Resistant Ceramics | Yes |
| Microwave–Safe Plastic Dish | Yes |
| Kitchen Paper | Yes |
| Metal Tray | No |
| Metal Rack | No |
| Aluminum Foil & Foil Containers | No |
| Wood | No |
| Metal twist ties | No |
SPECIFICATIONS
| Power Consumption | 230-240V/50Hz, 1400W(microwave) |
| Output | 900W |
| Operation Frequency | 2450MHz |
| Outside Dimensions | 281mm(H)×483mm(W)×378mm(D) |
| Oven Cavity Dimensions | 220mm(H)×340mm(W)×344mm(D) |
| Oven Capacity | Compact 25 Litres |
| Net Weight | Approx.13kg |
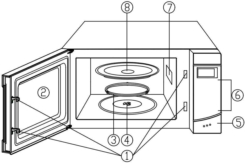
PRODUCT OVERVIEW

- Door Safety Lock System
- Oven Window
- Roller Ring
- Turntable Shaft
- Door Release Button
- Control Panel
- Waveguide cover
- Glass Tray
WARNING: Failure to regularly clean the inner cavity and waveguide cover can result in permanent
damage to the waveguide insulating properties, this can then result in electrical failure and subsequent
sparking to the safety earth circuit. This may result in the warranty being made void and will require repair by an authorised service centre.
CONTROL PANEL

- MENU ACTION SCREEN
Clock, cooking time, power, action indicators are displayed. - POWER LEVEL
Press to set cooking power level. - COOK
Use to set multistage cooking program. - TIMER
Press to set timer function. - COOK BY WEIGHT
Press to cook food based on weight. - DEFROST BY WEIGHT
Press to defrost food based on weight. - SPEED DEFRSOT
Press to defrost food based on time. - NUMBER BUTTONS
Press to set time, power level and food weight. - CLOCK
Press to set clock time. - RESET
Clears all previous settings before setting other function.
It is also used to set child lock. - START/+30SEC.
Press to start cooking and defrosting programs.
Press to add cooking time. - PAUSE/CANCEL
Press once to temporarily stop cooking, or twice to cancel cooking altogether.
OPERATION INSTRUCTIONS
General notes
- During cooking, when pressing PAUSE/CANCEL button once, the program will be paused, when pressing PAUSE/CANCEL button again, the program will be cancelled.
- After the cooking cycle has ended, the display will show ‘End’ and an audible beep sequence will sound every two minutes until the user presses any button or opens the door.
- When in the process of setting, if a delay of approximately 30 seconds occurs in between programming, the oven will return to standby mode.
Setting clock time
- In the standby mode, press CLOCK button once.
- Use number buttons to set the correct time.
- Press CLOCK button once to confirm.
NOTE: This is a 12- hour clock. When the oven is first plugged in, the display will show “ENTER”, “CLOCK”, “TIME”. If you don’t want to set the clock time, press the RESET button once to bypass. During cooking, you can check the current clock time by pressing CLOCK button.
Quick start
Use this feature to program the oven to microwave food at 100% power. In standby mode, press START/+30SEC button repeatedly to set cooking time (each press will increase in 30 second increments up to 99 minutes and 99 seconds). The oven will start to cook automatically.
NOTE: During microwave cooking, you can add cooking time by pressing START/+30SEC button. For Speed defrost, defrost by weight, cook by weight and auto cook menus you cannot use this function to add cooking time.
Microwave cooking
- In standby mode, use number buttons to set cooking time. The longest time is 99 minutes and 99 seconds.
- Press POWER LEVEL button once (default 100% power level), and then use number buttons to set alternative power levels.
- Press START/+30SEC. button to confirm.
Use single digit to set cooking power level:
| Press number button | Power (Display) | Press number button | Power (Display) | |
| 1,0 | 100% (100) | 4 | 40% (40) | |
| 9 | 90% (90) | 3 | 30% (30) | |
| 8 | 80% (80) | 2 | 20% (20) | |
| 7 | 70% (70) | 1 | 10% (10) | |
| 6 | 60% (60) | 0 | 0% (0) | |
| 5 | 50% (50) |
NOTE: During cooking, you can check the power level by pressing POWER LEVEL button.
Speed defrost
- In standby mode, press SPEED DEFROST button once.
- Use number buttons to set defrosting time. The longest time is 99 minutes and 99 seconds.
- Press START/+30SEC. button to confirm.
NOTE: During defrosting, the system will pause and emit an audible beep to remind the user to turn food over. Once completed, press START/+30SEC. button to resume the defrosting.
Defrost by weight
- In standby mode, press DEFROST BY WEIGHT button once.
- Use number buttons to set food weight. The weight ranges from 100 g to 1800 g.
- Press START/+30SEC. button to confirm.
NOTE: During defrosting, the system will pause and emit an audible beep to remind the user to turn food over. Once completed, press START/+30SEC. button to resume the defrosting.
Cook by weight
The time and the power are adjusted automatically once the food category and weight of food are programmed.
- In standby mode, press COOK BY WEIGHT button once.
- Set food code by pressing a number button (1~3 : NOTE: entry does not show on the display).
- Use number buttons to set food weight.
- Press START/+30SEC. button.
Cook by weight code description:
| Code | Food | Weight Range |
| 1 | Beef | 100 g – 2500 g |
| 2 | Mutton | 100 g – 2500 g |
| 3 | Pork | 100 g – 2000 g |
NOTE:
- Meat must be defrosted and at refrigerated temperature.
- During defrosting, the system will pause and emit an audible beep to remind the user to turn food over. Once completed, press START/+30SEC. button to resume the defrosting.
Timer function
- Press TIMER button once.
- Use number buttons to set desired time. The longest time is 99 minutes and 99 seconds.
- Press START/+30SEC. button to confirm.
NOTE: When the countdown ends, an audible beep will be emitted to remind you. Time countdown is displayed for 5 seconds by pressing TIMER button. You can cancel the program by pressing RESET button when the display shows the time.
In any state, if any button on the control panel is held down for 1 minute (ie accidentally activated due to contact pressure from an adjacent object), the program will stop working immediately, the display shows “FAIL” and the system will sound a beep sequence. Clear the obstacle away and press the PAUSE/CANCEL button to return standby mode.
Multistage cooking
Your oven can be programmed with up to 3 automatic cooking sequences. It can be composed of speed defrost with one or two microwave cooking programs, or composed of two microwave cooking programs.
Speed defrost with one or two-stage microwave cooking:
- In standby mode, press SPEED DEFROST button once.
- Set desired defrosting time by pressing number buttons.
- Press COOK button once.
- Input first microwave cooking program by entering time. Do not press START/+30SEC. button.
- Press COOK button once.
- Input the second microwave cooking program.
- Press START/+30SEC. button to start.
NOTE: Step 5 and 6 are not necessary if just need one microwave cooking program. Speed defrost can only be set in the first stage.
Two-stage microwave cooking:
Some recipes require different stages of cooking at different temperatures.
- Input the first microwave cooking program. Do not press START/+30SEC. button.
- Press COOK button once.
- Input the second microwave cooking program.
- Press START/+30SEC. to start.
Child lock
The lock prevents unsupervised operation by children.
To set: In standby mode, press and hold RESET button for 3 seconds, then an audible beep will sound, the oven will auto enter child lock mode and the lock indicator light will turn on. In the locked state, all buttons are disabled.
To cancel: Press and hold RESET button for 3 seconds, then a beep will sound, and the lock indicator light will switch off.
Auto cook
For the following food and cooking mode, it is not necessary to program the cooking time and power. It is sufficient to identify the type of food that you want to cook as well as the weight or servings of this food.
- Press the corresponding menu button once or repeatedly to select the food weight or servings
- Press START/+30SEC. button to start
Auto cook menus:
| Food | Note |
| Baked Potato (230 g/serving, 1-2 servings) | The result of auto cook depends on factors such as the shape and size of food, your personal preference of cooking level of certain foods. If you find the result inadequate, please adjust the cooking time accordingly. |
| Popcorn (99 grams) | |
| Pizza (150, 300, 450 grams) | |
| Beverage (200 ml/cup, 1-3 cups) | |
| Frozen Dinner (250, 500 grams) | |
| Reheat (200, 300, 400, 500, 600, 700,800 | |
| grams) |
CLEANING AND CARE
- Turn off the oven and unplug the power cord from the wall when cleaning.
- Keep the inside of the oven clean. When food splatters or spilled liquids adhere to oven walls, wipe with a damp cloth. Mild detergents may be used if the oven gets very dirty. Avoid using spray or other harsh cleaners. They may stain, streak or dull the door surface.
- The oven should be cleaned regularly and any food deposits should be removed. Failure to maintain the oven in a clean condition could lead to deterioration of surface that could adversely affect the life of the unit and could possibly result in a hazardous situation.
- Failure to regularly clean the inner cavity and waveguide can result in permanent damage to the waveguide insulating properties, this can then result in electrical failure and subsequent sparking to the safety earth circuit.
- The outside of the oven should be cleaned with a damp cloth. To prevent damage to the operating parts inside the oven, water should not be allowed to seep into the ventilation openings.
- Wipe the door and window on both sides, the door seals and adjacent parts frequently with a damp cloth to remove any spills or spatters. Do not use abrasive cleaner.
- A steam cleaner is not be used.
- Do not allow the control panel to become wet. Clean with a soft, damp cloth. When cleaning the control panel, leave oven door open to prevent oven from accidentally turning on.
- If steam accumulates inside or around the outside of the oven door, wipe with a soft cloth.
This may occur when the microwave oven is operated under high humidity condition. And it is normal. - It is occasionally necessary to remove the glass tray for cleaning. Wash the tray in warm sudsy water or in a dishwasher.
- The roller ring and oven floor should be cleaned regularly to avoid excessive noise. Simply wipe the bottom surface of the oven with mild detergent. The roller ring may be washed in mild, soapy water or in a dishwasher. When removing the roller ring, be sure to replace it in the proper position.
- Remove odors from your oven by combining a cup of water with the juice and skin of one lemon in a microwaveable bowl. Microwave for 5 minutes. Wipe thoroughly and dry with a soft cloth.
- If the light bulb burns out, please contact customer service to have it replaced.
- Please do not dispose this appliance into the domestic rubbish bin – please discuss with your local council for a suitable processing facility.
TROUBLE SHOOTING
| TROUBLE | POSSIBLE CAUSE | SOLUTION |
| Display does not operate | Supply properly Plug is not inserted | Unplug, wait 10 seconds and plug in again – ensuring plug is fully inserted and outlet switched on. |
| Household supply circuit breaker has activated or the socket outlet is faulty | Unplug the microwave oven, test the socket outlet by plugging in a different appliance. | |
| Oven does not operate | Door is not fully shut | Ensure door is correctly closed. |
| Sparking is seen from the cooking cavity | A metallic object located in the cooking cavity or the waveguide is dirty from lack of maintenance | Remove the metallic object and ensure waveguide and surrounding areas are clean. Note, if sparking continues this could indicate that the waveguide is permanently damaged. In which case it will be necessary to contact an appliance service centre. |
| Microwave interfering with reception oven TV | Radio and TV reception can be affected when a microwave oven is operating, this is a normal occurrence. | Move the radio / appliance away from the microwave oven to reduce interference. |
| Steam accumulating on door, hot air vents coming from vents | During cooking, steam may be released from food, most will exude from vents but some may accumulate on cool surfaces such as vents or on the door, this is normal. | To reduce the emission or risk of damage, ensure adequate clearances around the oven have been provided (see installation). Wipe any water deposits away straight after cooking. |
| Oven operated empty while | Operating a microwave oven while empty may result in a hazardous situation occurring. | Please ensure that food has been placed in the cooking cavity prior to operation. |
COMPLIANCE
This appliance has been fully tested and meets all requirements as set out by standards AS/NZS 60335.1 and AS/NZS 60335.2.25.
The RCM Mark (Regulatory Compliance Mark) indicates that the product complies with the relevant guidelines of the ACMA as well as corresponding government requirements for the safety of electrical
devices.
Responsible disposal
- At the end of its working life, make the appliance unserviceable by unplugging it from the power outlet and cutting the power cord.
- Do not throw this appliance out with your household rubbish. Electrical and electronic products contain substances which can have a detrimental effect on the environment and human health if disposed of inappropriately. Observe any local regulations regarding the disposal of electrical consumer goods and dispose of it appropriately for recycling. Contact your local authorities for advice on recycling facilities in your area.
Warranty
We pride ourselves on producing a range of quality home appliances that are both packed with features, and completely reliable. We are so confident in our products, we back them up with a 2 year warranty when accompanied with proof of purchase. Now you too can relax knowing that you are covered. Customer Helpline NZ: 0800 422 274 IM Version 1.0 June, 2021
Support





















