Pipishell PIMF 2 Installation Guide

PIMF2
Thank you for choosing our product! We strive to provide the best quality and services for our customers. Would you kindly share your experience on Amazon if you are satisfied? Should you have any issues, please don’t hesitate to contact us. Telephone: 800-556-9829 Mon-Fri 1 0am – 6pm (PST) (USA) (CAN) Email: [email protected] (US/CA/DE/UK/FR/IT /ES/ JP/ AU)
IMPORTANT SAFETY INFORMATION
- Check package contents against Supplied Parts and Hardware Lists to assure that all components were received undamaged. Do not use damaged or defective parts.If you require replacement parts, contact customer service at [email protected]\
- Not all parts and hardware included will be used.
- Carefully read all instructions before attempting installation.If you do not understand the instructions or have any concerns or questions, please contact customer service at [email protected]
- This product may contain moving parts. Use with caution.
- Do not use this product for any purpose or in any configuration not explicitly specified in this instruction. We hereby disclaims any liability for injury or damage arising from incorrect assembly, incorrect mounting, or incorrect use of this product.
- DO NOT INSTALL INTO DRYWALL ALONE.
Tools Needed (Not Included)

Supplied Parts

Supplied Hardware
Hardware for Attaching Wall Plate to Wall

Hardware for Attaching TV Bracket to TV

Step 1 Measure VESA
Measure the distance between the holes located at the back of your TV (these measures may form the shape of a square, or a rectangle) and check that these taken measures are within the VESA (*) range for this wall
mount. (*) VESA: International standard established by the TV manufacturers used to determine if LCD/LED TVs are compatible with wall mounts.
Step 2-1 Choose the combination that applies to your VESA
Determine which TV bracket option A, B, or C, to use based on your TV hole pattern measurements from STEP 1.
Step 2-2 Select TV hardware
- Bolt diameter: hand thread bolts into threaded inserts on the back of TV to determine the correct bolt diameter(M4, M6, MS)
- Bolt length: verify adequate thread engagement with bolts or bolts/spacers combination. We recommend thread engagement by at least 5 turns.
– Too short will not hold the TV.
– Too long will damage the TV.
Step 2-2 Select TV Hardware - Bolt and spacer combination: spacers sometimes are needed to combine with bolts for several situations as below:



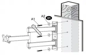
Step 3A Wall Plate Install (Concrete Wall)
AUTION:
Ensure the wall plate is securely fastened to the wall before continuing on to Anchor the next step.These anchors are for concrete or brick walls ONLY. DO NOT use them ~
in drywall or wood studs.Drywall covering the wall must not exceed 5/Bin.( 16mm )

Position the wall plate at your desired height, level the wall plate and mark the pilot hole locations.
Drill 3 pilot holes using a 25/64 in.(10 mm) diameter drill bit. Make sure the depth is not less than 65mm.

Install wall plate using lag bolts [A 1 ], washers [A2] and anchors [A3]. Be sure the anchors [A3] are seated flush with the concrete surface. Tighten the lag bolts [A 1] only until the
washers [A2] are pulled firmly against the wall plate. DO NOT over-tighten the lag bolts [A 1 ].
Step 3B Wall Plate Install (Wood stud)
AUTION:
Ensure the wall plate is securely fastened to the wall before continuing on to the next step.These anchors are for concrete or brick walls ONLY. DO NOT use them
in drywall or wood studs. Drywall covering the wall must not exceed 5/Bin.( 16mm )

Use a stud fmder(not included)to locate wood studs. Mark the edge and center locations.

Position the wall plate at your desired height and lineup the holes with your stud center line. Level the wall plate and mark the holes.


Install the wall plate [01] using lag bolts [A 1] and washer [A2]. Tighten the lag bolts [A 1] only until the washers [A2] are pulled firmly against the wall plate [01].
Step 4 Hang the TV onto the wall plate

Mounting your TV to the brackets and lock it.

If needed, the TV can be tilted.























