HINKLEY 45304 Laguna 4 Light 26 Inch Wide Lisa Mcdennon Crystal Chandelier

Product Information
The Laguna product comes in two different item numbers, 45304 and 45306, and is manufactured by Hinkley. It is a lighting fixture that includes long and short crystals measuring 8 inches and 6inches in length, respectively. The product manual provides instructions in English, Spanish, and French. The product comes with a mounting strap, cable, screws, and knobs for installation.
Product Usage
Before beginning installation, ensure that the power supply is turned off. If new wiring is required, consult a qualified electrician or local authorities for code requirements. Follow the steps below for installation:
SAFETY WARNING
Read wiring and grounding instructions [FRIS 18] and any additional directions. Turn power supply off during installation. If new wiring is required, consult a qualified electrician or local authorities for code requirements.
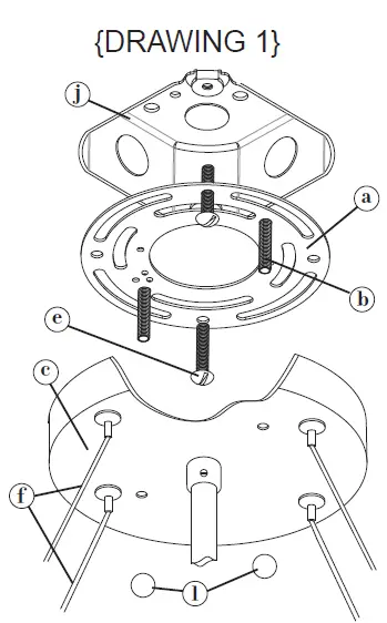
Mounting Strap Installation
- Thread the two screws (b) into the mounting strap (a), ensuring that the ground screw is on the opposite side from the screw heads.
- Fasten the mounting strap (a) to the junction box (J) with the original outlet box screws (e), as shown in Drawing 1.

Cable Hanging
- Determine the length of cable (f) required to hang the fixture by measuring the distance between the floor and ceiling. Subtract the height of the fixture and the distance the fixture will hang above the floor. The remaining distance is the length of cable required.
- Mark this length with a marking pen and make adjustments in small increments using the restraint (g) – see Drawing 2.

- After all adjustments are complete, adjust the wire cable and secure it by tightening screw (s) loosened earlier.
- The excess cable can be cut at this point, leaving approximately 6 inches of cable for final adjustments.
- Slide the holes in the cover (c) over the screws (b) and tighten the decorative knobs (l) to secure the fixture to the ceiling.
- Taking the cable (f), determine the length you require to hang the fixture and mark this length with a marking pen. Note: To do this, measure the distance between fixture and the distance the fixture will hang above the floor. The remaining distance is the length of cable required.
EXAMPLE: (floor to ceiling 108” – height of fixture 12” – distance above floor 64” = 32”) It is recommended that you leave 6-12” of extra cable for adjusting later. the floor and the ceiling. Subtract the height of the - To adjust cable, pull cable (f) through spring loaded locking mechanism (g) up to the mark previously made. Note: the cable (f) can be pulled through but can not be pulled back out at this time. Final adjustments will be done after fixture is hung from the ceiling – see Drawing 1.
- OPTIONAL: Before wiring, the fixture can be layed on the floor and the length of cables (f) can be adjusted by holding the canopy above the fixture. This will get the cable closer to there final lenght. luminaire supply wire can also be adjusted at this time. It is recommended that 6” of extra cable and wire be left above the canopy for final adjustment later.
- Adjust supply cable and loosen screw (s) in coupler (r) on canopy. pull excess wire up through coupler, and leave and extra 6” to use for wiring Make electrical connections from supply wire to fixture lead wires. Refer to instruction sheet [FRIS18] and follow all instructions to make all necessary wiring connections – see Drawing 3.
- Excess cable can be cut off at this time. It is suggested to leave approximately 6” of cable for final adjustments. Which can be tucked into the canopy.
- Slip the holes in canopy (c) over screws (b) and adjust and thread on decorative knobs (l) to secure fixture to ceiling.
- Cable length can now be adjusted to level fixture. Use a screwdriver to release cable by gently pressing upward on outside clyinder of cable retraint (g) – see Drawing 2. Make adjustments in small increments. After all adjustments are complete adjust the wire cable and secure cable by tightening screw (s) loosened earlier.
SIZE
Your Laguna fixture is supplied with 2 size crystal drops.
- (L)ong crystals 8″ in length.
- (S)hort crystals 6″ in length.
Below is a sketch showing the pattern of the Long and Short cyrstals as they were applied when the fixture was photo- graphed for the Hinkley catalog. Please refer to your specific fixture number below. Feel free to use your hidden artistic talent and create a pattern that reflects you.

INSTRUCTION
For indoor fixtures, follow the steps below for wiring:
- Connect the positive supply wire (A) to the positive fixture lead (B) using an appropriately sized twist-on connector – see Drawings 1 or 2.
- Connect the negative supply wire (C) to the negative fixture lead (D).
- Refer to the grounding instructions in IS 18 to complete all electrical connections.
Note: Always read the wiring and grounding instructions in IS 18 and follow any additional directions provided in the manual.
wiring instructions


- Indoor Fixtures
- Connect positive supply wire (A) (typically black or the smooth, unmarked side of the two-conductor cord) to positive fixture lead (B) with appropriately sized twist on connector – see Drawings 1 or 2.
- Connect negative supply wire (C) (typically white or the ribbed, marked side of the two-conductor cord) to negative fixture lead (D).
- Please refer to the grounding instructions below to complete all electrical connections
- Outdoor Fixtures
- Connect positive supply wire (A) (typically black or the smooth unmarked side of the two-conductor cord) to positive fixture lead (B) with appropriately sized twist on connector — see Drawings 2 or 3.

- Connect negative supply wire (C) (typically white or the ribbed, marked side of the two-conductor cord) to negative fixture lead (D).
- Cover open end of connectors with silicone sealant to form a watertight seal.
- If installing a wall mount fixture, use caulk to seal gaps between the fixture mounting plate (backplate) and the wall. This will help prevent water from entering the outlet box. If the wall surface is lap siding, use caulk and a fixture mounting platform specially.
- Please refer to the grounding instructions below to complete all electrical connections.
- Connect positive supply wire (A) (typically black or the smooth unmarked side of the two-conductor cord) to positive fixture lead (B) with appropriately sized twist on connector — see Drawings 2 or 3.
Grounding instructions
- Flush Mount Fixtures
For positive grounding in a 3-wire electrical system, fasten the fixture ground wire (E) (typically copper or green plastic coated) to the fixture mounting strap (M) with the ground screw (S) – see Drawing 1.
Note: On straps for screw supported fixtures, first install the two mounting screws in strap. Any remaining tapped hole may be used for the ground screw. - Chain Hung Fixtures
Loop fixture ground wire (E) (typically copper or green plastic coated) under the head of the ground screw (S) on fixture mounting strap (M) and connect to the loose end of the fixture ground wire directly to the ground wire of the building system with appropriately sized twist-on connectors – see Drawing 2.
- Post-Mount Fixtures
Connect fixture ground wire (E) (typically copper or green plastic coated) to power supply ground with appropriately sized twist-on connector inside post. Cover open end of connector with silicone sealant to form a watertight seal – see Drawing 3.
HINKLEY 33000 Pin Oak Parkway, Avon Lake, OH 44012 800.446.5539 / 440.653.5500 hinkley.com














