
C012800 Nightwave Ultra Low Light Marine Camera
User Manual
SIONYX, LLC
100 Cummings Center
Beverly, MA 01915
U.S.A.
FOLLOW US Share your SIONYX content and be sure to tag us!
NEED HELP?
| ONLINE CHAT | sionyx.com |
| SUBMIT A TICKET | sionyx.com/contact |
| 24/7 SUPPORT | sionyx.com/support |
| CALL OR TEXT | (866) 827-8237 |
Register your device and stay up to date by visiting the URL or scanning the QR code below.
SIONYX, LLC
LIGHTWAVE Made in Taiwan SIONYX.com/patents![]()
WELCOME TO NIGHT WAVE
THIS IS SIONYX. We believe that human endeavor should not be limited by daylight. In the darkness of night, greatness is possible. Adventure enabled. And a full sense of all sight is achievable, no matter the light.
BOX INCLUDES:
| A | NIGHTWAVE CAMERA |
| B | POWER + ANALOG VIDEO CABLE (5M) |
| C | SMA TO BNC ADAPTER |
| D | BNC TO RCA ADAPTER |
| E | POWER FUSE + FUSE HOLDER |
| F | DIGITAL USB VIDEO CABLE (2M) |
| G | BASE GASKET |
| H | MOUNTING HARDWARE KIT |
| I | INSTALL TEMPLATE |

GETTING STARTED
To get started, please review the legends on the following pages.


LED STATUS
| ORANGE | BOOTING |
| BLUE | RUNNING |
| RED | FAULT |
PARTS LEGEND
| 1 | PIVOTING HEAD |
| 2 | CAMERA OPTIC |
| 3 | MAIN HOUSING |
| 4 | BASE PLATE |
| 5 | STATUS LED |
| 6 | TILT LOCK |
| 7 | CENTER MARK |
| 8 | LOCKING SCREW |
| 9 | UNLOCK MARK |
| A | M6 THREADED |
| B | TOP DOWN THROUGH HOLES |
| C | 1/4-20 TRIPOD MOUNT |
| D | CABLE HOLE |
SEPARATE CAMERA FROM BASE PLATE
- Loosen the8 LOCKING SCREW.
- Rotate 3 MAIN HOUSING until 9 UNLOCK MARK is aligned with the 7 CENTER MARK.
- Separate the base plate from the camera. FiG 1

CONNECT CABLES
- Separate camera from a base plate.
- Remove cable retainer with the included Allen wrench. FIG 2

- Remove the rubber gasket from the cable. (FIG.2s)
- Remove cable strain relief cover. ( FIG.2c)
- Remove connector protective cover. ( FIG.20)
- Separate connectors & remove cable from housing.

- Feed the new cable through housing (FG.2A) & install a rubber gasket around it. ( FIG.2)
- Mate connectors lay them in position, and install the protective cover.
- Pull extra cable slack through housing ( FIG.2A) & re-install cable retainer. (FIG.2)
- Re-connect the base plate to the camera.
INSTALLATION
INSTALLATION CHECKLIST
Installation includes the following activities:
- Plan the system installation and location.
- Obtain all required equipment and tools.
- Site camera to assure proper location and viewing angle.
- Plan cable routing.
- Mark and drill cable and mounting holes.
- Make all connections into equipment.
- Secure all equipment in place.
- Power on and test the system.
VERSATILE MOUNTING INSTALLATION: LOCATION REQUIREMENTS
Prior to installing Nightwave, please consider the following:
- Select an installation location as high as practical with minimum obstructions.
- Select an installation location that is greater than 1m from any magnetic compass.
- Select an installation location that is greater than 1m from any source of EMI (electromagnetic interference; radio, generators, motors, radar).
- The mounting surface must be horizontal and level.
- Ensure the camera installation hardware does not weaken the boat’s structure.
- Choose a drill size appropriate for the installation surface material and types of fasteners.
- Ensure there are no hidden structures, wires or conduits beneath the install area that may be damaged by the installation hardware.
- Ensure cable length and routing is adequate for installation location interference. (Radio, generators, motors, radar)
When planning the installation location, consider the following points:
- The camera is waterproof and appropriate for above decks mounting.
- When mounting the camera in a ball-down position, ensure that the camera is installed with adequate drainage so that standing water does not collect in the base.
- Ensure the camera is installed in a location where it can be easily accessed for regular periodic cleaning (fresh-water rinse), an inspection of mounting point integrity and mechanical soundness, and preventative maintenance.
- The underside (inside) of the compartment or deck on to which the camera is mounted must be weather-tight. You must ensure protection from water ingress to cables and connections.
- The mounting surface must be horizontal.
- The camera should be mounted as high as practical, but without interfering with any radar, navigational or communications electronics.
- Choose a location that will provide the most unobstructed view in all directions.
- Choose a location as close to the vessel’s center line as possible. This provides a symmetrical view when looking forward or aft.
- Select a location for the camera that is at least 1 m (39.4 in.) from any magnetic compass.
- Select a location that is at least 1 m (3 ft) from devices that may cause interference, such as motors, generators, and radio transmitters/receivers.
- If installing an optional JCU, select a location for the JCU that is at least 1 m (39.4 in.) from any magnetic compass.
CAMERA ORIENTATION
The camera can be mounted in 2 orientations known as “Ball up” and “Ball down.”
BALL-UP: The camera is mounted on top of the mounting surface.
BALL-DOWN: The camera is suspended upside down, below the mounting surface.
The default video image orientation is for the ball-up configuration; if the camera is mounted in the ball-down configuration then the video image must be rotated via the companion app.
MOUNTING THE CAMERA
Use these instructions to mount the camera unit in position.
TEMPORARY MOUNTING WITH BASE
Use the 1/4-20″ receiver located on the bottom of the Nightwave base to attach a mount.
TEMPORARY MOUNTING WITHOUT THE BASE
Separate camera from the base plate and use the 1/4-20″ receiver located on the bottom of Nightwave to attach a mount.
DISCLAIMER: Mounts shown are for instructional purposes only and are not included with Nightwave purchase.
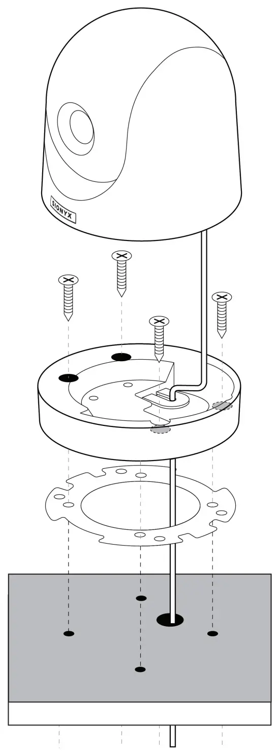
PERMANENT INSTALLATION: TOP-DOWN
- Determine the appropriate mounting location taking into consideration all manufacturer suggestions.
- Using the provided template, mark the appropriate hole locations. (Assure the template is oriented precisely in the desired viewing direction. There will be no opportunity of left-right adjustments after installation.)
- Identify the appropriate fasteners for installation material, and location, and drill appropriately sized holes. (Provided screws may be used if type and size are appropriate for install location material.)
- Drill appropriately sized hole for video/power cable.
- Separate the main camera housing from the bottom section by twisting and lifting apart.
- Install video/power cable.
- Take care to measure the bottom gasket is installed properly.
- Set the bottom section of the camera in position and align it with drilled holes.
- Tighten down all fasteners snugly and evenly, assuring the bottom gasket is compressed slightly.
- Re-assemble the camera main housing to the bottom housing.
- Adjust tilt angle to the desired setting.
- Lock the camera in place by tightening the lock screw.

PERMANENT INSTALLATION: BOTTOM-UP
- Determine the appropriate mounting location taking into consideration all manufacturer suggestions.
- Using the provided template, mark the appropriate hole locations. (Assure the template is oriented precisely in the desired viewing direction. There will be no opportunity of left-right adjustments after installation.)
- Identify the appropriate fasteners for installation material, and location, and drill appropriately sized holes. (Fastener shall be of the appropriate length to tighten the camera down and slightly compress the gasket.)
- Drill appropriately sized hole for video/power cable.
- Separate the main camera housing from the bottom section by twisting and lifting apart.
- Install video/power cable.
- Take care to measure the bottom gasket is installed properly.
- Set the bottom section of the camera in position and align it with drilled holes
- Tighten down all fasteners snugly and evenly, assuring the bottom gasket is compressed slightly.
- Re-assemble the camera main housing to the bottom housing.
- Adjust tilt angle to the desired setting.
- Lock the camera in place by tightening the lock screw.

GENERAL CABLING GUIDANCE
CABLE TYPES & LENGTH
- It is important to use cables of the appropriate type and length
- Unless otherwise stated, only use cables supplied by ONYX.
- Ensure that any non-SIONYX cables are of the correct quality and gauge for the installation.
ROUTING CABLES
- Rout cable according to the below requirement to maximize performance and prolong cable life.
- Do NOT bend cables excessively. Wherever possible, ensure a minimum bend diameter of 200 mm (8 in) / minimum bend radius of 100 mm (4 in).

- Protect all cables from physical damage and exposure to heat. Use trunking or conduit where possible.
- Do NOT run cables through bilges or doorways, or close to moving or hot objects.
- Secure cables in place using tie-wraps or lacing twine. Coil any extra cable and tie it out of the way.
- Where a cable passes through an exposed bulkhead or deckhead, use a suitable watertight feed-through.
- Do NOT run cables near engines or fluorescent lights.
- Always route data cables as far away as possible from other equipment and cables, high current carrying AC and DC power lines, and antennas.
STRAIN RELIEF
Ensure adequate strain relief is provided to protect connectors from strain and ensure they will not pull out under extreme sea conditions.
GETTING CONNECTED
CONNECT TO POWER
Follow marine electrical standards when wiring the camera.
- Determine that proper voltage levels are available. (12V DC) (NOTICE: 12V DC power must not exceed 3Vrms of noise (0.15-80Mhz). Any noise exceeding 3Vrms will impact image quality.)
- Finalize cable installation.
- Install in-line fuse. vll
- Connect power wires to corresponding positive and negative power terminals.ll+llll
- If using a USB-A cable instead, see [ DIAGRAM 2]
CONNECT TO VIDEO
- Locate the video input on your display.
- Install the appropriate adapter if necessary. FIG 4 [DIAGRAM 1]
- Connect Analog video output DIAGRAM 1 to Analog video input of your display.
- If using a USB-A cable instead, see [DIAGRAM 2 ]

| l | WATERPROOF CONNECTOR ON CAMERA END |
| II | +12V TERMINAL |
| Ill | GROUND TERMINAL |
| IV | IN-LINE FUSE HOLDER+ FUSE |
| V | SMA VIDEO CONNECTION |
| VI | SMA TO BNC ADAPTER (USE IF NECESSARY) |
| VII | BNC TO RCA ADAPTER (USE IF NECESSARY) |
| VIII | USB-A POWER + VIDEO CONNECTION |
CAMERA SETUP
ADJUST THE TILT
- Remove protective rubber cap and loosen the 6 TILT LOCK SET SCREW. FIG.5
- Set the angle by manually adjusting the pivoting head of the camera, forward and back.
- Gently tighten the set screw and replace the rubber protective cap.

SAFETY
IMPORTANT PRODUCT & SAFETY INSTRUCTIONS
The use of this product is an acknowledgment and agreement to all the product instructions, safety warnings, privacy policy, and other pertaining documentation outlined or referenced in this document.
THIS DOCUMENT CONTAINS IMPORTANT SAFETY AND HEALTH INFORMATION THAT MUST BE READ BEFORE USE.
WARNING
Failure to properly set up, use, and care for this product can increase the risk of serious injury, death, property damage, or damage to the product or related accessories. Exercise caution when using a SIONYX product as part of your active lifestyle. Always be aware of your surroundings to avoid injury to yourself and others.
- The product shall be used in accordance with all manufacturing instructions and limits.
- Read all provided documentation, and keep it for future reference.
- Follow all instructions and heed all warnings.
- Properly install, use, and maintain all power and data cables as per manufacturing specifications.
- Only use attachments and accessories specified and/or approved by ONYX.
- ONYX Nightwave is designed to be serviced only by qualified service personnel. Visit sionyx.com for more information.
Hereby, SIONYX, LLC declares that the radio equipment type SIONYX Nightwave is in compliance with Directive 2014/53/EU. Visit sionyx.com/support for full documentation and company contact information
The ONYX Nightwave camera transmits at 2.412 GHz 2.472 GHz. The maximum power transmitted in this frequency band is EIRP 15.83 mW. Country-specific rules and regulations can prevent or limit the use of some or all the listed frequency bands and power level.
IC REGULATIONS
This device complies with Industry Canada license-exempt RSS standards. Operation is subject to the following two conditions: (1) This device may not cause interference and; (2) This device must accept any interferenceincluding interference that may cause undesired operation of the device. This Class B digital apparatus complies with Canadian ICES-003.
RF EXPOSURE WARNING
The equipment complies with RF exposure limits set forth for an uncontrolled environment. The antenna(s) used for this transmitter must not be co-located or operating in conjunction with any other antenna or transmitter.
CAUTION
Radiofrequency emissions from electronic equipment can negatively affect the operation of other electronic equipment, particularly marine radio and navigation equipment causing it to malfunction. The wireless transmitters and electrical circuits in your product may cause interference in other electronic equipment. When using SIONYX products near another device, read that device’s user guide for any safety instructions. Power your camera off whenever it is forbidden to use it or when it may cause interference.
FCC STATEMENT
This device complies with Part 15 of the FCC Rules. Operation is subject to the following two conditions: (1) This device may not cause harmful interference; and (2) This device must accept any interference received, including interference that may cause undesired operation.
WARNING
Failure to take the following precautions can result in serious injury or death from electric shock, fire, or damage to your SIONYX camera or powered accessories:
- Do not drop, disassemble, open, crush, bend, deform, puncture, shred, microwave, incinerate or paint the camera or powered accessories.
- Do not insert foreign objects into any opening on the camera.
- Do not use the camera if it has been damaged in any way.
- Do not dry the camera with an external heat source such as a microwave oven or hair dryer.
- Do not place open flame sources, such as lighted candles, on or near the product.
- Should the glass lens cover break, care should be taken to avoid injury.
- Keep out of reach of children.
- Contact SIONYX Customer Support at sionyx.com/support
WARNING
Changes or modifications to this unit not expressly approved by the party responsible for compliance could void the user’s authority to operate the equipment.
NOTE
This equipment has been tested and found to comply with the limits for a Class B digital device, pursuant to part 15 of the FCC Rules. These limits are designed to provide reasonable protection against harmful interference in a residential installation.
This equipment generates, uses, and can radiate radio frequency energy and, if not installed and used in accordance with the instructions, may cause harmful interference to radio communications. However, there is no guarantee that interference will not occur in a particular installation. If this equipment does cause harmful interference to radio or television reception, which can be determined by turning the equipment off and on, the user is encouraged to try to correct the interference by one or more of the following measures:
- Reorient or relocate the receiving antenna.
- Increase the separation between the equipment and the receiver.
- Connect the equipment into a branch circuit different from that to which the receiver is connected.
- Consult an experienced marine radio/electronics technician for help.
The provided power and data cables must be used with this unit to ensure compliance with the Class B FCC limits.
IMPORTANT NOTE: FCC Radiation Exposure Statement
This equipment complies with FCC radiation exposure limits set forth for an uncontrolled environment. End users must follow the specific operating instructions for satisfying RF exposure compliance. This transmitter must not be co-located or operating in conjunction with any other antenna or transmitter.
NOTICES
Extreme low or high-temperature conditions may temporarily prevent the camera from working properly, for example, if the camera is covered in ice, or if the camera’s internal high-temperature limit is exceeded. Abide by all local laws and maritime safety requirements when using your SIONYX Nightwave and related mounts and accessories, including all privacy laws, which may restrict recording in certain areas.
COMPASS SAFE DISTANCE
ONYX Nightwave devices output Electromagnetic Interference (EMI) that can cause inaccurate readings on a nearby compass. Mounting the Chartplotter far enough from the compass will prevent compass inaccuracy due to EMI. The ONYX Nightwave has a Compass Safe Distance found in the installation manual. Measure the distance from the center of the compass to the closest edge of the Nightwave.
DISPOSAL
Electronics donation and recycling is a great ways to help conserve resources and natural materials. It is important to make sure you are donating and/or recycling electronics safely and correctly.
The Waste Electrical and Electronic Equipment (WEEE) Directive requires the recycling of waste electrical and electronic equipment which contains materials, components, and substances that may be hazardous and present a risk to human health and the environment when WEEE is not handled correctly.
Equipment marked with the crossed-out wheeled bin symbol indicates that the equipment should not be disposed of in the unsorted household waste.
Local authorities in many regions have established collection schemes under which residents can dispose of waste electrical and electronic equipment at a recycling center or other collection point.
For full regulatory and safety information and instructions visit sionyx.com/support
MAINTENANCE
The camera housing and lens will require occasional cleaning. You should clean the lens when imaging quality degradation is noticed or excessive contaminant build-up is seen.
Clean the interface between the yoke and base often to prevent the accumulation of debris or salt deposits.
- Do NOT wipe the lens window with a dry cloth, or with abrasive materials such as paper or scrub brushes, as this could scratch the coating.
- Do NOT use acid or ammonia-based products.
- Do NOT pressure wash.
Particular care should be taken when cleaning the lens window, this has a protective anti-reflective coating that may be damaged by improper cleaning.
- Switch off the power to the unit.
- Clean the camera body with a clean, soft cotton cloth. You can moisten the cloth and use a mild detergent if required.
Clean the camera lens.
- Rinse the lens with fresh water to remove all dirt particles and salt deposits, and allow to dry naturally.
- If any spots or smears remain, very gently wipe the lens window with a clean microfiber cloth or soft cotton cloth.
- If necessary, use isopropyl alcohol or a mild detergent to remove any remaining spots or marks.
ADDITIONAL RESOURCES
WARRANTY
Click here for full product warranty or visit: sionyx.com/nightwave-warranty
ADDITIONAL RESOURCES & SUPPORT
Click here for additional resources and support: sionyx.com/support
FOLLOW US
Share your SIONYX content and be sure to tag us!![]()
NEED HELP?
| ONLINE CHAT | sionyx.com |
| SUBMIT A TICKET | sionyx.com/contact |
| 24/7 SUPPORT | sionyx.com/support |
| CALL OR TEXT | (866) 827-8237 |
Register your device and stay up to date by visiting the URL or scanning the QR code below.
100 Cummings Center Beverly, MA 01915






















