D-Link Industrial Unmanaged Switch DIS-100G-6S

Industrial Unmanaged Switch with 4 10/100/1000Base-T Ports and 2 1000Base-X SFP Ports
Information in this document is subject to change without notice. © 2021 D-Link Corporation. All rights reserved.
Package Contents
Open the shipping carton of the switch and carefully unpack its contents. The carton should contain the following items:
- DIS-100G-6S switch
- DC power terminal block
- DIN-Rail mounting kit
- Quick Installation Guide
Hardware Overview
Interfaces
| Interface | Description |
| Ports 1-4 | 1000Base-T ports |
| Ports 5-6 | 1000Base-X SFP ports |
LED Indicators
| LED | Status | Description |
| PWR | On green | PWR1 or PWR2 has power. |
| Off | PWR1 and PWR2 power line is disconnected, abnormal, or does not have power input. | |
| Link/Act (Ports 1-4) | On green | Ethernet link is up but no traffic is detected. |
| Blinking green | Ethernet link is up and there is traffic detected. | |
| Off | Ethernet link is down. | |
| SFP (Ports 5- 6) | On green | Ethernet link is up but no traffic is detected. |
| Blinking green | Ethernet link is up and there is traffic detected. | |
| Off | Ethernet link is down. |
Hardware Installation
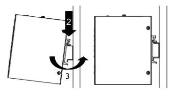
DIN-Rail Mounting
Mounting steps:
- Screw the DIN-Rail bracket on with the bracket and screws in the accessory kit.
- Hook the unit over the DIN-Rail.
- Push the bottom of the unit towards the DIN-Rail until it snaps into place.

Grounding the Switch
Use the following instructions to ground the switch. Please complete these steps before powering on the switch.
- Remove the grounding screw from the switch and place the grounding cable lug ring on top of the grounding screw opening.
- Insert the grounding screw back into the grounding screw opening and use a screwdriver to tighten the grounding screw, securing the grounding cable to the switch.
- Attach the terminal lug ring at the other end of the grounding cable to an appropriate grounding source.
- Verify that the connection between the grounding connector on the switch and the grounding source is secure.

Connecting to a Power Source
The switch can be powered by two power supplies (input range 12 to 48 V DC). Insert the positive and negative wires (AWG 14-26) into V+ and V- contact on the terminal block and tighten the wire-clamp screws to prevent the wires from being loosened.
Alarm Relay Connecting
The alarm relay output contacts are in the middle of the DC terminal block connector shown as the figure below. By inserting the wires, the relay output alarm will detect any port failures, and form a short circuit. The alarm relay out is “Normal Open”.


















