
Stainless Steel Wood Burning Oven
Model WO-CN-0640
Item 43113
Instruction Manual

Revised – 09/21/2020
Toll Free: 1-800-465-0234
Fax: 905-607-0234
Email: [email protected]
www.omcan.com


General Information
Omcan Manufacturing and Distributing Company Inc., Food Machinery of America, Inc. dba Omcan and Omcan Inc. are not responsible for any harm or injury caused due to any person’s improper or negligent use of this equipment. The product shall only be operated by someone over the age of 18, of sound mind, and not under the influence of any drugs or alcohol, who has been trained in the correct operation of this machine, and is wearing authorized, proper safety clothing. Any modification to the machine voids any warranty, and may cause harm to individuals using the machine or in the vicinity of the machine while in operation.
CHECK PACKAGE UPON ARRIVAL
Upon receipt of an Omcan shipment please inspect for external damage. If no damage is evident on the external packaging, open carton to ensure all ordered items are within the box, and there is no concealed damage to the machine. If the package has suffered rough handling, bumps or damage (visible or concealed), please note it on the bill of lading before accepting the delivery and contact Omcan within 24 hours, so we may initiate a claim with the carrier. A detailed report on the extent of the damage caused to the machine must be filled out within three days, from the delivery date shown in the shipping documents. Omcan has no recourse for damaged products that were shipped collect or third party.
Before operating any equipment, always read and familiarize yourself with all operation and safety instructions.
Omcan would like to thank you for purchasing this machine. It’s of the utmost importance to save these instructions for future reference. Also save the original box and packaging for shipping the equipment if servicing or returning of the machine is required.
Safety and Warranty
PLEASE TEAR OFF ALL PLASTIC COVERINGS ON THE OVENS SURFACE BEFORE USING.
- Ensure all fixings are tight before operating.
- The oven will be extremely hot during use. Use extreme caution when reaching into the oven. To protect yourself from burns, always wear protective clothing and use the provided equipment.
AVOID TOUCHING HOT SURFACES AND BE VERY CAREFUL WHEN REMOVING THE OVEN DOOR.
TO BE USED OUTDOORS ONLY.
6 MONTHS PARTS AND LABOR WARRANTY
Within the warranty period, contact Omcan Inc. at 1-800-465-0234 to schedule an Omcan authorized service technician to repair the equipment locally.
Unauthorized maintenance will void the warranty. Warranty covers electrical and part failures, not improper use.
Please see https://omcan.com/disclaimer for complete info.
WARNING:
The packaging components are classified as normal solid urban waste and can therefore be disposed of without difficulty.
In any case, for suitable recycling, we suggest disposing of the products separately (differentiated waste) according to the current norms.
DO NOT DISCARD ANY PACKAGING MATERIALS IN THE ENVIRONMENT!
Technical Specifications
| Model | WO-CN-0640 |
| Material | Stainless Steel Construction |
| Heating Time | 5 minutes |
| Opening | 20.8″ x 10.5″ / 527 x 267mm |
| Cooking Area | 25.2″ x 29.5″ / 640 x 750mm |
| Maximum Temperature | 426°C / 800°F |
| Smoker Stack | Ø5″ x 29″ / Ø127 x 737mm |
| Dimensions | 32.3″ x 28.7″ x 47.2″ / 820 x 730 x 1200mm |
| Packaging Dimensions | 33.5″ x 33.5″ x 23.6″ / 850 x 850 x 600mm |
| Item Number | 43113 |
Installation
ASSEMBLY INSTRUCTIONS
- Feed the four casters through the trolley brackets.
- Attach the two pizza peel hooks to the front trolly baffles.
- Attached the front trolley baffles to the trolley brackets.
- Attach the chimney cap to the chimney and attach the chimney to the grill body.
- Place the body on the trolley.
- Attach the door to the body.
- Slide in the ash tray between the body and the trolley.
Operation
COOKING WITH WOOD FIRE
When cooking with a wood fire, you have three options:
- Reflective Heat.
- Convection Heat.
- Conducting Heat.
REFLECTIVE HEAT
With reflective heat, the flames from the still burning fire bounces off the dome onto your food. This reflected heat cooks food, such as pizza, and also heats the cooking floor, putting heat back into the floor to replace heat that is lost through cooking.
CONVECTION HEAT
With convection heat, the flames will act the same as with reflective heat, but by opening the chimney you can achieve convection cooking. As cold air from outside of the oven is drawn in, the heat will be constantly moving. This will allow you to cook foods efficiently while retaining moisture.
CONDUCTING HEAT
When the fire has died out, the insulated floor retains the temperature and allows food to be cooked with the residual heat. This is ideal for bread and pizza, pots and pans can also be used with this method as the heated floor will act as a stove.
COOKING WITH COALS
This is ideal when you do not require the high heat of a wood fire, but instead need heat to be retained for longer periods of time. When cooking with coals, you have a few options. Like cooking with a wood fire, you can heat the oven and use the retained heat to cook your food directly. This is ideal for bread and pizza as well as using pots or pans. You can also use a grill above the coals to act as a BBQ oven.
RETAINED HEAT COOKING
Your oven can cook for hours just by using the retained heat from either wood fire or coals. To cook with the retained heat it is advised to remove the coals (if used) from the fire and close the door. When cooking with retained heat, you can bake bread, small roasts and even desserts, and as the oven temperature falls, you can slow cook ribs, beans, and stews.
REFERENCE
| Item Number | Model Number | Description | Manufacturer Model Number |
| 43113 | WO-CN-0640 | Oven Pizza Wood Burning Stainless Steel | HPO01SS |
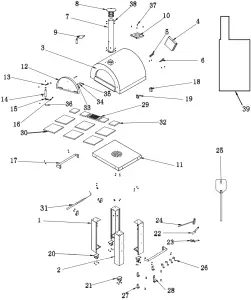
Parts Breakdown
Model WO-CN-0640 43113
| Item No. | Description | Position |
| AD669 | Left Leg for HPO01SS | 1 |
| AD670 | Right Leg for HPO01SS | 2 |
| AD671 | Oven Body for HPO01SS | 3 |
| AD672 | Ash Pan for HPO01SS | 4 |
| AD673 | Ash Pan Support 1 for HPO01SS | 5 |
| AD674 | Ash Pan Support 2 for HPO01SS | 6 |
| AD675 | Chimney for HPO01SS | 7 |
| AD676 | Chimney Cap for HPO01SS | 8 |
| AD677 | Chimney Exhaust Adjuster for HPO01SS | 9 |
| AD678 | Chimney Base for HPO01SS | 10 |
| AD679 | Bottom Plate for HPO01SS | 11 |
| AD680 | Door for HPO01SS | 12 |
| AD681 | Door Handle Brace for HPO01SS | 13 |
| AD682 | Door Handle for HPO01SS | 14 |
| AD683 | Door Handle Insulation Mat 1 for HPO01SS | 15 |
| AD684 | Door Handle Insulation Mat 2 for HPO01SS | 16 |
| AD685 | Side Handle for HPO01SS | 17 |
| AD686 | Thermometer Holder for HPO01SS | 18 |
| AD687 | Thermometer for HPO01SS | 19 |
| AD688 | Caster for HPO01SS | 20 |
| AD689 | Caster with Brake for HPO01SS | 21 |
| AD690 | Pie Server for HPO01SS | 22 |
| AD691 | Pizza Cutter for HPO01SS | 23 |
| AD692 | Brush for HPO01SS | 24 |
| AD693 | Pizza Peel for HPO01SS | 25 |
| AD694 | S Hook for HPO01SS | 26 |
| AD695 | Small L Hook for HPO01SS | 27 |
| AD696 | Large L Hook for HPO01SS | 28 |
| AC938 | Ash Grill for HPO01SS | 29 |
| AC939 | Pizza Stone 1 Large for HPO01SS | 30 |
| AD697 | Wood Poker for HPO01SS | 31 |
| AC941 | Pizza Stone 3 Small for HPO01SS | 32 |
| AD698 | 1/4″ Flat Washer for HPO01SS | 33 |
| AD699 | 1/4″ Spring Washer for HPO01SS | 34 |
| AD700 | 1/4″ Bolt for HPO01SS | 35 |
| AD701 | Screw Set for HPO01SS | 36-38 |
| 46685 | PVC Cover Black for HPO01SS | 39 |

Notes
Notes
Warranty Registration
Thank you for purchasing an Omcan product. To register your warranty for this product, complete the information below, tear off the card at the perforation and then send to the address specified below. You can also register online by visiting:
https://omcan.com/warranty-registration/
For mailing in Canada
OMCAN
PRODUCT WARRANTY REGISTRATION
3115 Pepper Mill Court,
Mississauga, Ontario
Canada, L5L 4X5
For mailing in the US
OMCAN
PRODUCT WARRANTY REGISTRATION
4450 Witmer Industrial Estates, Unit 4,
Niagara Falls, New York
USA, 14305
or email to: [email protected]
Purchaser’s Information
Name: ___________________________ Company Name: ___________________
Address: _________________________
Telephone: ________________________
City: ______ Province or State: ____ Postal or Zip: _____ Email Address: ________
Country:_________________________ Type of Company:
Restaurant
Bakery
Deli
Dealer from which Purchased: ________
Butcher
Supermarket
Caterer
Dealer City: ______ Dealer Province or State: ___
Institution (specify): ___________
Invoice: __________________________________
Other (specify): ______________
Model Name: ___________ Model Number: ________ Serial Number: ____________
Machine Description: ___________________________________________________
Date of Purchase (MM/DD/YYYY): _________ Date of Installation (MM/DD/YYYY): ___
Would you like to extend the warranty?
Yes
No
Thank you for choosing Omcan

Since 1951 Omcan has grown to become a leading distributor of equipment and supplies to the North American food service industry. Our success over these many years can be attributed to our commitment to strengthen and develop new and existing relationships with our valued customers and manufacturers. Today with partners in North America, Europe, Asia and South America, we continually work to improve and grow the company. We strive to offer customers exceptional value through our qualified local sales and service representatives who provide convenient access to over 5,000 globally sourced products.


















