Electrocasnice FDH-660RBG Decorative Cooker Hood
User Manual
DECORATIVE COOKER HOOD
FDH-660RBG
Suction power: 589 m³/h
Color: Beige
Thank you for choosing this Fram product!
INTRODUCTION
Before using the appliance, please read carefully this instruction manual and keep it for future reference.
This instruction manual is designed to provide you with all required instructions related to the installation, use, and maintenance of the appliance.
In order to operate the unit correctly and safety, please read this instruction manual carefully before installation and usage.
YOUR PACKAGE CONTAINS
- Decorative cooker hood
- User manual
- Warranty card
SAFETY PRECAUTIONS
This manual explains the proper installation and use of your cooker hood, please read it carefully before using it even if you are familiar with the product. The manual should be kept in a safe place for future reference.
Never to do:
- Do not try to use the cooker hood without the grease filters or if the filters are excessively greasy!
- Do not install above a cooker with a high-level grill.
- Do not leave frying pans unattended during use because overheated fats or oils might catch fire.
- Never leave naked flames under the cooker hood.

- If the cooker hood is damaged, do not attempt to use it.
- Do not flambé under the cooker hood.
- CAUTION: Accessible parts may become hot when used with cooking appliances.

Always to do:
- Important! Always switch off the electricity supply at the mains during installation and maintenance such as light bulb replacement.
- The cooker hood must be installed in accordance with the installation instructions and all measurements followed.
- All installation work must be carried out by a competent person or qualified electrician.
- Please dispose of the packing material carefully. Children are vulnerable to it.
- Pay attention to the sharp edges inside the cooker hood, especially during installation and cleaning.
- Make sure the ducting has no bends sharper than 90 degrees as this will reduce the efficiency of the cooker hood.
- Warning: Failure to install the screws or fix the device in accordance with these instructions may result in electrical hazards.
- Warning: Before obtaining access to terminals, all supply circuits must be disconnected.
- Always put lids on pots and pans when cooking on a gas cooker.
- When in extraction mode, the air in the room is removed by the cooker hood. Please make sure that proper ventilation measures are being observed. The cooker hood removes odors from the room but not steam.
- There shall be adequate ventilation of the room when the cooker hood is used at the same time as appliances burning gas or other fuels.
- The cooker hood is for domestic use only.
- If the supply cord is damaged, it must be replaced by the manufacturer, its service agent, or similarly qualified persons to avoid a hazard.
- This appliance can be used by children aged from 8 years and above and persons with reduced physical, sensory or mental capabilities or lack of experience and knowledge if they have been given supervision or instruction concerning the use of the appliance in a safe way and understand the hazards involved. Children shall not play with the appliance. Cleaning and user maintenance shall not be made by children without supervision.
- Caution: The appliance and its accessible parts can become hot during operation. Be careful to avoid touching the heating elements. Children younger than 8 years old should stay away unless they are under permanent supervision.
- There is a fire risk if cleaning is not carried out in accordance with the instructions.
- Regulations concerning the discharge of air must be fulfilled.
- Clean your appliance periodically by following the method given in the chapter Maintenance.
- For safety reasons, please use only the same size of fixing or mounting screw which is recommended in this instruction manual.
- Regarding the details about the method and frequency of cleaning, please refer to the maintenance and cleaning section in the instruction manual.
- Cleaning and user maintenance shall not be made by children without supervision.
- When the cooker hood and appliances supplied with energy other than electricity are simultaneously in operation, the negative pressure in the room must not exceed 4 Pa (4 x 10-5 bar).
- Warning: Danger of fire. Do not store items on the cooking surfaces.
- A steam cleaner is not to be used.
- Never try to extinguish a fire with water, but switch off the appliance and then cover the flame e.g. with a lid or a fire blanket.
INSTALLATION
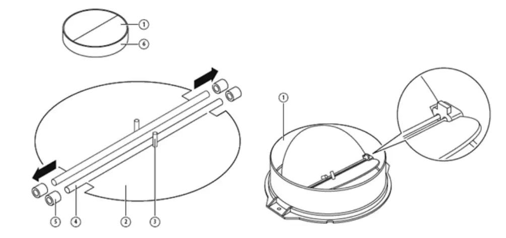
Mounting of the V-Flap
If the cooker hood does not have an assembled V-flap 1, you should mount the half-parts to its body. The images only show an example of how to mount the V-flap, because the outlet may vary according to different models and configurations.
To mount the V-flap 1 you should:
- Mount two half-parts 2 into the body 6.
- Pin 3 should be top-oriented.
- Axis 4 should be inserted into hole 5 on the body.
- Repeat all the operations for the 2nd half-part.

Installation
If you have an outlet to the outside, your cooker hood can be connected as below picture by means of an extraction duct (enamel, aluminum, flexible pipe or non-flammable material with an interior diameter of 150 mm).
- Before installation, turn the unit off and unplug it from the outlet.

- The cooker hoods should be placed at a distance of 65-75cm from the cooking surface for the best effect.

- Install the hook on a suitable place once the installation height is fixed, and keep it in line. The fixed position of the inside chimney bracket is the place of the chimney. See pic 2.
- Install the expansion pipe and fixed with a cable tie. Then put the cooker hood on the hook. See pic 3.

- Fix the outside chimney bracket on the outside chimney and be sure that the inside chimney can be adjusted its height in it freely. Afterward, install the chimney on the cooker hood and lift up the expansion pipe till it is out of the wall through the hole on the wall. See Pic 4.

- Adjust the height of the inside chimney to the position of the inside chimney bracket and fix it with screws, meanwhile, fix the outside chimney on the cooker hood body by screws. After adjusting the position, fix the body with safety screws.
Note: The two safety vents are positioned on the back housing, with a diameter of 6mm. See Pic 5.
Hints for exhaust duct installation
The following rules must be strictly followed to obtain optimal air extraction:
- Keep expansion pipe short and straight.
- Do not reduce the size or restrict the expansion pipe.
- When using an expansion pipe always install the pipe pulled taut to minimize pressure loss. Failure to observe these basic instructions will reduce the performance and increase the noise levels of the cooker hood.
- Any installation work must be carried out by a qualified electrician or competent person.
- Do not connect the ducting system of the hood to any existing ventilation system which is being used for any other appliance, such as a warmer tube, gas tube, or hot wind.
- The angle of the bend of the expansion pipe should not be less than 120º; you must direct the pipe horizontally, or, alternatively, the pipe should go up from the initial point and should be led to an outer wall.
- After the installation, make sure that the cooker hood is level to avoid grease collection at one end.
- Ensure the expansion pipe selected for installation complies with relevant standards and is fire retardant.

OPERATION
Push button
- Push the stop button, and the motor will stop.
- Push the low button, and the motor will run at low speed.
- Push the middle button, and the motor will run at mid-speed.
- Push the high button, and the motor will run at high speed.
- Push the light button and the two lights will illuminate. Push it again and the light will turn off.

TROUBLESHOOTING
| Fault | Possible Cause | Solution |
| Light on, but the motor does not work | The fan switch turned off | Select a fan switch position. |
| Fan switch failed | Contact service center. | |
| Motor failed | Contact service center. | |
| Light does not work, the motor does not work | House fuses blown | Reset/Replace fuses. |
| The mains power cable is loose or disconnected | Refit the mains power cable to a power outlet. Switch the power outlet on. | |
| Oil leakage | One way valve and the outlet are not tightly sealed. | Take down the one-way valve and seal it with sealant. |
| Leakage from the connection of chimney and cover | Take the chimney down and seal it. | |
| Lights not working | Broken or faulty bulbs | Replace blubs this instruction as per n. |
| Insufficient suction | The distance between the cooker hood and the gas top is too far | Refit the cooker hood to the correct distance. |
| The Cooker hood inclines | The fixing screw is not tight enough | Tighten the hanging screw and make it horizontal. |
NOTE:
Any electrical repairs to this appliance must conform to your local, state, and federal laws. Please contact the service center if in any doubt before undertaking any of the above. Always disconnect the unit from the power source when opening the unit.
CLEANING AND MAINTENANCE
Caution:
- Before maintenance or cleaning is carried out, the cooker hood should be disconnected from the main power supply. Ensure that the cooker hood is switched off at the wall socket and the plug removed.
- External surfaces are susceptible to scratches and abrasions, so follow the cleaning instructions to ensure the best possible result is achieved without damage.
GENERAL
- Cleaning and maintenance should be carried out with the appliance cold especially when cleaning.
Avoid leaving alkaline or acid substances (lemon juice, vinegar, etc.) on the surfaces.
STAINLESS STEEL
- The stainless steel must be cleaned regularly (e.g., weekly) to ensure a long life expectancy. Dry with a clean soft cloth. A specialized stainless steel cleaning fluid may be used.
- Note: Ensure that wiping is done along with the grain of the stainless steel to prevent any unsightly crisscross scratching patterns from appearing.
CONTROL PANEL SURFACE
- The inlay control panel can be cleaned using warm soapy water. Ensure the cloth is clean and well wrung before cleaning. Use a dry soft cloth to remove any excess moisture left after cleaning.
- Important: Using neutral detergents and avoiding using harsh cleaning chemicals, strong household detergents, or products containing abrasives, as this will affect the appearance of the appliance and potentially remove any printing of artwork on the control panel and will void the manufacturer warranty.
GREASE MESH FILTERS
- The mesh filters can be cleaned by hand. Soak them for about 3 minutes in water with a mild detergent and then brush it gently with a soft brush. Do not apply too much pressure to avoid any damage to it. (Leave to dry naturally out of direct sunlight) Filters should be washed separately to crockery and kitchen utensils. It is advisable not to use a rinse aid.

INSTALLING GREASE MESH FILTERS
To install filters for the following four steps:
- Angle the filter into the slots at the back of the hood.
- Push the button on the handle of the filter.
- Release the handle once the filter fits into a resting position.
- Repeat to install all filters.
CARBON FILTER (not included in the package)
An activated carbon filter can be used to trap odors. Normally the activated carbon filter should be changed every 3 to 6 months according to your cooking habits. The installation procedure of the activated carbon filter is as below:
- Before installing or replacing the carbon filters, disconnect the mains’ power to the unit.
- Press the filter lock and remove the mesh filter.
- Turn the carbon filter on both sides of the motor anti-clockwise. Replace the carbon filters with the new carbon filters.
- Place the mesh filter.
- Connect the power supply to the wall socket.

Note:
- Make sure the filter is securely locked. Otherwise, it would loosen and cause danger.
- When an activated carbon filter is attached, the suction power will be lowered.
BULB REPLACEMENT
- The bulb must be replaced by the authorized service or similarly qualified persons.
- Always switch off the electricity supply before carrying out any operations on the appliance. When handling the bulb, make sure it has completely cooled down before any direct contact with hands.
- When handling bulbs hold with a cloth or gloves to ensure perspiration does not come in contact with the bulb as this can reduce the life of the bulb
Note:
- Before changing the lights, make sure that the appliance is turned off and unplugged.
- Protect against danger when changing lights, such as wearing gloves.
Changing the lights:
- Remove the grease filter.
- Use a straight screwdriver to prize up the terminal box of the light connecting wire, and then pull out the terminal plastic base of the light connecting wire. See pic 1. (Note: If some models cannot find the terminal box, they may need to dismantle the front panel or glass first. )
- Use a tool or hand to prize up the LED light bottom edge, then slightly pull out the LED light and light connecting wire. See pic 2.
- Apply the reverse procedure to install the light back.
-LED modules: self- ballasted – round lamp
-Max wattage: 2×2W
-Voltage range: AC 110-240V
-Dimensions:
PRODUCT FICHE
| Product fiche according to Commission Delegated Regulation (EU) No. 65/2014 | |
| Trademark | Fram |
| Model | FDH-66ORBG |
| Annual energy consumption (kWh/year) | 62. |
| Energy efficiency class | B |
| Fluid dynamic efficiency | 24. |
| The fluid dynamic efficiency class | B |
| Lighting efficiency (lux/W) | 44 |
| Lighting efficiency class | A |
| Grease filtering efficiency (%) | 80 |
| Grease filtering efficiency class | C |
| Airflow at a minimum and maximum speed under normal conditions of use (m3/h) | 355.1 589.1 |
| Airborne acoustical A-weighted sound power emissions at minimum and maximum speed under normal conditions of use (dB(A)) | 60/70 |
| Power consumption in standby mode (W) | – |
| Power consumption in off mode (W) | – |
CUSTOMER CARE AND SERVICE
Always use original spare parts.
When contacting our Authorized Service Centre, ensure that you have the following data available: Model and Serial Number.
The information can be found on the rating plate. Subject to change without notice.
TECHNICAL DATA
The technical information is situated in the rating plate on the internal side of the appliance and on the energy label.
The QR code on the energy label supplied with the appliance provides a web link to the information related to the performance of the appliance in the EU EPREL database.
Keep the energy label for reference together with the user manual and all other documents provided with this appliance.
It is also possible to find the same information in EPREL using the link https://eprel.ec.europa.eu and the model name and product number that you find on the rating plate of the appliance.
Thank you for purchasing this product. If you need support with your product, visit our website using the links below.
Get User manuals: www.framelectrocasnice.ro
Get Service information: www.framelectrocasnice.ro
Environment-friendly disposal
You can help protect the environment!
Please remember to respect the local regulations: hand in the non-working electrical equipment to an appropriate waste disposal center.
FRAM is a registered trademark of Network One Distribution SRL. Other brands and product names are trademarks or registered trademarks of their respective holders.
No part of the specifications may be reproduced in any form or by any means or used to make any derivative such as translation, transformation, or adaptation without permission from NETWORK ONE DISTRIBUTION.
Copyright © 2013 Network One Distribution. All rights reserved.
www.framelectrocasnice.ro; www.framappliances.com; www.nod.ro
This product is in conformity with the norms and standards of the European Community.
Importer: Network One Distribution
Marcel Iancu, 3-5, Bucharest, Romania
Tel: +40 21 211 18 56, www.framelectrocasnice.ro, www.nod.ro
















