HUION PW507 Stylus Digital Pen User Guide
Product Overview

Packing List

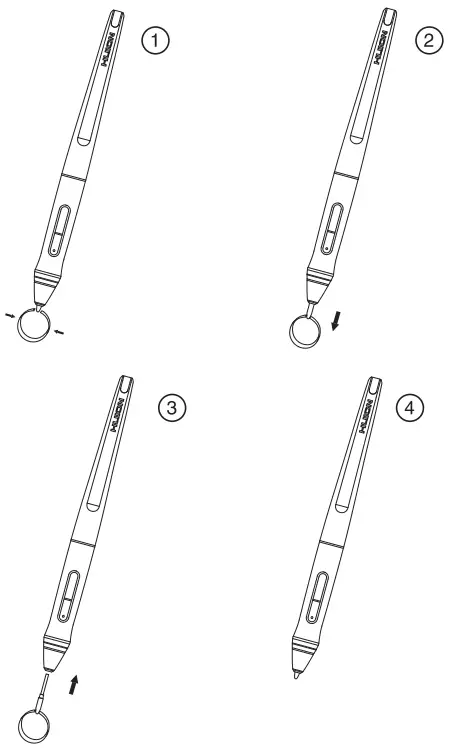
Replacing the Pen Nib
When the pen nib was heavily worn, please replace the nib with attached pen clip.

Specification
Dimension: 163.7 X Φ 14.3mm
Net Weight: 14g
+86-755-32998548
www.huion.com
www.facebook.com/huion
huion-skype
[email protected]
https://twitter.com/HuionTab



















