LUCCI
ESPERANCE SERIES
DC CEILING FAN

CAUTION
READ INSTRUCTIONS CAREFULLY FOR SAFE INSTALLATION AND FAN OPERATION.
THANK YOU FOR PURCHASING
Thank you for purchasing the latest in energy-saving ceiling fans. This fan runs on DC (direct current) power which gives it the benefit of being super energy efficient while still maintaining high volume air-movement and silent operation.
Energy-saving – The DC motor is the latest technology in fan design. Its highly efficient motor saves up to 65% more energy than ceiling fans with traditional AC motors.
Silent operation – This DC fan motor is programmed with a stabilised current which efficiently reduces motor noise.
Low operating temperature – The DC power is managed effectively which brings down the motor operating temperature to less than 50℃. This results in a much cooler motor than a standard AC fan and increases the longevity of the motor.
SAFETY PRECAUTIONS
- The appliance is not intended for use by persons (including children) with reduced physical, sensory or mental capabilities, or lack of experience and knowledge unless they ave been given supervision or instruction concerning the use of the appliance by a person responsible for their safety.
- Children should be supervised to ensure that they do not play with the appliance.
- An all-pole disconnection switch must be incorporated into the fixed wiring, in accordance with local wiring rules.
IN AUSTRALIA
WARNING:
FOR SAFE USE OF THIS FAN AN ALL-POLE DISCONNECTION MUST BE INCORPORATED INTO THE FIXED WIRING IN IN ACCORDANCE WITH THE WIRING RULES.
As outlined in clause 7.12.2 of AS/NZS 60335-1 for meeting the minimum electrical safety of this standard.
Please note warranty will be void if the installation is without a means for an all-pole disconnection incorporated in the fixed wiring in accordance with the wiring rules.
Example: If a fan is connected to a circuit that can be isolated via an allpole safety switch at the switchboard, then this is considered to be an all-pole disconnection to the ceiling fan electrical circuit, meeting the requirements of clause 7.12.2 of AS/NZS 60335.1.
A single-pole switch on the activities of the receiver input of remote control must also be included in the wiring and located the same room as the ceiling fan. - Do not dispose of electrical appliances as unsorted municipal waste, use separate collection facilities. Contact your local government for information regarding the collection systems available. If electrical appliances are disposed of in landfills or dumps, hazardous substances can leak into the groundwater and get into the food chain, damaging your health and well-being.
- The structure to which the fan is to be mounted must be capable of supporting four-time of the weight of the fan.
- The fan should be mounted so that the blades are at least 2.1 m above the floor.
- This fan is suitable for indoor and alfresco areas where the fan is fully undercover with a minimum of 2 walls. This fan is not waterproof. When installed in an alfresco area, the ceiling fan must be positioned in a location protected from water, wind, dust, and salt. Exposure to these elements will void the warranty. Mounting the fan in a situation where it is subject to water or moisture is dangerous and may increase the risk of damage, injury, or electrical shock.
- Must be assembled and installed by a licensed electrician.
- WARNING: If unusual wobbling or oscillating movement is observed, immediately stop using the ceiling fan and contact the manufacturer, its service agent, or suitably qualified persons.
- The replacement of parts of the safety suspension system device shall be performed by the manufacturer, its service agent, or suitably qualified persons.
- The fixing means for attachment to the ceiling such as hooks or other devices shall be fixed with sufficient strength to withstand 4 times the weight of the ceiling fan; the mounting of the suspension system shall be performed by the manufacturer, its service agent, or suitably qualified persons.
PARTS LIST
- Unpack your ceiling fan carefully. Remove all parts and hardware.
- Lay out all the components on a smooth surface and make sure no components are missing before assembling. If parts are missing, return the complete product to the place of purchase for inspection or replacement.
- Check whether the ceiling fan has been damaged during transport. Do not operate/install any product which appears damaged in any way. Return the complete product to the place of purchase for inspection, repair or replacement.
- Examine all parts, and you should have the following:

| Part | Quantity | Part | Quantity |
| Hanger Bracket | 1 | Fan Top Cover | 1 |
| Bracket Mounting Screw | 2 | Blade | 3 |
| Hanger Ball | 1 | Blade Screw | 3 |
| Ceiling Canopy Screw | 2 | Fan Motor | 1 |
| Ceiling Canopy | 1 | DC Module | 1 |
| Download | 1 | 3 Speed Wall Control | 1 |
| Download Joint Cover | 1 |
INSTALLING THE FAN
TOOLS REQUIRED:
- Phillips / flat head screwdriver
- Pair of pliers
- Adjustable spanner
- Step ladder
- Wirecutter
- Wiring, supply cable as required by local provincial and national wiring codes and regulations
INSTALLING THE MOUNTING BRACKET
- The ceiling fan must be installed in a location so that the blades are spaced 300mm from the tip of the blade to the nearest objects or walls.
- Install the hanging bracket to the ceiling joist or structure that is capable of carrying a load of at least four times of the weight of fan, with two long screws provided. Ensure at least 30mm of the screw is threaded into the support. (Fig. 2)

NOTE: The bracket screws provided are for use with wooden structures only. For structures other than wood, the appropriate type of screw MUST be used. Ensure the screws used are suitable for the mounting surface and the surrounding environment.
ANGLED CEILING INSTALLATION
The hanging system of this fan supports a maximum 28-degree angled ceiling installation.

INSTALLATION OF BLADE (Fig.4)
- Unscrew the three screws from the cover of the fan blade and lift up blade cover; (Fig.4.1)
- Install the fan blades onto the motor assembly; (Fig.4.2)
- Install the cover back to the motor assembly by tightening the 3 screws. (Fig.4.3)


HANGING OF THE FAN (Fig.5)
- Place the hanger onto the mounting bracket. Ensure the key slot of the hanger ball is positioned on the key pin of the mounting bracket to prevent the fan from rotating when in operation; (Fig.5.1)
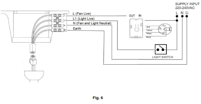
- Connect the wiring (Fig.5.2 & Refer to the wiring diagram in Fig.6 for more information)
– Connect the supply cable from the terminal block to the input of the drive component.
– Connect the quick connector.
– Check and ensure all wiring connections are secured. - Push the canopy up to cover the hanger and wiring parts (Fig.5.3)
- Fix the canopy by tightening the two screws. (Fig.5.4)

WIRING DIAGRAM (FIG. 6)
WARNING: FOR YOUR SAFETY ALL ELECTRICAL CONNECTIONS MUST BE UNDERTAKEN BY A LICENSED ELECTRICIAN.
NOTE: AN ADDITIONAL ALL POLE DISCONNECTION SWITCH MUST BE INCLUDED IN THE FIXED
WIRING.
NOTE: IF THERE ARE TWO OR MORE DC CEILING FANS INSTALLED IN THE ONE LOCATION, AN ISOLATION SWITCH IS REQUIRED FOR EACH CEILING FAN. THIS IS REQUIRED WHEN
PROGRAMMING THE REMOTE AND RECEIVER TO PAIR TOGETHER.
NOTE: The L1 terminal is for the model with light only.

USING YOUR CEILING FAN
Install the rotatory fan switch on the wall plate and connect the wiring according to the below.
(NOTE: Only the fan rotatory switch is included as an accessory. The Wall plate and light switch is not included. A light switch is only required for the model with light)

Fan Wall Control
Turn on the power and check the operation of the fan.
- OFF Position – Fan off
- III Position – High fan speed
- II Position – Medium fan speed
- I Position – Low fan speed
REVERSE FUNCTION
Your ceiling fan can operate in either summer or winter mode. The reverse switch can be found once the cover of the down rod is lift.
SUMMER Mode: The reverse switch shall be in the SUMMER position to make the fan rotate in an anticlockwise direction. The airflow will be directed downwards, for cooling in summer.
WINTER Mode: The reverse switch shall be in the WINTER position to make the fan rotate in a clockwise direction. The airflow will be directed upwards assisting in the circulation of warm air, for energy conservation in winter.

CHANGING AN EXTENSION ROD

NOTE: When using extension rods, the lower edge of the fan blades must be more than 2.1m above floor level.
Note: Extension Rod – Supplied Separately
REPLACEMENT OF AN EXTENSION ROD:
- Uninstall the ball joint, canopy, canopy bottom cover & the down rod joint cover from the fan assembly; (Figure 8.1, 8.2, 8.3)
- Replace the original down rod with the extended one. Connect the extended cable (provided with the extension rod) to the wiring of the fan assembly (Fig. 8.4)
- Install the down rod joint cover, canopy bottom cover, canopy & ball joint back to the fan assembly. Ensure all the screws are tightened and secure.
![]() | ![]() |

AFTER INSTALLATION
NOTE: Ceiling fans tend to move during operation as they are mounted on a rubber grommet. If the fan was mounted rigidly to the ceiling, it would cause excessive vibration. Movement of a few centimeters is quite acceptable and DOES NOT suggest any problem.
TO REDUCE THE FAN WOBBLE: Please check that all screws which fix the mounting bracket and down rod are secure.
NOISE:
When it is quiet (especially at night) you may hear occasional small noises. Slight power fluctuations and frequency signals superimposed in the electricity for off-peak hot water control may cause a change in fan motor noise; this is normal. Please allow a 24-hour “settling-in” period, most noises associated with a new fan disappear during this time.
The manufacturer’s warranty covers actual faults that may develop and NOT minor complaints such as hearing the motor run – All electric motors are audible to some extent.
CARE & CLEANING
NOTE: Always turn OFF the power at the mains switch before performing any maintenance or attempting to clean your fan.
- Every 6 months periodic cleaning of your ceiling fan is the only maintenance required. Use a soft brush or lint-free cloth to avoid scratching the paint finish. Please turn off the electrical power when you do so.
- Do not soak or immerse your ceiling fan in the water or other liquids. It could damage the motor or the blades and create the possibility of an electrical shock.
- Ensure that the fan does not come in contact with any organic solvents or cleaners.
- To clean the fan blade, wipe with only a damp clean cloth with NO organic solvents or cleaners.
- The motor has a permanently lubricated ball bearing so there is no need to oil.
TECHNICAL INFORMATION
| Fan | Esperance DC Fan | |
| Fan Models | Esperance 48-inch fan | Esperance 56 inch fan |
| Rated Voltage | 220 – 240V~ 50Hz | |
| Rated Wattage (Motor) | 25W | 35W |
| Weight | 3.8kg | 3.9kg |
| Canopy Dimensions | H:60mm Dia:170mm | |
LUCCI CEILING FAN WARRANTY DETAIL LUCCI WARRANTY HOTLINE- 1800 602 243
THIS WARRANTY IS VALID IN AUSTRALIA ONLY
In the event of service is required, please call the Lucci Fan Warranty Hotline on 1800 602 243 between 9 am & 5 pm (EST) Monday to Friday. Please make sure you have all the ceiling fan details filled out at the end of the manual before making the call.
Every Lucci ceiling fan is thoroughly inspected and tested before being released for sale. In addition to any warranty rights or conditions under statutory regulations, Lucci warrants all of its ceiling fans against defective workmanship and faulty materials for twenty-four (24) months from the date of purchase. Lucci undertakes, at its option, to repair or replace, free of charge, each product or part thereof on condition that;
- The fan or relevant part has not been subjected to misuse, neglect, or been involved in an accident.
- The repairs are not required as a result of normal wear and tear.
- The product was installed by a licensed electrical contractor.
- A copy of the original receipt of purchase is presented.
- A 12-month warranty applies when used in any non-domestic applications.
- This warranty does not cover stains, scratch and scuff marks, or dents if the product is purchased through a factory outlet or to refurbished items.
Our goods come with guarantees that cannot be excluded under the Australian Consumer Law. You are entitled to a replacement or refund for a major failure and compensation for any other reasonably foreseeable loss or damage. You are also entitled to have the goods repaired or replaced if the goods fail to be of acceptable quality and the failure does not amount to a major failure.
Lucci Design cannot be held responsible for any repair other than those carried out by it or one of its Authorised Service Agents. Please keep this warranty information in a safe place. This information must be produced in the event of service being required.
CEILING FAN WARRANTY INFORMATION LUCCI WARRANTY HOTLINE- 1800 602 243
Complete and retain this form for your personal records and warranty purposes.
NAME………………………………………
ADDRESS……………………………………
POSTCODE…………………………………
MODEL NUMBER…………………………
(PO# + DATE CODE Sticker here)
PO NUMBER or DATE CODE ……………
DATE OF PURCHASE………………………………
INSTALLING LICENSED ELECTRICIAN…………
LICENCE No……………………………………………
ATTACH PROOF OF PURCHASE HERE
THIS COMPLETED DETAIL PAGE SHOULD BE PRODUCED AND FAXED TO THE WHOLESALER OR THEIR AUTHORISED AGENTS BEFORE OBTAINING WARRANTY SERVICE
This fan is suitable for indoor and alfresco areas where the fan is fully undercover with a minimum of 2 walls. This fan is not waterproof. When installed in an alfresco area, the ceiling fan must be positioned in a location protected from water, wind, dust and salt. Exposure to these elements will void the warranty. Mounting the fan in a situation where it is subject to water or moisture is dangerous.
Distributed by:
Beacon Lighting
140 Fulton Drive
Derrimut, Victoria, 3026
Australia
Ph +613 9368 1000
Fax +613 9360 9332
Email: [email protected]




















