
LUCCI
AIR FUSION ARMANI
DC CEILING FAN
CAUTION
READ INSTRUCTIONS CAREFULLY FOR SAFE INSTALLATION AND FAN OPERATION.
THANK YOU FOR PURCHASING
Thank you for purchasing the latest in energy-saving ceiling fans. This fan runs on DC (direct current) power which gives it the benefit of being super energy efficient whilst still maintaining high volume air movement and silent operation.
Energy saving – The DC motor is the latest technology in fan design. Its highly efficient motor saves up to 65% more energy than ceiling fans with traditional AC motors.
Silent operation – This DC fan motor is programmed with a stabilized current which efficiently reduces motor noise.
Low operating temperature – The DC power is managed effectively which brings down the motor operating temperature to less than 50℃. This results in a much cooler motor than a standard AC fan and increases the longevity of the motor.
6-speed remote control – regular AC ceiling fans usually come with only 3 speeds, this DC fan comes complete with a 6-speed remote, which gives a greater choice of comfort levels.
SAFETY PRECAUTIONS
- In Europe: This appliance can be used by children aged 8 years and above and persons with reduced physical, sensory or mental capabilities or lack of experience and knowledge if they have been given supervision or instruction concerning the use of the appliance in a safe way and understand the hazards involved. Cleaning and maintenance shall not be undertaken by children without supervision.
- In Australia: The appliance is not intended for use by persons (including children) with reduced physical, sensory or mental capabilities, or lack of experience and knowledge unless they have been given supervision or instruction concerning the use of the appliance by a person responsible for their safety.
- Children should be supervised to ensure that they do not play with the appliance.
- An all-pole disconnection switch must be incorporated into the fixed wiring, in accordance with local wiring rules.
IN AUSTRALIA
WARNING:
FOR SAFE USE OF THIS FAN AN ALL-POLE DISCONNECTION MUST BE INCORPORATED INTO THE FIXED WIRING IN ACCORDANCE WITH THE WIRING RULES.
As outlined in clause 7.12.2 of AS/NZS 60335-1 for meeting the minimum electrical safety of this standard.
This fan is suitable for indoor use only.
Please note warranty will be void if installation is without a means for an all-pole disconnection incorporated in the fixed wiring in accordance with the wiring rules.
Example: If a fan is connected to a circuit that can be isolated via an all-pole safety switch at the switchboard, then this is considered to be an all-pole disconnection to the ceiling fan electrical circuit, meeting the requirements of clause 7.12.2 of AS/NZS 60335.1.
A single-pole switch on the activities of the receiver input of the remote control must also be included in the wiring and located in the same room as the ceiling fan. - Do not dispose of electrical appliances as unsorted municipal waste, use separate collection facilities. Contact your local government for information regarding the collection systems available. If electrical appliances are disposed of in landfills or dumps, hazardous substances can leak into the groundwater and get into the food chain, damaging your health and well-being.
- The structure to which the fan is to be mounted must be capable of supporting a weight of 30kg.
- The fan should be mounted so that the blades are at least 2.3 m above the floor in Europe or 2.1 m above the floor in Australia.
- This fan is designed for indoor use only. Mounting the fan in a location where it is subject to water or moisture is dangerous and may increase the risk of damage, injury or electrical shock and will void the warranty.
- WARNING: If unusual wobbling or oscillating movement is observed, immediately stop using the ceiling fan and contact the manufacturer, its service agent or suitably qualified persons.
- The replacement of parts of the safety suspension system device shall be performed by the manufacturer, its service agent or suitably qualified persons.
- The fixing means for attachment to the ceiling such as hooks or other devices shall be fixed with sufficient strength to withstand 4 times the weight of the ceiling fan; the mounting of the suspension system shall be performed by the manufacturer, its service agent or suitably qualified persons.
PARTS LIST
- Unpack your ceiling fan carefully. Remove all parts and hardware.
- Lay out all the components on a smooth surface and make sure there are no components missing before assembling. If parts are missing, return the complete product to the place of purchase for inspection or replacement.
- Check whether the ceiling fan has been damaged during transport. Do not operate/install any product which appears damaged in any way. Return the complete product to the place of purchase for inspection, repair or replacement.
- Examine all parts, you should have the following:

- Mounting bracket x 1
- Fan assembly with hanger cover, down rod, canopy cover, and canopy x 1
- Blades x 3
- Blade bracket x 3
- Bottom cover x 1
- Screw for mounting bracket x 2
- Balancing kit x 1 set
- Blade screw x 6 (and 1 spare)
- Light kit adaptor x 1
- Remote handset x 1 set
INSTALLING THE FAN
- The ceiling fan must be installed in a location so that the blades are spaced 300mm from the tip of the blade to the nearest objects or walls.
- Install the hanging bracket to the ceiling joist or structure that is capable of carrying a load of at least 30kg, with two long screws provided. Ensure at least 30mm of the screw is threaded into the support. (Fig. 2)

NOTE: THIS PICTURE IS FOR REPRESENTATION ONLY AND DOES NOT REPRESENT THE ACTUAL BRACKET.
NOTE: The bracket screws provided are for use with wooden structures only. For structures other than wood, the appropriate screw type MUST be used. Ensure the screws used are suitable for the mounting surface and the surrounding environment.
ANGLED CEILING INSTALLATION
This fan hanging system supports a maximum 20-degree angled ceiling installation.
HANGING THE FAN
Lift the fan assembly onto the mounting bracket. Ensure the key slot (A) of the hanger ball is positioned on the key pin (B) of the mounting bracket (C) to prevent the fan from rotating when in operation. (Fig.4)
INSTALLING THE FAN
BLADE INSTALLATION
- Insert the blade screws through the blade bracket and place them on the underside of the blade. (Fig. 5)
- Align the screws with the holes and secure the blade onto the bottom of the fan motor. Ensure the screws are tightened equally and evenly to reduce the chance of warping or unbalancing. Over tightening the screws can damage the blade. (Fig. 5)
- Repeat the process for the remaining blades.
- Install the bottom cover onto the motor shaft by rotating it clockwise. (Fig. 6)

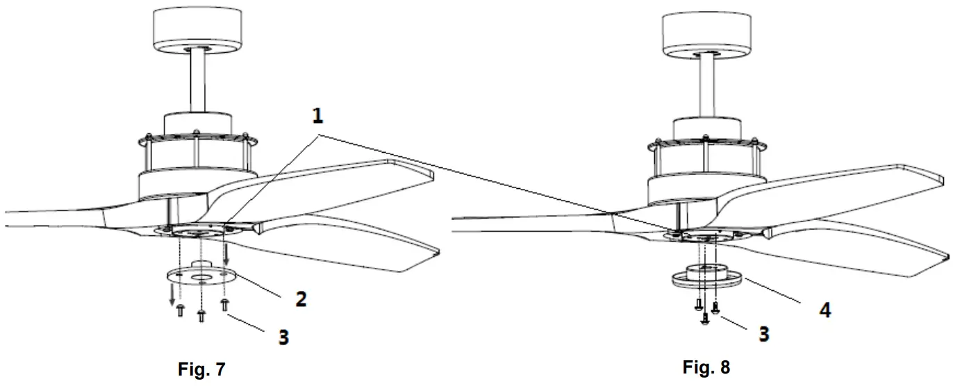
LIGHT KIT (sold separately)
- Do not install the bottom cover.
- Remove the bottom cover adaptor (2) from the light kit housing (1) by loosening the 3 screws (3). Fig.7
- Install the light kit adaptor (4) to light kit housing (1) by using the 3 screws (3). Fig.8
- Install the light kit to the light kit adaptor, please refer to the instructions included with the light kit.

ELECTRICAL WIRING DIAGRAM
WARNING: FOR YOUR SAFETY ALL ELECTRICAL CONNECTIONS MUST BE UNDERTAKEN BY A LICENSED ELECTRICIAN.
NOTE: AN ADDITIONAL ALL-POLE DISCONNECTION SWITCH MUST BE INCLUDED IN THE FIXED WIRING.
NOTE: IF THERE ARE TWO OR MORE DC CEILING FANS INSTALLED IN THE ONE LOCATION, AN ISOLATION SWITCH IS REQUIRED FOR EACH CEILING FAN. THIS IS REQUIRED WHEN PROGRAMMING THE REMOTE AND RECEIVER TO PAIR TOGETHER.
Ensure the motor earth wire is connected to the single earthing terminal block “2” in the diagram below.
FINISHING THE INSTALLATION
- After completing the electrical connection at the mounting bracket terminal block, connect the ceiling fan wiring via the quick connector plug.
- Ensure the earth wiring is secure and correct, by performing an earthing continuity test from the fan’s accessible metal body back to the earth terminal at the terminal block on the mounting bracket.
- Cover the mounting bracket with the canopy. Ensure all electrical wiring is tucked inside the canopy and that the wires are not damaged during this step. Secure the canopy to the hanger bracket using the screws provided. (Fig. 10)
- Switch ON the mains power supply to the fan. Test the fan operations or enjoy using the fan following instructions the under “USING YOUR CEILING FAN” section of this instruction manual.

USING YOUR CEILING FAN
NOTE: The pairing of Transmitter and Receiver is not required if only one ceiling fan is installed.
When two or more ceiling fans are installed near each other, please refer to the instruction below.
Pairing Transmitter and Receiver – When 2 or more DC ceiling fans are installed in one location When two more fans are located near each other, you will need to have the receiver/transmitter for each fan set to a different code, so that the operation of one fan does not affect the operation of the other fan/s.
The DIP switches for the transmitter (remote handpiece) are located in the battery compartment of the transmitter. Configuring the DIP switches will allow a unique transmission code assigned to each ceiling fan.
NOTE: Ensure that you have installed an all-pole disconnection switch in the fixed wiring for each fan when using the DIP code function.
NOTE: Ensure power to the Receiver is ON prior to pairing the transmitter with the receiver.
Transmitter/Receiver pairing for ceiling fan 1:
- Turn off both ceiling fans 1 and 2 via the main supply to the receiver.
- Slide the cover of the battery compartment of the transmitter to access the DIP switches. This will be transmitter 1.
- Change the position of the DIP switches in the remote transmitter 1, so that it will be different to transmitter 2. Fig. 11
- Install the 12VDC battery in the compartment. Please make sure the polarity of the battery is correct.
- Turn on the power to receiver 1. Keep the power OFF to receiver 2. (Each ceiling fan must have its own isolation switch so that only the ceiling fan that needs to be paired with the transmitter will be ON).
- Press and hold the “
” button on transmitter 1 for 5 seconds within 30 seconds of switching the power to the receiver of ceiling fan 1. - Once the transmitter is paired with the receiver of ceiling fan 1, it will make a beep sound twice. Turn ON/OFF or change the speed of the ceiling fan 1 by the transmitter to check the operation.
Transmitter/Receiver pairing for ceiling fan 2:
- Turn off both ceiling fans 1 and 2 via the mains supply to the receiver.
- Slide the cover of the battery compartment of the transmitter to access the DIP switches. This will be transmitter 2.
- Change the position of the DIP switches in the remote transmitter 2, so that it will be different to transmitter 1. Fig. 11
- Install the 12VDC battery in the compartment. Please make sure the polarity of the battery is correct.
- Turn on the power to receiver 2. Keep the power OFF to receiver 1. (Each ceiling fan must have its own isolation switch so that only the ceiling fan that needs to be paired with the transmitter will be ON).
- Press and hold the “
” button on transmitter 2 for 5 seconds within 30 seconds of switching the power to the receiver of ceiling fan 2. - Once the transmitter is paired with the receiver of ceiling fan 1, it will make a beep sound twice. Turn ON/OFF or change the speed of ceiling fan 1 by the transmitter to check the operation.

Remote Control Buttons
: FAN ON/OFF BUTTON: Press the button to turn the fan on/off.
: SPEED INCREASE BUTTON: Press the button to increase the fan speed. The LED indicator will indicate the fan speed (1-6 speeds) accordingly.
: SPEED DECREASE BUTTON: Press the button to decrease the fan speed. The LED indicator will indicate the fan speed (1-6 speeds) accordingly.
: REVERSE FUNCTION BUTTON: Press the button to activate the reverse running function. The fan must be operating to activate the reverse function.
: NATURAL FLOW BUTTON: Press the button to set the fan to run at changing speed automatically. If the fan is working at speed 1, 2, and 3, then press this button to let the fan run at a lower changing speed. If the fan is working at speeds 4,5,6, then press this button to let the fan run at a higher changing speed.
: LIGHT CONTROL BUTTON: Press the button to turn on/off the light.
When pressing and releasing on any button (besides the Speed “+” or “-“) on the remote button, the LED indicator under “1” will be lit on and off respectively. If the LED indicator under the number 1 does not light up, then the battery is exhausted and must be replaced with a new battery.
REPAIRING THE FAN RECEIVER & REMOTE PAIRING
Should the remote and receiver lose control after installation or during use, the pairing of the remote and the receiver must be repaired. Below are the operating symptoms and methods to repair the pairing of the DC ceiling fan remote and receiver.
Issues:
- Loss of control – Fan is only running at high speed after installation
- Loss of control – No reverse function after installation
- Loss of control – Remote cannot communicate with the receiver
Solution:
- Switch off the main power to the ceiling fan.
- Press and hold the “ ” button on the transmitter for 5 seconds within 30 seconds of switching the power to the receiver of the ceiling fan.
- Once the transmitter is paired with the receiver of the ceiling fan, it will make a beep sound twice.
Turn ON/OFF or change the speed of the ceiling fan by the transmitter to check the operation.
AFTER INSTALLATION
WOBBLE:
NOTE: ceiling fans tend to move during operation due to the fact that they are mounted on a rubber grommet.
If the fan was mounted rigidly to the ceiling it would cause excessive vibration. Movement of a few centimeters is quite acceptable and DOES NOT suggest any problem.
TO REDUCE THE FAN WOBBLE: Please check that all screws which fix the mounting bracket and down rod are secure.
BALANCING KIT: A balancing kit is provided to balance the ceiling fan on initial installation. Please refer to the instruction on how to use the balancing kit. The balancing kit can be used to assist in re-balancing should the ceiling fan become unbalanced again. Store your balancing kit away after installation for future use if required.
NOISE:
When it is quiet (especially at night) you may hear occasional small noises. Slight power fluctuations and frequency signals superimposed in the electricity for off-peak hot water control may cause a change in fan motor noise. This is normal. Please allow a 24-hour “settling-in” period, most noises associated with a new fan disappear during this time.
The manufacturer’s warranty covers actual faults that may develop and NOT minor complaints such as hearing the motor run – All electric motors are audible to some extent.
CARE & CLEANING
NOTE: Always turn OFF the power at the mains switch before performing any maintenance or attempting to clean your fan.
- Every 6 months periodic cleaning of your ceiling fan is the only maintenance required. Use a soft brush or lint-free cloth to avoid scratching the paint finish. Please turn off the electrical power when you do so.
- Do not soak or immerse your ceiling fan in the water or other liquids. It could damage the motor or the blades and create the possibility of an electrical shock.
- Ensure that the fan does not come in contact with any organic solvents or cleaners.
- To clean the fan blade, wipe with only a damp clean cloth with NO organic solvents or cleaners.
- The motor has a permanently lubricated ball bearing so there is no need to oil.
SAFETY PRECAUTIONS FOR BATTERY:
- WARNING – Keep new and used batteries away from children.
- CAUTION – Do not ingest battery—Chemical burn hazard.
- Always use 1 x 23AE 12V battery type with this ceiling fan remote controller.
- Ensure the batteries are inserted with the correct polarity.
- To prevent false operation during battery insertion or replacement, this ceiling fan must be disconnected from the supply mains.
- Remove batteries from the product when not in use for long periods of time.
- Batteries must be removed from the remote transmitter before it is discarded.
- Dispose of exhausted batteries immediately and safely (so they cannot be retrieved by children).
Flat batteries can still be dangerous. Contact your local council to safely dispose of the battery. - Regularly check the product and make sure the battery box lid is correctly secured. If the battery compartment does not close securely, stop using the product and keep it away from children.
- If you think batteries might have been swallowed or placed inside any part of the body, seek immediate medical attention. If you suspect your child has swallowed or inserted a button battery, immediately call the 24-hour Poisons Information Centre on 13 11 26 for fast, expert advice.
- Battery Leaks: Battery contains chemicals and should be treated as any chemical would. Take precautions when handling leaked battery chemicals. Battery chemicals should not be placed near the eyes or ingested. Contact Poisons Information Centre on 13 11 26 for fast, expert advice.
TECHNICAL INFORMATION
| Fan Models | 60” fan only |
| Rated Voltage | 220-240V~ 50Hz |
| Rated Wattage (Motor) | 36W |
| Rated wattage (Lamp) | N/A |
| Battery for remote | 1 x 12V 23AE (Included) |
| Weight | 5.2kg |
| Canopy Dimensions | H:54mm Dia:131mm |
LUCCI CEILING FAN WARRANTY DETAIL
LUCCI WARRANTY HOTLINE- 1800 602 243
THIS WARRANTY IS VALID IN AUSTRALIA ONLY
In the event of service is required, please call the Lucci Fan Warranty Hotline on 1800 602 243 between 9 am & 5 pm (EST) Monday to Friday. Please make sure you have all the ceiling fan details filled out at the end of the manual before making the call.
Every Lucci ceiling fan is thoroughly inspected and tested before being released for sale. In addition to any warranty rights or conditions under statutory regulations, Lucci warrants all of its ceiling fans against defective workmanship and faulty materials for twenty-four (24) months from the date of purchase. Lucci undertakes, at its option, to repair or replace, free of charge, each product or part thereof on the condition that;
- The fan or relevant part has not been subjected to misuse, neglect, or being involved in an accident.
- The repairs are not required as a result of normal wear and tear.
- The product was installed by a licensed electrical contractor.
- A copy of the original receipt of purchase is presented.
- A 12-month warranty applies when used in any non-domestic applications.
- This warranty does not cover stains, scratch and scuff marks, or dents if the product is purchased through a factory outlet or to refurbished items.
Our goods come with guarantees that cannot be excluded under the Australian Consumer Law. You are entitled to a replacement or refund for a major failure and compensation for any other reasonably foreseeable loss or damage. You are also entitled to have the goods repaired or replaced if the goods fail to be of acceptable quality and the failure does not amount to a major failure.
Lucci Design cannot be held responsible for any repair other than those carried out by it or one of its Authorised Service Agents. Please keep this warranty information in a safe place. This information must be produced in the event of service being required.
Distributed by:
Beacon Lighting 140 Fulton Drive
Derrimut, Victoria, 3026 Australia
Ph +613 9368 1000
Fax +613 9360 9332
Email: [email protected]
CEILING FAN WARRANTY INFORMATION
LUCCI WARRANTY HOTLINE- 1800 602 243
Complete and retain this form for your personal records and warranty purposes.
NAME…………………………………………………………………………………………………….
ADDRESS……………………………………………………………………………………………..……
……………………………………………………POSTCODE……………………………………………
MODEL NUMBER………………………………………………………………………………………..…
PO NUMBER or DATE CODE …………………………(PO# + DATECODE Sticker here)………………
DATE OF PURCHASE………………………………………………………………………………….…
INSTALLING LICENSED ELECTRICIAN……………………………………………………………..…
………………………………………………………………………………………………………….……
LICENCE No………………………………………………………………………………….……………
ATTACH PROOF OF PURCHASE HERE
THIS COMPLETED DETAIL PAGE SHOULD BE PRODUCED AND FAXED TO THE WHOLESALER OR THEIR AUTHORISED AGENTS BEFORE OBTAINING WARRANTY SERVICE



















