decor 210642 Airfusion Climate III DC Ceiling Fan
Instruction Manual
CAUTION
READ INSTRUCTIONS CAREFULLY FOR SAFE INSTALLATION AND FAN OPERATION.
THANK YOU FOR PURCHASING
Thank you for purchasing the latest in energy-saving ceiling fans. This fan runs on DC (direct current) power which gives it the benefit of being super energy efficient whilst still maintaining high volume air-movement and silent operation.
Energy saving – The DC motor is the latest technology in fan design. Its highly efficient motor saves up to 65% more energy than ceiling fans with traditional AC motors.
Silent operation – This DC fan motor is programmed with a stabilized current which efficiently reduces motor noise.
Low operating temperature – The DC power is managed effectively which brings down the motor operating temperature to less than 50℃. This results in a much cooler motor than a standard AC fan and increases the longevity of the motor.
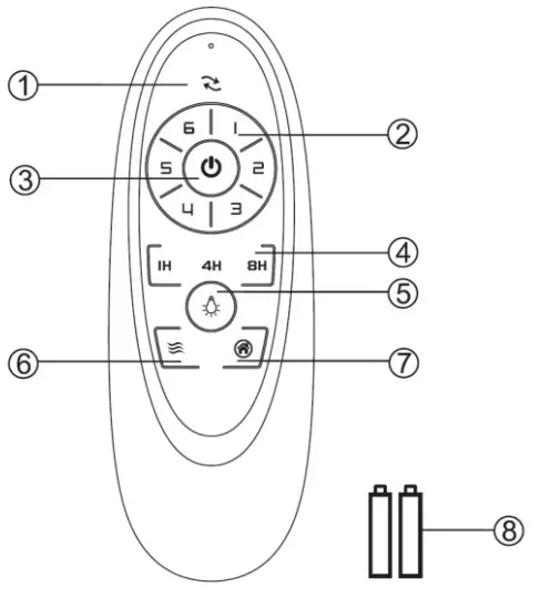
6-speed remote control – Regular AC ceiling fans usually come with only 3 speeds, this DC fan comes complete with a 6-speed remote, which gives a greater choice of comfort levels.
SAFETY PRECAUTIONS
- In Europe: This appliance can be used by children aged 8 years and above and persons with reduced physical, sensory or mental capabilities or lack of experience and knowledge if they have been given supervision or instruction concerning the use of the appliance in a safe way and understand the hazards involved. Cleaning and maintenance shall not be undertaken by children without supervision.
- In Australia: The appliance is not intended for use by persons (including children) with reduced physical, sensory or mental capabilities, or lack of experience and knowledge unless they have been given supervision or instruction concerning the use of the appliance by a person responsible for their safety.
- Children should be supervised to ensure that they do not play with the appliance.
- An all-pole disconnection switch must be incorporated into the fixed wiring, in accordance with local wiring rules.
IN AUSTRALIA
WARNING:
FOR SAFE USE OF THIS FAN AN ALL-POLE DISCONNECTION MUST BE INCORPORATED INTO THE FIXED WIRING IN ACCORDANCE WITH THE WIRING RULES.
As outlined in clause 7.12.2 of AS/NZS 60335-1 for meeting the minimum electrical safety of this standard.
Please note warranty will be void if installation is without a means for an all-pole disconnection incorporated in the fixed wiring in accordance with the wiring rules.
Example: If a fan is connected to a circuit that can be isolated via an all-pole safety switch at the switchboard, then this is considered to be an all-pole disconnection to the ceiling fan electrical circuit, meeting the requirements of clause 7.12.2 of AS/NZS 60335.1.
A single-pole switch on the active of receiver input of the remote control must also be included in the wiring and located in the same room as the ceiling fan.
Do not dispose of electrical appliances as unsorted municipal waste, use separate collection facilities. Contact your local government for information regarding the collection systems available. If electrical appliances are disposed of in landfills or dumps, hazardous substances can leak into the groundwater and get into the food chain, damaging your health and well-being.- The structure to which the fan is to be mounted must be capable of supporting a weight of 16kg.
- The fan should be mounted so that the blades are at least 2.3 m above the floor in Europe or 2.1 m above the floor in Australia.
- This fan is suitable for indoor use only. Mounting the fan in a location where it is subject to water or moisture is dangerous and may increase the risk of damage, injury or electrical shock and will void the warranty.
- Must be assembled and installed by a licensed electrician.
- WARNING: If unusual wobbling or oscillating movement is observed, immediately stop using the ceiling fan and contact the manufacturer, its service agent or suitably qualified persons.
- The replacement of parts of the safety suspension system device shall be performed by the manufacturer, its service agent, or suitably qualified persons.
- The fixing means for attachment to the ceiling such as hooks or other devices shall be fixed with sufficient strength to withstand 4 times the weight of the ceiling fan; the mounting of the suspension system shall be performed by the manufacturer, its service agent, or suitably qualified persons.
PARTS LIST
- Unpack your ceiling fan carefully. Remove all parts and hardware.
- Lay out all the components on a smooth surface and make sure there are no components missing before assembling. If parts are missing, return the complete product to the place of purchase for inspection or replacement.
- Check whether the ceiling fan has been damaged during transport. Do not operate/install any product which appears damaged in any way. Return the complete product to the place of purchase for inspection, repair or replacement.
- Examine all parts, you should have the following:

| 1 Canopy x 1 | 7 Bottom cover x 1 |
| 2 Mounting brackets x 1 | 8 Remote receivers x 1 |
| 3 Blades x 3 | 9 Screws for mounting bracket & blades x 1 set |
| 4 Down rods x 1 set | 10 Balancing kits x 1 set |
| 5 Decorative Covers x 1 | 11 Remote control set x 1 |
| 6 Fan motor x 1 | 12 Light kit extension cable |
INSTALLATION OF THE MOUNTING BRACKET
- The ceiling fan must be installed in a location so that the blades are spaced 300mm from the tip of the blade to the nearest objects or walls.
- Install the hanging bracket to the ceiling joist or structure that is capable of carrying a load of at least 16kg, with two long screws provided. Ensure at least 30mm of the screw is threaded into the support. (Fig. 2)

NOTE: The bracket screws provided are for use with wooden structures only. For structures other than wood, the appropriate screw type MUST be used. Ensure the screws used are suitable for the mounting surface and the surrounding environment.
ANGLED CEILING INSTALLATION
This fan hanging system supports a maximum 10-degree angled ceiling installation. (Fig. 3)
INSTALLATION OF THE FAN

INSTALLATION OF THE DOWN ROD (Fig.4)
- Remove the ball joint and dowel pin by loosening the set screw. Remove the lock pin by removing the
hitch pin. Do not discard and keep these parts, they are required to reassemble later. - Loosen the set screws on the down rod coupling housing of the fan motor assembly.
- Carefully feed the fan wires up through the down rod. Install the down rod into the down rod coupling housing of the fan motor assembly. Line up the down rod coupling housing holes with the down rod holes and install the lock pin and the hitch pin.
- Secure the down rod by tightening the set screws.
INSTALLATION OF THE HANGER (Fig.5)
- Install the decorative cover onto the down rod and cover the coupling parts. Carefully slide the canopy onto the down rod.
- Reinstall the ball joint and dowel pin back to the down rod and secure by tightening the set screw.
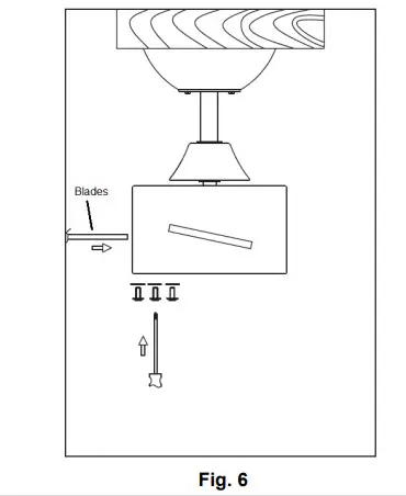
INSTALLATION OF BLADE (Fig.6)
- Insert the blade into the slot of the rotating member of the fan motor assembly.
- Align and engage the holes of the blade to the blade bracket.
- Secure the blade to the fan motor assembly by tightening the 3 blade screws and washers.
Ensure all screws are tightened evenly to reduce the chance of warping or unbalancing.
Take care not to over-tighten the screws, as this can damage the blades - Repeat the same process for the other blades.

INSTALLATION OF LIGHT KIT (Optional and sold separately) (Fig.7)
- NOTE: The light kit must be installed by a licensed electrician.
- The light kit is sold separately. (SKU# 210643, 210644, 210645).
- Connect the wires of the light kit to the motor part via the quick connector.
- Install the light kit on the motor part then secure it by turning clockwise.
- Install the GX53 lamp to the light kit. Do not exceed the maximum power rating.

PREPARE AND COMPLETE THE ELECTRICAL WIRING — WIRING DIAGRAM (FIG. 8)
WARNING: FOR YOUR SAFETY ALL ELECTRICAL CONNECTIONS MUST BE UNDERTAKEN BY A LICENSED ELECTRICIAN.
NOTE: AN ADDITIONAL ALL-POLE DISCONNECTION SWITCH MUST BE INCLUDED IN THE FIXED WIRING.
NOTE: IF THERE ARE TWO OR MORE DC CEILING FANS INSTALLED IN THE ONE LOCATION, AN ISOLATION SWITCH IS REQUIRED FOR EACH CEILING FAN. THIS IS REQUIRED WHEN PROGRAMMING THE REMOTE AND RECEIVER TO PAIR TOGETHER.
Ensure the motor earth wire is connected to the single earthing terminal block “1” in the diagram below. (Fig. 8)
- Connect the live supply wire to the “L” terminal of the terminal block on the mounting bracket.
- Connect the neutral supply wire to the “N” terminal of the terminal block on the mounting bracket.
- Connect earth wire to the earth terminal of the terminal block on the mounting bracket.
- Connect the supply wiring from the mounting bracket to the input of the DC motor driver/receiver.
- Connect the output wires of the DC motor driver/receiver to the input wires of the fan motor and the light kit.

HANGING THE FAN
Lift the fan assembly onto the mounting bracket. Ensure the key slot (A) of the hanger ball is positioned on the key pin (B) of the mounting bracket (C) to prevent the fan from rotating when in operation. (Fig.9) 
FINISHING THE INSTALLATION
INSTALLATION OF THE CANOPY (Fig.10)
- Ensure the earth wiring is secure and correct, by performing an earthing continuity test from the fan’s accessible metal body back to the earth terminal at the terminal block on the mounting bracket.
- Loosen the 2 screws at the bottom of the mouthing bracket.
- Slide the canopy up to the mounting bracket and align the keyholes on the canopy with the screws on the mounting bracket. Turn the canopy until it locks into place with the narrow section of the keyholes and secure it by tightening the two screws. Avoid damaging the electrical wiring prepared previously.

INSTALLATION OF THE BOTTOM COVER (Fig.11)
- Install the bottom cover to the motor part if no light kit is required.

USING YOUR CEILING FAN
REMOTE CONTROL (Fig.12) 
- The direction of the fan (reverse switch)
- Speed of the fan
- ON/OFF the fan
- Timing control of the fan
- ON/OFF the light
- Natural wind
(The fan speed automatic cycle between 1 to 6 speeds) - Anti-theft function
(the light ON 5-20 minutes every 2 hours) - 1. 5V AAA battery X 2pcs (not included)
REPAIRING THE FAN RECEIVER & REMOTE PAIRING
NOTE: The pairing of the remote and receiver has been done at the factory.
When the ceiling fan is installed, pairing the fan receiver and remote is NOT required.
Should the remote and receiver lose control after installation or during use, the pairing of the remote and the receiver must be repaired. Below are the operating symptoms and methods to repair the pairing of the DC ceiling fan remote and receiver.
Issues:
- Loss of control – Fan is only running at high speed after installation
- Loss of control – No reverse function after installation
- Loss of control – Remote cannot communicate with the receiver
Solution:
- Switch off the main power of the ceiling fan.
- Switch on the main power of the ceiling fan. Press and hold the On/Off button on the remote for 5 seconds within 30 seconds after switching on. There will be a notification ‘beep’ sound from the receiver to indicate that the paring process is successful.
- Turn on and select the different speeds of the ceiling fan to check the operation of the fan.
AFTER INSTALLATION
NOTE: ceiling fans tend to move during operation due to the fact that they are mounted on a rubber grommet.
If the fan was mounted rigidly to the ceiling it would cause excessive vibration. Movement of a few centimeters is quite acceptable and DOES NOT suggest any problem.
TO REDUCE THE FAN WOBBLE: Please check that all screws which fix the mounting bracket and down rod are secure.
BALANCING KIT: A balancing kit is provided to balance the ceiling fan on initial installation. Please refer to the instruction on how to use the balancing kit. The balancing kit can be used to assist in re-balancing should the ceiling fan become unbalanced again. Store your balancing kit away after installation for future use if required.
NOISE:
When it is quiet (especially at night) you may hear occasional small noises. Slight power fluctuations and frequency signals superimposed in the electricity for off-peak hot water control may cause a change in fan motor noise. This is normal. Please allow a 24-hour “settling-in” period, most noises associated with a new fan disappear during this time.
The manufacturer’s warranty covers actual faults that may develop and NOT minor complaints such as hearing the motor run – All electric motors are audible to some extent.
CARE AND CLEANING:
NOTE: Always turn OFF the power at the mains switch before performing any maintenance or attempting to clean your fan.
- Every 6 months periodic cleaning of your ceiling fan is the only maintenance required. Use a soft brush or lint-free cloth to avoid scratching the paint finish. Please turn off the electrical power when you do so.
- Do not soak or immerse your ceiling fan in water or other liquids. It could damage the motor or the blades and create the possibility of an electrical shock.
- Ensure that the fan does not come in contact with any organic solvents or cleaners.
- To clean the fan blade, wipe with only a damp clean cloth with NO organic solvents or cleaners.
- The motor has a permanently lubricated ball bearing so there is no need for oil.
SAFETY PRECAUTIONS FOR BATTERY:
- WARNING – Keep new and used batteries away from children.
- CAUTION – Do not ingest battery—Chemical burn hazard.
- Always use a 2 x AAA battery type with this ceiling fan remote controller.
- Ensure the batteries are inserted with the correct polarity.
- To prevent false operation during battery insertion or replacement, this ceiling fan must be disconnected from the supply mains.
- Remove batteries from the product when not in use for long periods of time.
- Batteries must be removed from the remote transmitter before it is discarded.
- Dispose of exhausted batteries immediately and safely (so they cannot be retrieved by children).
Batteries can still be dangerous. Contact your local council to safely dispose of the battery. - Regularly check the product and make sure the battery box lid is correctly secured. If the battery compartment does not close securely, stop using the product and keep it away from children.
- If you think batteries might have been swallowed or placed inside any part of the body, seek immediate medical attention. If you suspect your child has swallowed or inserted a button battery, immediately call the 24-hour Poisons Information Centre on 13 11 26 for fast, expert advice.
- Battery Leaks: Battery contains chemicals and should be treated as any chemical would. Take precautions when handling leaked battery chemicals. Battery chemicals should not be placed near the eyes or ingested. Contact Poisons Information Centre on 13 11 26 for fast, expert advice.
TECHNICAL INFORMATION
| Fan | 52’’ DC fan |
| Fan Models | LD-52″CL III |
| Rated Voltage | 220-240V~ 50Hz |
| Rated Wattage (Motor) | 35W |
| Rated wattage (Lamp) | GX53, Max.12W |
| Battery for remote | 2 x AAA |
| Weight | 3.9kg |
| Canopy Dimensions | H:50mm Dia:150mm |
LUCCI CEILING FAN WARRANTY DETAIL
LUCCI WARRANTY HOTLINE- 1800 602 243
THIS WARRANTY IS VALID IN AUSTRALIA ONLY
In the event of service being required, please call the Lucci Fan Warranty Hotline on 1800 602 243 between 9 am & 5pm (EST) Monday to Friday. Please make sure you have all the ceiling fan details filled out at the end of the manual before making the call.
Every Lucci ceiling fan is thoroughly inspected and tested before being released for sale. In addition to any warranty rights or conditions under statutory regulations, Lucci warrants all of its ceiling fans against defective workmanship and faulty materials for twenty-four (24) months from the date of purchase. Lucci undertakes, at its option, to repair or replace, free of charge, each product or part thereof on condition that;
- The fan or relevant part has not been subjected to misuse, neglect, or being involved in an accident.
- The repairs are not required as a result of normal wear and tear.
- The product was installed by a licensed electrical contractor.
- A copy of the original receipt of purchase is presented.
- A 12-month’s warranty applies when used in any non-domestic applications.
- This warranty does not cover stains, scratch and scuff marks, or dents if the product is purchased through a factory outlet or refurbished items.
Our goods come with guarantees that cannot be excluded under the Australian Consumer Law. You are entitled to a replacement or refund for a major failure and compensation for any other reasonably foreseeable loss or damage. You are also entitled to have the goods repaired or replaced if the goods fail to be of acceptable quality and the failure does not amount to a major failure.
Lucci Design cannot be held responsible for any repair other than those carried out by it or one of its Authorised Service Agents. Please keep this warranty information in a safe place. This information must be produced in the event of service being required.
Distributed by:
Beacon Lighting
140 Fulton Drive
Derrimut, Victoria, 3026
Australia
Ph +613 9368 1000
Fax +613 9360 9332
Email: [email protected]
CEILING FAN WARRANTY INFORMATION
LUCCI WARRANTY HOTLINE- 1800 602 243
Complete and retain this form for your personal records and warranty purposes.
NAME…………………………………………………
ADDRESS………………………………………………
POSTCODE……………………………………………
MODEL NUMBER………………………………………
(PO# + DATE CODE Sticker here)
PO NUMBER or DATE CODE …………………………
DATE OF PURCHASE…………………………………
INSTALLING LICENSED ELECTRICIAN……………
LICENCE No……………………………………………
ATTACH PROOF OF PURCHASE HERE
THIS COMPLETED DETAIL PAGE SHOULD BE PRODUCED AND FAXED TO THE WHOLESALERS OR THEIR AUTHORISED AGENTS BEFORE OBTAINING WARRANTY SERVICE
![]()


























