Lucci Air Climate IV 132cm Dc Ceiling Fan

Product Information
LUCCI AIR CLIMATE IV DC CEILING FAN V1.0 EU (11/2022)
The LUCCI AIR CLIMATE IV DC CEILING FAN is a high-quality ceiling fan designed to provide a comfortable and cool environment in your room. The fan is equipped with a powerful DC motor that ensures high efficiency and low energy consumption. The product comes with a user manual that provides detailed information on the installation and usage of the fan.
Product Usage Instructions
The user manual provides detailed instructions on how to install and use the LUCCI AIR CLIMATE IV DC CEILING FAN. These instructions include:
- Read the safety precautions before installing and using the fan.
- Children aged 8 years or older and people with physical, sensory, or mental disabilities can use the fan if they are supervised or given instructions on how to use it safely.
- Install the fan on a structure that can support its weight of 18 kg.
- Install a disconnect switch in accordance with local wiring regulations.
- Do not dispose of the fan as municipal waste. Use separate collection points for electrical appliances.
- The fan can be controlled using the included remote control, which has various settings for speed and direction.
- The fan has a DC motor that ensures high efficiency and low energy consumption.
- The fan has reversible blades that can be adjusted to change the direction of airflow.
- The fan should be cleaned regularly to maintain its performance.
- If you experience any issues with the fan, refer to the troubleshooting section of the user manual or contact customer support.
SAFETY PRECAUTIONS
- NOTE: Read instructions carefully for safe installation and fan operation.
- This appliance can be used by children aged from 8 years and above and persons with reduced physical, sensory or mental capabilities or lack of experience and knowledge if they have been given supervision or instruction concerning the use of the appliance in a safe way and understand the hazards involved. Cleaning and maintenance shall not be undertaken by children without supervision.
- Children should be supervised to ensure that they do not play with the appliance.
- An all-pole disconnection switch must be incorporated into the fixed wiring, in accordance with local wiring rules.
- Do not dispose of electrical appliances as unsorted municipal waste, use separate collection facilities. Contact your local government for information regarding the collection systems available. If electrical appliances are disposed of in landfills or dumps, hazardous substances can leak into the ground water and get into the food chain, damaging your health and well-being.
- The structure to which the fan is to be mounted must be capable of supporting a weight of 18 kg.
- The fan should be mounted so that the blades are more than 2.3 m above the floor.
- This fan is suitable for indoor, alfresco and coastal areas where the fan is fully undercover with a minimum of 1 wall. This fan is not waterproof. When installed in an alfresco or coastal area, the ceiling fan must be positioned in a location protected from water, wind, dust and salt. Exposure to these elements will void the warranty. Mounting the fan in a situation where it is subject to water or moisture is dangerous and may increase the risk of damage, injury or electrical shock and will void the warranty.
- Electrical installation should be performed by a qualified licensed electrician
- WARNING: If unusual wobbling or oscillating movement is observed, immediately stop using the ceiling fan and contact the manufacturer, its service agent or suitably qualified persons.
- The replacement of parts of the safety suspension system device shall be performed by the manufacturer, its service agent or suitably qualified persons.
- The fixing means for attachment to the ceiling such as hooks or other devices shall be fixed with a sufficient strength to withstand 4 times the weight of the ceiling fan; that the mounting of the suspension system shall be performed by the manufacturer, its service agent or suitably qualified persons.
- NOTE: This fan hanging system supports a maximum 10 degree angled ceiling installation.
- NOTE: The bracket screws provided are for use with wooden structures only. For structures other than wood, the appropriate screw type MUST be used. Ensure the screws used are suitable for the mounting surface and the surrounding environment.
- NOTE: If there are two or more DC ceiling fans installed in the one location, an Isolation switch is required for each ceiling fan, this is required when programming the remote and receiver to pair together.
- NOTE: Don’t run the motor without blades installed!
- Take note the correct side of the blades with the marking “THIS SIDE UP” faces the cceiling.
- NOTE: Fan installation step 9, if no lamp(H) is required, install the adapter (J) on the fan assembly, then install the bottom cover (K) on the adapter (J); If lamp(H) is required, install the light kit plate (G) on the fan assembly, then install the lamp(H) on the fan assembly.
- NOTE: when use with extension down rod, use the light kit extension cable (I).
PARTS LIST


INSTALLATION INSTRUCTION














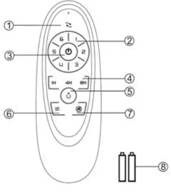
REMOTE CONTROL
- Test the remote by pressing and hold any button. A blue LED will be lit up at the top of the remote to indicate that there is power to the remote and it is ready for use to control the fan.
- Follow the guide below to operate the fan and learn the functions.
- Direction of the fan (reverse switch)
- Speed of the fan
- ON/OFF the fan
- Timing control of the fan
- ON/OFF the light
- Natural wind
(Press the button to set the fan running at changing speed automatically. If the fan is working at speed 1, 2, 3, then press this button to let the fan run at a lower changing speed. If the fan is working at speed 4,5,6, then press this button to let the fan run at a higher changing speed. - Anti-theft function(the light ON 5~20 minutes every 2 hours)
- 1.5V AAA battery X 2 pcs (Not included)
The LED globe has a 3-step dimmable function which is controlled by an ON/OFF switch. When the LED light is ON and at 100% brightness, press the light button “ON and then OFF within 3 seconds”, to dim the LED light. Repeat pressing ON and then OFF within 3 seconds to dim further in the following sequence: 100% brightness → 50% brightness → 15% brightness → 100% brightness. The remote has memory function. If the fan or light is turned off by the isolating switch, it will memorise and recover the last status when turned on next.
REPAIRING THE FAN RECEIVER & REMOTE PAIRING
NOTE: The pairing of the remote and receiver has been done at the factory. When the ceiling fan is installed, pairing the fan receiver and remote is NOT required. Should the remote and receiver lose control after installation or during use, the pairing of the remote and the receiver must be repaired. Below are the operating symptoms and method to repair the pairing of the DC ceiling fan remote and receiver.
Issues:
- Loss of control – Fan is only running at high speed after installation
- Loss of control – No reverse function after installation
- Loss of control – Remote cannot communicate with the receiver
Solution:
- Switch off the main power of ceiling fan.
- Switch on the main power of the ceiling fan. Press and hold the On/Off button on the remote for 5 seconds within 30 seconds after switching on. There will be a notification ‘beep’ sound from the receiver to indicate that the paring process is successful.
- Turn on and select the different speed of the ceiling fan to check the operation of the fan.
- Turn on and select the different speed of the ceiling fan to check the operation of the fan.
AFTER INSTALLATION
NOTE: ceiling fans tend to move during operation due to the fact that they are mounted on a rubber grommet. If the fan was mounted rigidly to the ceiling it would cause excessive vibration. Movement of a few centimeters is quite acceptable and DOES NOT suggest any problem.
TO REDUCE THE FAN WOBBLE:
Please check that all screws which fix the mounting bracket and down rod are secure.
NOISE:
When it is quiet (especially at night) you may hear occasional small noises. Slight power fluctuations and frequency signals superimposed in the electricity for off-peak hot water control, may cause a change in fan motor noise. This is normal. Please allow a 24-hour “settling-in” period, most noises associated with a new fan disappear during this time.
The manufacturer’s warranty covers actual faults that may develop and NOT minor complaints such as hearing the motor run – All electric motors are audible to some extent.
CARE & CLEANING
NOTE: Always turn OFF the power at the mains switch before performing any maintenance or attempting to clean your fan.
- Every 6 months periodic cleaning of your ceiling fan is the only maintenance required. Use a soft brush or lint free cloth to avoid scratching the paint finish. Please turn off electricity power when you do so.
- Do not soak or immerse your ceiling fan in the water or other liquids. It could damage the motor or the blades and create the possibility of an electrical shock.
- Ensure that the fan does not come in contact with any organic solvents or cleaners.
- To clean the fan blade, wipe with only a damp clean cloth with NO organic solvents or cleaners.
- The motor has a permanently lubricated ball bearing so there is no need to oil.
SAFETY PRECAUTIONS FOR BATTERY
- WARNING – Keep new and used batteries away from children.
- CAUTION – Do not ingest battery—Chemical burn hazard.
- Always use 2 x AAA battery type with this ceiling fan remote controller.
- Ensure the batteries are inserted with the correct polarity.
- To prevent false operation during battery insertion or replacement, this ceiling fan must be disconnected from the supply mains.
- on-rechargeable batteries are not to be recharged;
- different types of batteries or new and used batteries are not to be mixed;
- Remove batteries from the product when not in use for long periods of time.
- Batteries must be removed from the remote transmitter before it is discarded.
- Dispose of exhausted batteries immediately and safely (so they cannot be retrieved by children). Batteries can still be dangerous. Contact your local council to safely dispose of the battery.
- Regularly check the product and make sure the battery box lid is correctly secured. If the battery compartment does not close securely, stop using the product and keep it away from children.
- If you think batteries might have been swallowed or placed inside any part of the body, seek immediate medical attention. If you suspect your child has swallowed or inserted a button battery, call the emergency number of your country if you are in Europe for fast, expert advice.
- Battery Leaks: Battery contains chemicals and should be treated as any chemical would. Take precautions when handling leaked battery chemicals. Battery chemicals should not be placed near the eyes or ingested. call the emergency number of your country if you are in Europe for fast, expert advice.
TECHNICAL INFORMATION

WARRANTY INFORMATION
IN EUROPE – If you are a European customer, please contact the retail outlet where the fan was purchased for warranty service.
Beacon International Ltd
Hong Kong Head Office: Room 05, 18/F, Kimberland Center, 55 Wing Hong Street, Cheung Sha Wan Kowloon, Hong Kong
Tel +852 34915904
Fax +852 34915917
China showroom / Office: 11/Fl, Guzhen Lighting Building B, Mid Zhongxing Road, Guzhen, Zhongshan, Guangdong, China.
Tel: +86 760 8986 6388
Fax: +86 760 8986 6380
[email protected]
www.beaconinternational.com
Beacon Lighting Europe GmbH
Campus Fichtenhain 42, 47807 Krefeld, Germany
TEL +49 (2151) 325 82 39
FAX +49 (2151) 325 70 65
[email protected]




















