HM-GD010-001 Tron Motorized Height Adjustable Gaming Desk
User Manual
Safety and Care Advice
- The maximum weight that can be placed on this product is 110Ibs.
- This product must not be used as a seat.
Specifications
Power Supply: AC adapter, 100-240V— 50/60Hz
Service Environment: 32-104°F
Speed: 25mm(1inch)/s
Input: 100-240V— 50-60HZ
Product Dimensions: 47.5″X23.7″X(28.7″-47.6″)
Battery Type for Remote: AAA Battery
Important Safety Instructions
When using electrical furnishing, basic precautions should always be followed, including the following: Read all instructions before using (this furnishing). DANGER—To reduce the risk of electric shock:
- Unplug the power plug before cleaning, and wipe the dust on the surface with a damp cloth when cleaning. Be careful not to let water drops into the internal parts, or lose the connector.
- Check carefully to ensure correct and complete assembly before using.
- Be familiar with all functions and program settings of the product before first use.
- Don’t allow children to play near the desk as their behavior is unpredictable. The manufacturer is not responsible for loss, injury, or damage due to that improper action.
- The slight noise caused by the internal mechanism or brake system of the structure, will not have any effect on the use of the equipment.
- Do not use corrosive or abrasive materials near the equipment. Please ensure that the cleaner used will not pollute the environment.
- This appliance can be used by children aged 8 years and above and persons with reduced physical, sensory or mental capabilities or lack of experience and knowledge, only after they have been given supervision or instruction concerning the use of the appliance in a safe way and understand the hazards involved. Children should not play with the appliance.
- Cleaning and user maintenance should not be attempted by children without supervision.
- If the supply cord is damaged, it must be replaced by the manufacturer, its service agent, or a similarly qualified person in order to avoid a hazard.
- Please make sure there are no hazardous sources in your operating environment. e.g., do not litter the tools around. Always be careful to treat the packaging materials in order to avoid any possible danger, e.g. plastic bags may lead to choking hazards to children.
- We recommend you keep the original package of the equipment if necessary in case of future use in transportation.
- Do not use outdoors.
- Unplug from the outlet before putting on or taking off parts.
- Use this furnishing only for its intended use as described in these instructions. Do not use attachments not recommended by the manufacturer.
- Never operate this furnishing if it has a damaged cord or plug if it is not working properly, if it has been dropped or damaged, or dropped into water. Return the furnishing to a service center for examination and repair.
- Keep the cord away from heated surfaces.
- To disconnect, turn all controls to the off position, then remove the plug from the outlet.
- For grounded products the following statement: “WARNING: Risk of Electric Shock — Connect this furnishing to a properly grounded outlet only. See Grounding Instructions.”
- For loading always put heavier items at the bottom and not near the top in order to help prevent the possibility of the furnishing tipping over.
SAVE THESE INSTRUCTIONS
For Household use only
SERVICING OF DOUBLE-INSULATED PRODUCTS
In a double-insulated product, two systems of insulation are provided instead of grounding. No grounding means is provided on a double-insulated product, nor is a means for grounding to be added to the product. Servicing a double-insulated product requires extreme care and knowledge of the system, and is to be done only by qualified service personnel. Replacement parts for a double-insulated product must be identical to the parts they replace. A double-insulated product is marked with the words “DOUBLE INSULATION” or “DOUBLE INSULATED.” The symbol (square within a square) is also able to be marked on the product.
Main Components
Please check you have all the parts listed below
![]() | ||
| 1. Tabletop Qty 1 (47.2*23.6*2.2″) | ||
![]() | ![]() | ![]() |
| 2. Leg Qty 2 (25.8*2.0*2.0″) | 3. Foot Qty 2 (23.2*2.4*0.8″) | 4. Controller Qty 1 (5.0*2.2*1.2″) |
![]() | ![]() | ![]() |
| 5. Headphone hook Qty1 (4.4*1.2*2.2″) | 6. Switch Cord Qty 1 (19.7″) | 7. Power Cable Qty 1 (122″) |
![]() | ![]() | ![]() |
| 8. Remote Control Qty 1 (4.3*2.0*0.6″) | 9. USB Cable Qty 1 (84.6*0.6*7.5″) | 10. Stand Qty 1 (6.6*4.8*3.5″) |
Fixings, Fittings, And Tools
Please check you have all the fittings listed below
Note: The quantities below are the correct amount to complete the assembly. In some cases, more fittings may be supplied than are required.
![]() | ![]() |
| 3M Cable Clip Qty 4 (0.69 *2.56″) | Allen key Qty 1 |
![]() | ![]() |
| M6 Screw Qty 4 (M6″0.47″) | M6 Screw Qty 8 (M6*0.63″) |
![]() | St4.2 Screw City 2 (St4.2*0.63″) |
If you have questions regarding the operation of your purchase, or in the unlikely event you need to return the unit because it is faulty or is no longer wanted, please contact our product returns department at [email protected], or 561-465-0030, Option 0.
Address: Forward Industries, 105 South Narcissus Avenue Suite 412, West Palm Beach, FL 33401
Assembly Steps
STEP 1
Assemble controller 4 to the underside of the top 1, using the B screws provided with the controller.

SHOWN UPSIDE DOWN
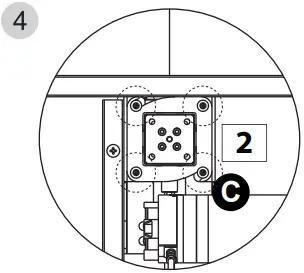
STEP 2
Assemble legs 2 to the top 1 as described.

Important
![]() | ![]() |
| Insert the hexagon Shape rod at the end of leg 2 into the hexagon-shaped hole in the motor housing. | Once inserted, rotate the leg to engage the fixing screws C as shown. |
![]() | ![]() |
| Fit two more screws C. | Fully ghten all four screws C. |
SHOWN UPSIDE DOWN
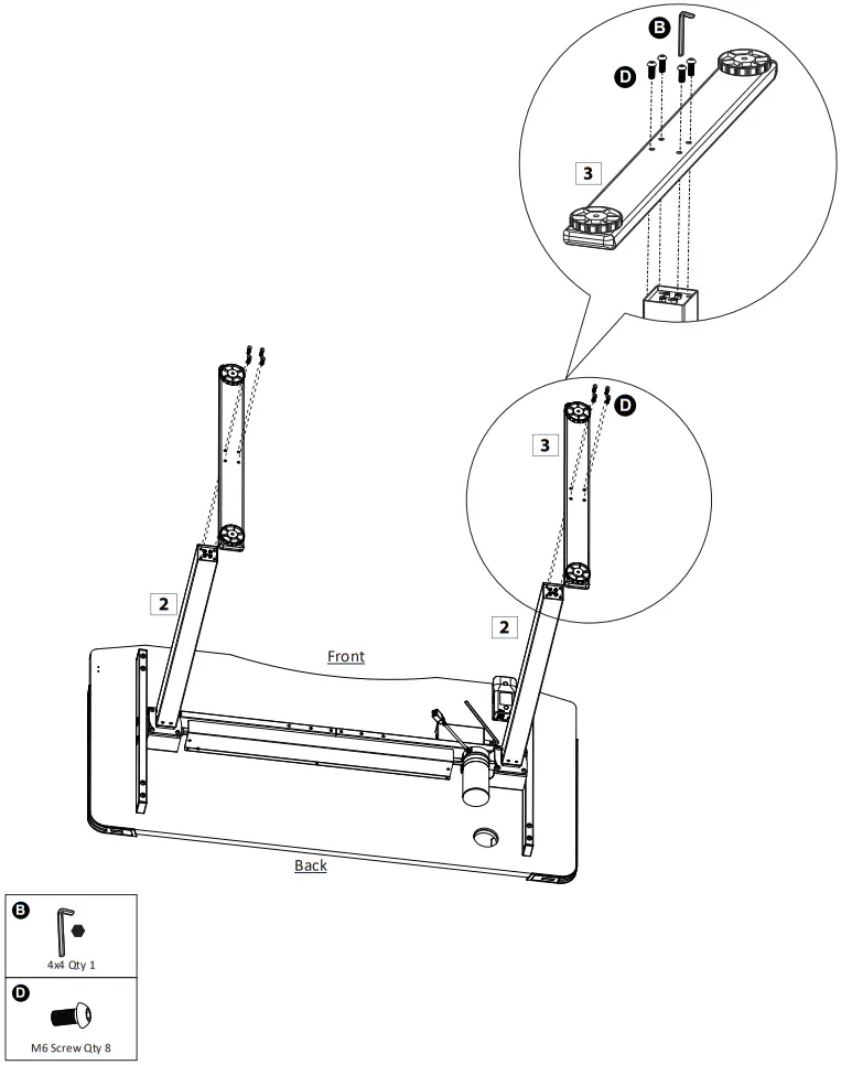
STEP 3
Assemble feet 3 to legs 2 using fixings D.
SHOWN UPSIDE DOWN
STEP 4
a. Connect the switch cord 6 to the power adaptor.
b. Connect power cable 7 to the power adaptor.
c. Connect the switch cord 6 to the DC port on the controller 4.
STEP 5
Connect the motor cable to the M1 port on controller 4.
SHOWN UPSIDE DOWN
STEP 6
Assemble the headphone hook 5 to the underside of the table top 1 using screws E. 
STEP 7
With help, carefully turn the desk upright.
Warning the desk is heavy, lift with care.
Assemble stand 10 as shown.
Place it on the desk top. 
STEP 8
Assembly is complete 
Height Adjustment/Controls
Key button

Up and DOWN Function
Press the “
“or “
” button to raise or lower the desktop.
Reset Function
- Hold the “
” button for more than 5 seconds to enter reset mode when at the lowest position. The reset is not completed until the lifting system reaches the bottom, then rebounds to stop. - If the lifting system fails to adjust the height, release the button. Press and hold the “
” button for at least 5 seconds. The reset is not completed until the lifting system reaches the bottom, then rebounds to stop.
Remote Control Instructions
* Battery Type for Remote: AAA Battery
Remote Pairing
Connect the light strip and the USB connecting cable. Hold the “ON” button before the light strip is powered on. After connecting to the power supply (Input Voltage: DCSV), keep pressing the “ON” button until the light strip stops flashing, and the pairing is successful.
Troubleshooting
The following tips will help you detect and eliminate the common faults and errors. If the fault you met is not listed below, please contact our after-sales team. Only the manufacturer can investigate or resolve faults or errors not listed below.
| Fault phenomenon | Method | Fault phenomenon | Method |
| The desktop could not function | Check if all the cables are well connected; | Overwork (Duty cycle: Max 2min on /18min OFF) | Restart after suspending for 18mins while connecting with power. |
| Rising at a low speed | Check if overloaded, max loading: 50kg; | ||
| The light strip cannot be controlled by remote | 1. Replace the remote control battery | ||
| The desk moving downwards without any operation | |||
| 2. Perform remote pairing operation steps | |||
| Automatically Self-Reset | |||
| The light strip does not light up | 1. Check whether the connection between the USB connecting cable and the light strips on both sides is normal | ||
| Go down but not go up or go up but not go down | Reset; | ||
| The upper and downward height is not enough | |||
| 2. Check whether the connection between the USB connecting cable and the power supply is normal | |||
| The desk could not be lifted |
After Sales Support / Product Returns
If you have questions regarding the operation of your purchase, or in the unlikely event you need to return the unit because it is faulty or is no longer wanted, please contact our product returns department at [email protected], or 561-465-0030, Option 0.
Address: Forward Industries, 105 South Narcissus Avenue Suite 412, West Palm Beach, FL 33401
Disposal![]()
This marking indicates that this product should not be disposed of with other household wastes. To prevent possible harm to the environment or human health from uncontrolled waste disposal, recycle it responsibly to promote the sustainable reuse of material resources. To return your used device, please use the return and collection systems or contact the retailer where the product was purchased. They can take this product for environmentally safe recycling.
Certification
![]()






































