GD914 Adjustable Rising Desk
User Manual
GD914
ADJUSTABLE RISING DESK
GD914 Adjustable Rising Desk
Notes:
- Input AC100-240V / 50-60Hz
- Operating Temperature 0-40°C
- After the 00914 assembly is finished. please press the “0- button before using it (see No.1 Position Reset).
- Before use. please check whether all the cables we fully connected.
- Keep children away from the adjustable rising desk and control units. There is a risk of injury and electric shock.
- Keep all electrical components away from liquids.
- Do not use any damaged cable or electrical parts. as it may cause electric shack and injury.
- Do not open any of the components (riser control box. legs. or motor). There is a risk of electric shock.
- Do not attempt to open or repair the components. Use only manufacturer supplied components and cables.
- This is a heavy product and not suitable for frequent moves it requires at least two people when moving it.
- Please handle with care and avoid any injury.
- When the table is risen or descend& there is a slight jitter. which is a normal phenomenon from the transmission structure because of the sudden activation and does not affect its service We.
How To Use

1. Position Reset
- After all the power lines are connected, press
or “
” then the screen will light up. - Press and hold the reset button “
” for around 3s until the screen displays”— -” and then release the button. - After you release the button, the desk will automatically drop to the lowest height, then it will rise around 2cm and stop, which means the initial setting is successful.
2. Raising or Lowering the Desk
Press “
” button to raise the desk and press “
” button to lower the desk.
3. Height Memory Setting
You con set 3 height memory settinas:
- Adjust the desk height to your desired position.
- Press and hold “1/2/3” button, when the screen flashes, It means the height memory setting is successful.
Memory position
- Press 1/2/r button, and the desk will rise or descend according to the height memory setting from each button.
- During the operation, you can press any keys to stop it.
4. Sedentary Reminder
To turn on the reminder setting:
- Press
button to turn on the sedentary reminder and press it again to change between “r30/r45/r60”. representing 30 minutes/45 minutes/60 minutes. - After you select the time, you don’t need to press anything, and wait until the screen turn off, which means the initial setting is successful.
- when the countdown time is up. the screen will display “Chr” for 1 minute.
- After the screen displays 3 consecutive reminders at 5minutes interval and the table is not used, the screen will automatically turn off.
To turn off the reminder setting
- Press ”
” button until the screen displays digital height. which means the reminder is turned off. - In the sedentary reminder state, you can press “
” or “
” button to adjust the height. and the sedentary reminder will restart the countdown.
5. Lock/Unlock Controller
To lock the controller.
Press and hold “1” and -2″ at the same time for 5 seconds until the screen displays “1”, which means the system is successfully locked, you cannot raise or lower the desk.
To unlock the controller:
Press and hold “1” and “2” of the some time for 5 seconds until the screen change from “I.” to digital height, which means the system is successfully unlocked, you can raise or lower the desk.
Screw List

Part List

Step 1
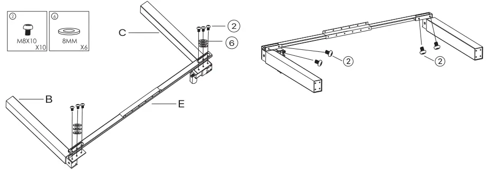
Align the 2 Crossbar (E) together, then align it with the Crossbar Bracket (F] screw hole and lock it together with M8x10 screws (2).
Step 2
Akin the Crossbar (E) with Right Leg (C) and Left Leg (B) screw holes, lock it together with itAE:x10 screws (2).
(Note: Use 3pcs 8mm Shim Ring (6) for each side of middle screw as shown in the picture.)
Step 3
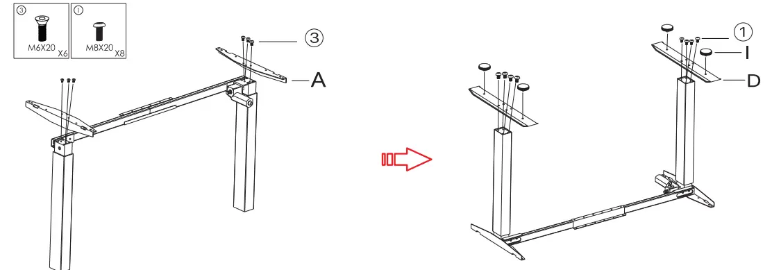
Align the Tabletop °rocket (A) with the Left Leg (B) and Right Leg (C) screw holes and lock it with M6x20 screws (3).
Align the Table Feet (D) with the Left Leg (B) and Right Leg (C) and lock it with M8x20 screws (I). Install the 4pcs Adjustable Feet (I) to the Table Feet (D).
Step 4

- Loosen the Drive Rod (G) and adjust the length according to the table length.
- Insert the left side of Drive Rod to the Left Leg’s gear, then Insert the opposite side to the Right Leg’s gear.
- Pull the left side and right side of Drive Rod. and make sure it’s fully connected with each side table leg’s gear (As shown in the picture].
- Tighten the Drive Rod to fix the length.
Step 5
Align the Tabletop (H) together. then connect it with the Tabletop Connector (N) and lock it together with M4x20 screws (4). (Note: Please use the carton box or cloth under the tabletop to prevent scratch and damage from sand.)
Align the Tabletop screw hole with the Table Frame and lock It with M4x20 screws (4). (Note: 4 of the screws require 6mm Shim Ring (7), os shown In the picture.)
Step 6
1. Align the Controller Box (1) and Tabletop screw hole. then lock it with M4x20 screws (5).
2.Align the Adopter (K) and Tabletop screw hole, then lock it with m4x20 screws (4).
(Note: There are 2 types of M4x20 screw included, please see the picture for reference)
A5gn the Cup Holder (M) and Headset Holder (1) screw hole with Tabletop and lock it with M4x20 screws (4).
(Note: You can install the Cup Holder and Headset Holder either on left or right. but make sure to install it in the correct screw hole.)
Step 6
Insert the Net Bracket Clamp (0) to the Net Bracket (P) wire, then (Agri the Net Bracket Clamp screw hole to the Tabletop and lock it with M4x20 screws (4).
Connect all the cables and power cord.


















