CHRISTIE P3 1.5mm MicroTiles LED Installation Guide
NOTICES
COPYRIGHT AND TRADEMARKS
Copyright © 2022 Christie Digital Systems USA Inc. All rights reserved.
All brand names and product names are trademarks, registered trademarks or trade names of their respective holders.
GENERAL
Every effort has been made to ensure accuracy, however in some cases changes in the products or availability could occur which may not be reflected in this document. Christie reserves the right to make changes to specifications at any time without notice. Performance specifications are typical, but may vary depending on conditions beyond Christie’s control such as maintenance of the product in proper working conditions. Performance specifications are based on information available at the time of printing. Christie makes no warranty of any kind with regard to this material, including, but not limited to, implied warranties of fitness for a particular purpose. Christie will not be liable for errors contained herein or for incidental or consequential damages in connection with the performance or use of this material. Our centers of excellence for manufacturing in Kitchener, Ontario, Canada and in Shenzhen, China are ISO 9001:2015 Quality Management System-certified.
For the most current technical documentation and office contact information, visit http://www.christiedigital.com.
Warranty
Products are warranted under Christie’s standard limited warranty, the details of which are available at https://www.christiedigital.com/help-center/
warranties/ or by contacting your Christie dealer or Christie.
PREVENTATIVE MAINTENANCE
Preventative maintenance is an important part of the continued and proper operation of your product. Failure to perform maintenance as required, and in accordance with the maintenance schedule specified by Christie, will void the warranty.
REGULATORY
The product has been tested and found to comply with the limits for a Class A digital device, pursuant to Part 15 of the FCC Rules. These limits are designed to provide reasonable protection against harmful interference when the product is operated in a commercial environment. The product generates, uses, and can radiate radio frequency energy and, if not installed and used in accordance with the instruction manual, may cause harmful interference to radio communications. Operation of the product in a residential area is likely to cause harmful interference in which case the user will be required to correct the interference at the user’s own expense. Changes or modifications not expressly approved by the party responsible for compliance could void the user’s authority to operate the equipment
CAN ICES-3 (A) / NMB-3 (A)
ENVIRONMENTAL
The product is designed and manufactured with high-quality materials and components that can be recycled and reused. This symbol means that electrical and electronic equipment, at their end-of-life, should be disposed of separately from regular waste. Please dispose of the product appropriately and according to local regulations. In the European Union, there are separate collection systems for used electrical and electronic products.
If printing this document, consider printing only the pages you need and select the double-sided option. Please help us to conserve the environment we live in!
Product overview
Christie MicroTiles LED tiles are modular, high-quality image display units that can be configured to create small display configurations as well as larger more complex display canvases of virtually any size and shape.
Each tile captures a portion of the image and applies scaling, as required, which results in a single picture. The LED wall controller acts as the main system controller and coordinates with all connected tiles to form a canvas.
Christie MicroTiles LED tiles are designed to occupy a smaller more manageable install footprint with minimal mechanical and electronics components. The simplicity of the design ensures higher reliability and improved thermal management.
Product documentation
For installation, setup, and user information, see the product documentation available on the Christie website. Read all instructions before using or servicing this product.
Product documentation
For installation, setup, and user information, see the product documentation available on the Christie website. Read all instructions before using or servicing this product.
- Access the documentation from the Christie website:
- Go to this URL: http://bit.ly/2DE9cnu or https://www.christiedigital.com/en-us/digital-signage/products/ledtiles/microtiles-led.
- Scan the QR code using a QR code reader app on a smartphone or tablet.

- On the product page, select the model and switch to the Downloads tab.
Related documentation
Additional information on this product is available in the following documents
- MicroTiles LED Product Safety Guide (P/N: 020-102824-XX)
- MicroTiles LED User Guide (P/N: 020-102835-XX)
- MicroTiles LED Specifications Guide (P/N: 020-102836-XX)
- MicroTiles LED Serial Commands Guide (P/N: 020-103050-XX)
- MicroTiles LED Status System Guide (P/N: 020-103556-XX)
- Replacing LED modules in a MicroTiles LED array (P/N: 020-103059-XX)
- Removing the MicroTiles LED chassis (P/N: 020-102670-XX)
Important safeguards
To prevent personal injury and to protect the device from damage, read and follow these safety precautions.
General safety precautions
Read all safety and warning guidelines before installing MicroTiles LED
Warning! If not avoided, the following could result in death or serious injury
- Observe all electrostatic precautions. Use a grounded wrist strap and insulated tools when handling, servicing, or cleaning electronic assemblies.
- A minimum of two people or appropriately rated lift equipment is required to safely lift, install, or move the product.
- A certified electrician must be present during installation to ensure the installation meets the local electrical code.
- Motors and fans may start without warning.
- SHOCK HAZARD! Power supply uses double pole/neutral fusing. Disconnect all power sources before opening the product.
Notice. If not avoided, the following could result in property damage.
- Always wear clean, lint-free gloves when handling the product.
AC power precautions
Learn the safety precautions related to AC power.
Caution! If not avoided, the following could result in minor or moderate injury.
- SHOCK HAZARD! Disconnect the product from AC before installing, moving, servicing, cleaning, removing components, or opening any enclosure.
- SHOCK HAZARD! Do not attempt operation if the AC supply is not within the specified voltage and current, as specified on the license label.
- FIRE HAZARD! Do not use a power cord, harness, or cable that appears damaged.
- FIRE AND SHOCK HAZARD! Do not attempt operation unless the power cord, power socket, and power plug meet the appropriate local rating standards.
Remote Power Rack Shelf safety warnings
To prevent personal injury and to protect the device from damage, read and follow these safety precautions.
Warning! If not avoided, the following could result in death or serious injury.
- Only Christie qualified technicians are permitted to open product enclosures.
- This product must be installed within a restricted access location not accessible by the general public.
- SHOCK HAZARD! Disconnect the product from AC before installing, moving, servicing, cleaning, removing components, or opening any enclosure.
- A minimum of two people or appropriately rated lift equipment is required to safely lift, install, or move the product.
- A certified electrician must be present during installation to ensure the installation meets the local electrical code.
- Install the product near an easily accessible AC receptacle.
- Hazardous voltages are present at power system inputs. The DC output, though not dangerous in voltage, has a high short-circuit current capacity that may cause severe burns and electrical arcing.
- SHOCK HAZARD! Power supply uses double pole/neutral fusing. Disconnect all power sources before opening the product.
- Before working with live power systems, remove all metallic jewelry (such as watches, rings, metal rimmed glasses, or necklaces) and wear safety glasses with side shields at all times during the installation.
- Motors and fans may start without warning.
- Use insulated hand tools while working on live power systems.
Product labels
Learn about the labels that may be used on the product. Labels on your product may be yellow or black and white.
General hazards
Hazard warnings also apply to accessories once they are installed in a Christie product that is connected to power
Fire and Shock Hazard
To prevent fire or shock hazards, do not expose this product to rain or moisture.
Do not alter the power plug, overload the power outlet, or use it with extension cords. Do not remove the product enclosure. Only Christie qualified technicians are authorized to service the product.
Electrical Hazard
Risk of electric shock. Do not remove the product enclosure. Only Christie qualified technicians are authorized to service the product.
General hazard.
Electrocution hazard. To avoid personal injury, always disconnect all power sources before performing maintenance or service procedures.
Burn hazard. To avoid personal injury, allow the product to cool for the recommended cool down time before performing maintenance or service.
Mandatory action
Caution! If not avoided, the following could result in minor or moderate injury.
SHOCK HAZARD! Disconnect all power sources before performing maintenance or service procedures.
Consult the service manual.
Electrical labels
Indicates the presence of an earth ground
Typical MicroTiles LED solution
A typical MicroTiles LED installation contains a variety of components.
| A | LED tiles |
| B | Octrollers—Each Octroller can control up to eight LED tiles. |
| C | Remote Power Rack Shelf |
| D | LED Wall Controller |
| E | Video matrix switch and splicing video processor |
| F | Control computer for accessing the web user interface (WebUI) |
| G | Media sources |
Cable and component layout and design
Before an array is constructed, plan the design layout of the tiles to make sure that the controller placement and the cabling layout support the overall tile design objectives.
The LED display system offers considerable flexibility in terms of the number of media sources that can be displayed and the overall resolution. Color and brightness matching, as well as other functions, may be performed across an entire array.
The video source connections between the components are represented by the blue line. The power connections between the components are represented by the red line.
Wall controller interface and ports
Learn about the interface and physical ports on the wall controllers.
Front ports
| ID | Component | Description |
| A | USB port | Accepts USB storage devices for upgrade, interrogation, and USB to serial adapter. |
| B | LED status indicator | Indicates device status. |
| C | Display panel | Provides more detailed status and menu options/settings. |
| D | Keypad | Use the keypad to navigate through the menu options. |
| E | Back button | Exits the current menu option. |
Christie Link E1000 rear ports

| ID | Component | Description |
| F | AC power switch | Powers on and off the unit. |
| G | Sync out (SMA connector) | Reserved for future use. |
| H | Sync in (SMA connector) | Reserved for future use. |
| I | AC power receptacle | Plug in an appropriately rated line cord. |
| J | Ethernet | Accepts an Ethernet cable connection. |
| K | HDMI 1 | High-Definition Multimedia Interface cable connection 1 (In only) |
| L | DP1 | Display Port connection 1 (In only) |
| M | HDMI 2 | High-Definition Multimedia Interface cable connection 2 (In only) |
| N | DP2 | Display Port connection 2 (In only) |
| O | QSFP+0 | Use this port to connect to Octrollers. |
| P | QSFP+1 | Use this port to connect to Octrollers. |
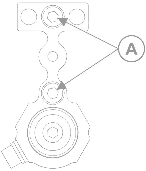
Octroller ports
Learn about the interface and physical ports on the Octroller
| A | Ambient light sensor and 3D sync signal for an external IR box. |
| B | Service—To access serial commands and other service functionality, connect an Ethernet cable between the Octroller and a computer. |
| C | QSFP+0—Connection that sends data from the wall controller to all Octrollers in the chain. |
| D | QSFP+1—Connection that sends data from the wall controller to all Octrollers in the chain. |
| E | Tile Link—Sends power and data from the Octroller to the LED tiles. One connection per tile. |
| F | DC power connection to the Remote Power Rack Shelf |
| G | PWR OK—Connects to the local AC power supply when used in a redundant configuration. |

Technical support
- Technical support for Christie Enterprise products is available at:
- North and South America: +1-800-221-8025 or [email protected]
- Europe, Middle East, and Africa: +44 (0) 1189 778111 or [email protected]
- Asia Pacific ([email protected]):
- Australia: +61 (0)7 3624 4888 or [email protected]
- China: +86 10 6561 0240 or [email protected]
- India: +91 (80) 6708 9999 or [email protected]
- Japan: 81-3-3599-7481
- Singapore: +65 6877-8737 or [email protected]
- South Korea: +82 2 702 1601 or [email protected]
- Christie Professional Services: +1-800-550-3061 or [email protected]
Installation and setup
The configuration of an array depends on the installation. Use the following instructions as a guideline only. Before installing an LED array, you must fully understand all site requirements and characteristics.
Warning! If not avoided, the following could result in death or serious injury.
- The supporting structure must safely support the combined load of the product, all attached hardware, and components following all local safety standards and regulations.
- External support for a display wall must be designed and implemented by a Christie qualified installer and must comply with local area regulations and safety standards.
- The area behind the MicroTiles LED tiles is a restricted access location not accessible by the general public.
- Only personnel who are trained on the precautions for the restricted access location can be granted entry to the area.

| A | LED modules | D | Wall anchors |
| B | Chassis | E | Mounting template |
| C | Mounting sheet | F | Structural mount surface |
Installing the mounting sheets
Install the mounting sheets and tiles onto a support structure that can support the combined load of
the product and meets all local safety standards and regulations.
Use these steps as a high-level workflow for installing the mounting sheets. For detailed instructions,
refer to the page identified in the step.
- Using a laser level to project a plumb line, ensuring approximately 65mm is between the wall surface and the laser line, measure the distance to the structural mounting surface in various locations over the intended installation area. If the variation over all measurements exceeds 15mm or 5/8″, adjust the plumb line so all the measurements to the wall are 15mm or less. Make note of the location of the extreme variations in the wall depth. This will assist in establishing a starting point when installing the mounting template.
- In the bottom center of the array, level and attach the mounting template to the surface (on page 15).
- Install and level all remaining mounting templates for the array.
- For the entire array, attach the magnetic anchors in the marked locations on the mounting template (on page 17).
- Install the screw anchors for the first mounting sheet.
- Mount the sheet on the anchors (on page 17).
- Install the adjacent mounting sheets in the array (on page 21).
- After the sheets have been installed, adjust the wall to be flat (on page 19).
Hanging the mounting template
Use two people to hang the mounting template. One mounting template provides guidance for two sheets and multiple mounting anchors.
- Ensure the wall is flat and there is less than 15mm or 5/8″ difference in depth across the wall.
- Locate the bottom center of the array and hang the first mounting template at this location so the edge of the template aligns with the center of the array.
a) Orient the mounting template so all text is readable and not upside down.
b) Using a laser level, set a level and plumb line that intersects with the center line of the anchor in the bottom left corner of the mounting template.
c) Adjust the mounting template so the cross hairs of the anchors at the horizontal and vertical edges of the template are aligned to the level and plumb lines.
d) Affix the mounting template in place on the wall with staples or low-adhesive two-sided tape. Christie recommends putting the staples or adhesive tape close to the ancho locations on the mounting template. This helps to keep the mounting template from lifting while drilling pilot holes. - Install the adjacent mounting template.
a) Orient the mounting template so all text is readable.
b) Overlap the alignment markers (X) of the initial mounting template with the markers on the adjacent mounting template.
c) Use a laser level to ensure the mounting template is level and to verify the anchor markers across two mounting templates are aligned.
d) Verify the mounting template is in the correct position, relative to the other mounting templates.
- For new mounting templates in a column, measure the distance between the top of the level line crosshair on one sheet and the top of the level line crosshair of the next mounting template. The distance between the tops of each line should match the distance indicated on the template (P/N: 020-103242-XX).

- For new mounting templates in a row, measure the distance between the right side of the center line of the left mounting template and the right side of the center line of the right mounting template. The distance between the center lines should match the distance indicated on the template (P/N: 020-103242-XX). The other dimensions shown on the template can be used as a reference for positioning and verifying the setup as required.
e) Affix the mounting template in place on the wall with staples or low-adhesive two sided tape.
Installing the wall anchors
Do not drop the anchors. Damage to the anchors may affect the anchor functionality.
Notice. If not avoided, the following could result in property damage.
- Wear protective eyewear while drilling holes.
- Prepare the mounting surface.
- Smooth contiguous structural walls:
a. Using a 1/8 inch or 3 mm drill bit, pre-drill the mounting screw holes (A) for each anchor location in the array. Use the cross-hairs to locate the center of each anchor mount hole
b. Place the anchor on the mounting template, ensuring the anchor is completely within the anchor location outline. - For modular frame structures such as extrusion or Unistrut, the center of the internal vertical members must be 240.1 mm apart. The distance between the closest internal vertical and an edge vertical is approximately 219 mm but may vary based on the installation.
- Smooth contiguous structural walls:
- Install the screws in the top and center of the anchor, securing the anchor to the surface. Tighten the screws to 84 in-lb. The anchors are designed to accommodate #12 wood screws, 6 mm machine screws, and ¼ inch machine screws.
- Use the magnetic anchors (B) around the perimeter of the sheet location and the nonmagnetic anchors (C) for interior locations.

For anchors on the interior of the mounting sheet, the location of the adjustment screw does not matter. - For anchors along the top of the array, rotate the anchor 180° so the T portion of the anchor is to the interior of the array.
- For anchors along the sides of the array, relocate the adjustment screw (D) to the interior of the array. To move the adjustment screw, remove the screw, and re-install it on the opposite side of the anchor. The anchor shaft must be rotated until the hole in the shaft (E) is aligned with the appropriate slot in the anchor body.

- Use the magnetic anchors (B) around the perimeter of the sheet location and the nonmagnetic anchors (C) for interior locations.
- Install the anchors at every location indicated on the mounting template.
Installing the metal mounting sheets
Keep the sheet as flat as possible. Do not bend or curve the sheet as it can impact the wall planarity.
Warning! If not avoided, the following could result in death or serious injury.
- A minimum of two people or appropriately rated lift equipment is required to safely lift, install, or move the product.
Notice. If not avoided, the following could result in property damage.
- Wear work gloves while handling the mounting sheet.
- Remove the paper wall template if regional or local building codes prohibit it.
- Locate the bottom center of the array.
- Remove the sheet from the packaging. Wear work gloves while handling the mounting sheet.
- Turn the mounting sheet so the sheet orientation feature is at the top of the bottom left chassis cut out (A) and the LED module tether holes are on the right side of the chassis cavity (B).

- With the assistance of another person, lift and attach the sheet onto the magnetic anchors. The second person should continue to hold the sheet in place on the magnets until it is secured.
- To secure the sheet to the anchors, install a washer and the M6 screw into the anchor. Finger tighten the screw.
- Using a laser level, square and level the sheet, ensuring the sheet holes are centered over the anchor screw holes.
- Install and fully tighten the washers and screws securing the sheet to the anchors to 84 in-lbs, ensuring all holes are filled.
- For the remaining sheets in the array, repeat step 2 to 7, keeping the screws hand tightened until all leveling and adjusting is complete.
Adjusting the wall to be flat
To ensure the LED tiles install properly, adjust the mounting sheets to be flat.
During the Z plane adjustments of the wall, two screws must secure the mounting sheet to the anchors at all times.
- Set the laser level to be nominally parallel to the wall, ensuring approximately 65 mm is between the wall surface and the laser line. To make the distance consistent across the chassis plain, adjust the laser as needed.

- Identify a point where the laser hits the tool and consistently use this point as the location being analyzed while the wall is being adjusted. The laser should hit this point anywhere on the wall. Be sure to consistently reference the same edge of the laser line when aligning Z.
- Locate the area of the wall that requires the most adjustment.
- Place the magnetic block of the depth adjustment tool onto the sheet.

- Slide the anchor adjustment screw (D) to extend or retract the anchor shaft until the sheet is in a position where the laser hits the identified point on the tool.

- When the adjustment on the anchor is complete, securely finger tighten the anchor adjustment screw.
If additional adjustments are required later, loosen the screw before adjusting the anchor. Slide the anchor adjustment screw (D) to extend or retract the anchor shaft until the sheet is in a position where the laser hits the identified point on the tool. To achieve the needed adjustment, it may be necessary to loosen the surrounding anchors. - After the anchor is adjusted, mark the location on the metal sheet.
Marking an anchor as completed helps identify the anchors still requiring adjustments. - For all anchors in the array repeat steps 3 to 7. To ensure the mounting sheets remain level and plumb, leave the laser level on during the alignment of the entire wall.
- After the entire wall is adjusted, fully tighten the anchor adjustment screws to 84 in-lbs.
Adjusting and leveling the mounting sheets
After installing and securing the metal mounting sheet, ensure they are level and verify the space between the mounting sheets is correct.
- From the rear of the installed sheet, attach the sheet couplers at all sheet alignment feature locations on the edges where adjacent sheets are being installed with two M5 button head screws.

Secure a minimum of two sheet couplers to each side. To allow for movement when the adjacent sheet is installed, do not fully tighten the sheet coupler screws. - Insert the sheet locate tool into the hole on the sheet coupler.

It may be necessary to adjust the sheets to allow space for the tool to be inserted. - Turn the sheet locate tools so the notches on the top of the tool are pointing at the gap between two mounting sheets.
- On a side where two sheets meet, install the chassis on the two corners.
- On one corner, install an LED module board at the edge of the sheet, and install the LED module on the edge of the adjacent sheet.
- If the second LED module is in danger of colliding with the first LED module, turn the sheet locate tool to separate the sheets until the LED modules have 0.14 microns between them.
- Tighten the screw closest to the edge of the sheet to hold the position of the sheet corner.
- On the other corner of the sheet, repeat steps 2 to 7. Adjusting one corner may shift the location of the opposite corner. To produce a level install, it may be necessary to re-adjust the corners.
- When the new sheet is level, tighten all the sheet couplers to 84 in-lbs.
- For each side of each sheet, repeat steps 1 to 9.
- Repeat this procedure for all sheets in the array.
Installing and configuring the Remote Power
Rack Shelf
Use the following instructions to install and configure the Remote Power Rack Shelf external power supply.
Other 54 VDC power supplies (UL certified and SELV rated) may be used to power the Octrollers.
However, each Octroller must be protected with a 20 to 30 A maximum circuit breaker with a medium trip delay. Alternate power systems must be reviewed and approved by Christie and by the local electrical authority at the installation site.
Based on the power rack shelf type, the installation and configuration may be different. Refer the Remote Power Rack Shelf User guide (P/N: 020-002027-XX) for the power shelf.
Mounting the Remote Power Rack Shelf
The power system must be mounted in a clean and dry environment. Sufficient free space must be provided at the front and rear of the power system.
Warning! If not avoided, the following could result in death or serious injury.
- This product must be installed within a restricted access location not accessible by the general public.
- Find a location in the rack for the Remote Power Rack Shelf.
- Attach the Remote Power Rack Shelf to the rack.
To ensure a proper electrical bond between the system chassis and the relay rack use threadforming mounting screws and star washers.
Connecting the Octroller power cables to the Remote Power Rack Shelf
To power the Octrollers, connect the cables between the Octrollers and the Remote Power Rack Shelf.
Warning! If not avoided, the following could result in death or serious injury.
- HOCK HAZARD! Disconnect the product from AC before installing, moving, servicing, cleaning, removing components, or opening any enclosure.
- Ensure the Remote Power Rack Shelf breakers are off before connecting any cables to the devices.
- Connect the main power cable to the Remote Power Rack Shelf.
- Connect the other end of the main power cable to the Octroller. If the main power cord supplied with your product is not long enough to connect the first display panel in an array to the Remote Power Rack Shelf module, purchase a main power cord of an adequate length. Christie recommends one of the pre-terminated power cables offered as Christie accessories. Alternatively, create a custom cable using the Christie Main Power Cable Spool (P/N 154-122106-XX), Connector Kit (P/N 154-125109-XX), and Molex Crimping Tool (P/N 154-124108-XX). For more information on the Molex Crimping Tool, see the Molex documentation.
- Plug the Remote Power Rack Shelf into the building outlets in the wall or the floor. Each Remote Power Rack Shelf AC cable must be protected with its own circuit breaker. The circuit breaker value should not exceed 20 A.
Resetting the breakers
When too many components are connected or too much power is sent through the Remote Power Rack Shelf, the breakers may interrupt the current flow. Reset the breakers to resume operation.
If the breakers disconnect the current, the ON button is released for the affected Output.
- Reduce the number of panels connected to the input or the amount of power going through the input.
- Push the ON button back into place.
The current is reconnected and the output is powered.
Installing the LED wall controller
The wall controller sends the input source signal to all Octrollers in the array.
- Mount the LED wall controller. The LED wall controller can be installed within 5 m of the wall when using a passive QSFP+ cable and up to 10 km away when using an active QSFP+ fiber cable.
- Connect the LED wall controller to the building AC power supply.
- On the LED wall controller, verify the power LED is green.
Powering on the array
Turn on each component in the array in the order below.
- Start the computer that is the video source.
- Turn on each rectifier in the Remote Power Rack Shelf.

As the wall is powering on, light flickers on the tiles. - Wait for three to five minutes after powering on the rectifiers.
- Turn on the LED wall controller.
Mounting the Octroller
Install the devices that send the source from the LED wall controllers to the LED tiles.
Caution! If not avoided, the following could result in minor or moderate injury.
- This product must be installed within a restricted access location not accessible by the general public.
- Only personnel who are trained on the precautions for the restricted access location can be granted entry to the area.
- Mount the Octroller.
Mount the Octroller vertically with the 8x Ethernet connections at the top of the unit. - Connect the Octroller to the Remote Power Rack Shelf.
- On the Octroller, verify the power LED is green.
- For each Octroller in the array, repeat steps 1 to 3.
Cabling the array
Connect the cables between all components of the array.
- Connect cables from the source to the LED wall controller.
- For configurations with a single input, and no redundancy, connect the source cable to DP1 or HDMI1.
- For configurations with two inputs creating a single image, connect source cables to both DP 1 and DP 2, or HDMI 1 and HDMI 2. The two input cables may be providing redundancy or for stitched content.
- For configurations displaying 3D content, connect the cable for the left eye source to DP/ HDMI 1 and connect the cable for the right eye source to DP/HDMI 2.
- Using an appropriate length of QSFP cable, connect the cables from the LED wall controller to the first Octroller. Various lengths of this cable assembly are available from Christie.
- Connect a QSFP+DAC cable between each Octroller in the array.
- To create redundancy in the video signal, using an appropriate length of QSFP cable, connect the cable from the last Octroller to the LED wall controller.
- Hang one end of an Ethernet cable in the location on the mounting sheet where an LED tile will be installed and connect the other end of the cable into an Octroller port. To avoid an increase in temperature, where possible connect QSFP+ connectors into the lower row of ports. A maximum of eight LED tiles can be connected to a single Octroller. Various lengths of CAT 6 unshielded, UTP, 24 AWG pre-terminated cables are available from Christie. Alternatively, a custom length of Ethernet cable can be created using the Christie Cat
- cable spool (P/N: 161-120104-XX), rJ45 Connect kit (P/N: 161-122106-XX) and Ethernet crimping tool (P/N: 11-121105-XX).
- For each tile in the array repeat step 5.
Installing the chassis and LED tiles
Mount the LED chassis and LED modules on the metal sheet.
The LEDs on the modules are fragile. Handle the LED modules with extreme care.
- On the LED wall controller, display the Module ID using the ID menu.
- Connect the Ethernet cables to the LED chassis. While the tiles are powering on, the LED flashes blue. After the tiles are fully powered on, the LED is solid green.
- Optionally, feed the tether through the sheet and chassis.
- Set the chassis into the mounting sheet locations, lining up the locator pins in the chassis with the mounting sheet locate features. The magnets on the rear of the chassis securely snap the chassis onto the mounting sheet.
- To ensure the chassis is seated properly, push the chassis down and to the left.
- Check the web user interface to confirm Neighbor Detection is working.= When the detection is successful, the web user interface displays the correct tile layout grid.
- In the web user interface, to start the automatic tile mapping, select Auto Map. Christie recommends automatically mapping the tiles in the array after the chassis are installed, and after the LED tiles are installed on the chassis.
- Optional, attach the tether to the LED module.
- Set the LED modules onto the chassis. Be aware of adjacent, already installed module boards. If the LED modules appear to be overlapping, alignment issues exist. Stop installing LED modules until the surrounding chassis are located into the correct position and the overlap is resolved. As each LED module is installed on the chassis, check for damaged or missing LEDs. If any LEDs are non-functioning, replace the LED module.
- In the web user interface, to start the automatic tile mapping, select Auto Map.
Related information
- Accessing the MicroTiles LED web user interface (on page 27)
- Securing the LED modules (on page 26)
- Removing LED modules (on page 26)
- Displaying a test pattern (on page 25)
Displaying a test pattern
Display a test pattern to help configure MicroTiles LED.
- Log into the web user interface.
- Select Test Pattern Generator.

- From the Test Pattern window, select a test pattern.
- To close the Test Pattern window, select Test Pattern Generator again.
- To turn off the test pattern, select Off.
Removing LED modules
When removing the LED modules, take care to not damage the LEDs.
- Place the screen removal tool over the LED module board, pressing it firmly in place.
- Hold the other module boards attached to the same chassis in place and pull the LED module away from the chassis. To avoid damaging the surrounding LED modules, avoid rotating or pivoting the tool and module.
- To remove the tool from the led module, roll the removal tool adhesive off the module.
- If present, remove the tether from the back of the LED module board (on page 26).
Related information
Securing the LED modules (on page 26)
Securing the LED modules
Learn how to secure the LED modules to the chassis and mounting sheet.
- Reaching through a hole in the mounting sheet, insert a tether cable through the security holes, the chassis, and into the LED module.

- Tighten the tether screw.

- For each LED module in the tile repeat steps 1 and 2.
Verifying the hardware installation
Using the web user interface make sure the hardware is installed and recognized.
- On the Dashboard, verify the correct number of hardware components in the array are listed.
- On the Dashboard, verify the array link is a closed loop.
- Make sure all chassis have identified their neighbors in the array.
a) Switch to the Canvas Editor.
b) Verify the canvas appears in the same shape as the installed array.
Accessing the MicroTiles LED web user interface
Learn how to access the web user interface.
The MicroTiles LED web user interface is supported on the following browsers:
- Google Chrome
- Microsoft Edge
- Safari
Access the web user interface to configure the array and monitor the status of the components.
- In a web browser, type the IP address of the LED wall controller. The IP address is displayed on the LED wall controller display. In configurations with two LED wall controllers, entering the IP address for either wall controller accesses the same web user interface settings.
- Log into the session with the user name and the password. The user name and password are case-sensitive.
- Select Login.
Setting up MicroTiles LED for 3D
MicroTiles LED is capable of displaying stereoscopic 3D video sources, relying on additional hardware (stereo emitters and glasses) to complete the display system.
3D is only available on 1.25mm tiles.
Images generated from a stereo 3D video source consist of a series of images (frames) that alternate quickly between two slightly different viewpoints, corresponding to our left and right eyes. When these frames are displayed fast enough and viewed with special glasses synchronized to the left/right (L/R) changes, the resulting image appears with the same depth and perspective sense in the real world.
MicroTiles LED uses a dual-input configuration for displaying 3D content, where two video streams are provided by the video server, with the left eye supplied by one stream and the right eye supplied by the other. The video streams are frame locked and supplied concurrently.
3D requirements
Stereo 3D applications require a stereo 3D-capable source, special hardware and software setups, and the array’s 3D Settings menu option to control the processing, synchronization, and displaying of the stereoscopic 3D source material.
Hardware requirements
Understand the hardware requirements for stereo 3D applications.
- E1000-3D wall controller (P/N: 161-012104-XX)
- 3D sync cable
- AE125H IR External 3D Emitter for controlling active shutter glasses
- XPAND Vision X101 3D glasses
- A source, usually a computer with a 3D graphics card(s)
Software and content requirements
Understand the software and content requirements for stereo 3D applications.
- Any 3D computer software that supports 3D stereo on a supported computer(s) with associated graphic cards (suggested cards include ATI or NVIDIA)
- A video stream from a video source prepared to be sequential content (for direct-input 3D) or two video streams from a video source that has been prepared to be supplied left eye and right eye concurrently and frame locked (dual-input 3D)
Active stereo 3D configuration
Use the following diagram to understand a typical hardware configuration for active stereo 3D systems.
In response to the 3D Sync Out signal from the array, the IR emitter emits an infrared signal to a receiver in the active 3D shutter glasses. This synchronizes the active glasses to alternatively open and close for the active stereo 3D applications.
Cabling the array
Connect the cables between all components of the array.
- 1. Connect cables from the source to the LED wall controller.
- For configurations with a single input, and no redundancy, connect the source cable to DP1 or HDMI1.
- For configurations with two inputs creating a single image, connect source cables to both DP 1 and DP 2, or HDMI 1 and HDMI 2. The two input cables may be providing redundancy or for stitched content.
- For configurations displaying 3D content, connect the cable for the left eye source to DP/ HDMI 1 and connect the cable for the right eye source to DP/HDMI 2.
- Using an appropriate length of QSFP cable, connect the cables from the LED wall controller to the first Octroller. Various lengths of this cable assembly are available from Christie.
- Connect a QSFP+DAC cable between each Octroller in the array.
- To create redundancy in the video signal, using an appropriate length of QSFP cable, connect the cable from the last Octroller to the LED wall controller.
- Hang one end of an Ethernet cable in the location on the mounting sheet where an LED tile will be installed and connect the other end of the cable into an Octroller port. To avoid an increase in temperature, where possible connect QSFP+ connectors into the lower row of ports. A maximum of eight LED tiles can be connected to a single Octroller. Various lengths of CAT 6 unshielded, UTP, 24 AWG pre-terminated cables are available from Christie. Alternatively, a custom length of Ethernet cable can be created using the Christie Cat
- cable spool (P/N: 161-120104-XX), rJ45 Connect kit (P/N: 161-122106-XX) and Ethernet crimping tool (P/N: 11-121105-XX).
- For each tile in the array repeat step 5.
Enabling 3D
Install and configure the array to display 3D content.
- 1. To enable 3D for dual-input 3D content:
a) Install the array components as specified (on page 15), using the E1000-3D wall controller.
b) Cable the array, connecting the cable for the left eye source to HDMI or DP 1, and the right eye source cable to input 2.
c) Install the IR emitter.
d) Connect the 3D sync cable between the IR emitter and the service port on any Octroller.
e) In the web user interface, select Input Selection.
f) Select DP Dual Input 3D or HDMI Dual Input 3D as appropriate. - To enable 3D for a single, frame-sequential 3D video input:
a) Install the array components as specified (on page 15), using the E1000-3D wall controller.
b) Configure the array for a single input (on page 31).
c) Install the IR emitter.
d) Connect the 3D sync cable between the IR emitter and the service port on any Octroller.
e) In the web user interface, select Input Selection.
f) Change the 3D sync delay to 7700.
g) In the 3D Settings area select Enable 3D stereo in a single port.
Disposing of the product packaging
Once the product has been installed and set up, Christie recommends reusing or recycling the product packaging according to your local regulations.
Completing the initial
configuration
After installing the tiles and connecting all cables, complete the initial configuration.
For additional configuration settings, refer to MicroTiles LED User Guide (P/N: 020-102835-XX).
Automatically mapping tiles in the array
MicroTiles LED tiles are equipped with neighbor detection, which automatically determines the location
of each tile within the canvas and the overall configuration of the canvas.
Christie recommends automatically mapping the tiles in the array after the chassis are installed, and
after the LED tiles are installed on the chassis.
1. Select Canvas Editor.
2. Under the Array Properties tab, select Auto Map Tile Location.
All devices in the array are renumbered. The Octrollers are renumbered based on their
connection order from the primary wall controller. Tiles are renumbered, row by row, with tile 1
located at the top left corner.
3. To view the tile edges that have been located, select Identify Tiles and display the
Neighbor Detection test pattern.
Any edges where a neighbor has not been detected appear as red lines. Edges where
neighbors have been detected are black. To update the results displayed, re-apply the test
pattern.
Selecting the input
Configure the input for an array with one or more LED wall controllers.
- Log into the MicroTiles LED web user interface.
- Select Input Selection.
- In the Device List, select the LED wall controller.
- In the properties area, specify this is the Primary Controller.
- Configure the input.
- E1000 wall controller
a. Select the input. - Disable—Disables displaying content on the array.
- DP 1 or DP 2—Provides content to the LED wall controller through the DisplayPort input.
- HDMI 1 or HDMI 2—Provides content to the LED wall controller through the HDMI input.
- DP Stitched or HDMI Stitched—Splits content to the LED wall controller across the two DP or HDMI inputs, where each input is providing half of the video. The two inputs are stitched together, displaying the content as a single video. Input 1 populates the left half of the array, and Input 2 populates the right. Both signals must have identical timing.
b. If the second HDMI or DP port is going to provide redundancy for the content going through HDMI 1 or DP 1, select Set [input name] as redundant. - E1000-3D wall controller
a. Select the input. - Disable—Disables displaying content on the array.
- DP 1 or DP 2—Provides content to the LED wall controller through the= DisplayPort input.
- HDMI 1 or HDMI 2—Provides content to the LED wall controller through the HDMI input.
- DP Stitched or HDMI Stitched—Splits content to the LED wall controller across the two DP or HDMI inputs, where each input is providing half of the video. The two inputs are stitched together, displaying the content as a single video. Input 1 populates the left half of the array, and Input 2 populates the right. Both signals must have identical timing.
- DP Dual Input 3D or HDMI Dual Input 3D—Displays 3D content on the LED array.
b. If the second HDMI or DP port is going to provide redundancy for the content going through HDMI 1 or DP 1, select Set [input name] as redundant. The array diagram is updated to reflect the input selection.
- E1000 wall controller
- For an additional LED wall controller, select it from the device tree.
- Set the wall controller as Secondary Controller. By default, the second wall controller provides redundancy for the primary wall controller.
- To configure the secondary wall controller, repeat step 5.
Adjusting the brightness levels of the seams
between tiles
To blend tiles together, change the brightness of the seam between the tiles or LED modules. The
brightness of each LED module seam can be adjusted.
- From the ID list, display the Module ID test pattern.
- Select Seam Correction.
- Select the seams to adjust.
- To select a single seam, select the grey bar.
- To select the seams in an area of the array, or to select the entire array, click and drag the mouse on a diagonal around the seams.
- To select multiple seams, select CTRL and select each seam to be adjusted.
- To select the entire array, click and drag the mouse on a diagonal around all tiles in the array. When multiple seams are selected, changing the brightness adjusts them to the same value.
- To change the seam brightness, move the Seam Brightness slider or change the value in the brightness percentage field.
This product conforms to the latest regulations and standards related to product safety, environmental, and electromagnetic compatibility (EMC) requirements.
Safety
- ANSI/UL 60950-1-2007 – Information Technology Equipment – Safety – Part 1: General Requirements
- CAN/CSA C22.2 No. 60950-1-07 – Information Technology Equipment – Safety – Part 1: General Requirements
- CAN/CSA-C22.2 No. 62368-1: 2014 (2nd Edition) – Audio/video, information and communication technology equipment – Part 1: Safety requirements.
- EN 60950:2006 + A11:2009 + A1:2010 + A12:2011 + A2:2013 – Information Technology Equipment – Safety – Part 1: General Requirements
- EN 62471:2008 (First Edition) – Photobiological Safety of Lamps and Lamp Systems
- IEC 60950-1:2005 (2nd Edition); + Amendment 1:2009 + Amendment 2:2013 – Information Technology Equipment – Safety – Part 1: General Requirements
- IEC/EN 62368-1: 2014 (2nd Edition) – Audio Video, IT & Communication Technology Equipment (AV/ICT) – Part 1: Safety Requirements.
- IEC 62471:2006 (First Edition) – Photobiological Safety of Lamps and Lamp Systems
- UL 62368-1: 2014 (2nd Edition) – Audio/video, information and communication technology equipment – Part 1: Safety requirements.
Electro-magnetic compatibility
Emissions
- CAN ICES-003 (A)/NMB-003 (A) – Information Technology Equipment (Including Digital Apparatus) – Limits and Methods of Measurement
- CISPR 32:2012/EN 55032:2012, Class A – Electromagnetic Compatibility of Multimedia Equipment – Emission Requirements
- FCC CFR47, Part 15, Subpart B, Class A – Unintentional Radiators
- IEC 61000-3-2/EN61000-3-2: Limits for Harmonic Current Emissions
- IEC 61000-3-3/EN61000-3-3: Limitations of Voltage Changes, Voltage Fluctuations, and Flicker
Immunity
- CISPR 24:2010/EN55024:2010 EMC Requirements – Information Technology Equipment – Immunity Characteristics – Limits and Methods of Measurements
Environmental
- China Ministry of Information Industry (along with 7 other Government Agencies) Order No.32 (01/2016) on the control of pollution caused by electronic information products, hazardous substances concentration limits (GB/T 26572 – 2011), and the applicable product marking requirement (SJ/T 11364 – 2014).
- EU Directive (2011/65/EU) on the restriction of the uses of certain hazardous substances (RoHS) in electrical and electronic equipment and the applicable official amendment(s).
- EU Directive (2012/19/EU) on waste and electrical and electronic equipment (WEEE) and the applicable official amendment(s).
- Regulation (EC) No. 1907/2006 on the registration, evaluation, authorization and restriction of chemicals (REACH) and the applicable official amendment(s)

































