Ivani
Intelligent Sensor Array
IV-ISA-01
Intelligent Sensor Array
Rev. Date: V10 10/08/2020
Overview
The Ivani Intelligent Sensor Array provides a digital data collection platform for the modern intelligent building. This multi-purpose device is designed to provide software configurable data collection for advanced building analytics. Coupled with Ivani NPS™ and Ivani RTLS™ analytics capabilities, the Intelligent Sensor Array provides advanced occupancy data, locations of tagged assets/people, daylight levels, temperature and humidity readings throughout the building. These data improve a range of building functions including efficiency, safety, and comfort while enhancing overall productivity.
Top Product Features
Digital data connectivity via USB
Compact footprint
Advanced BLE wireless communications analytics
Digital Passive Infrared (PIR) detector
Temperature/Humidity monitoring
Ambient light sensing
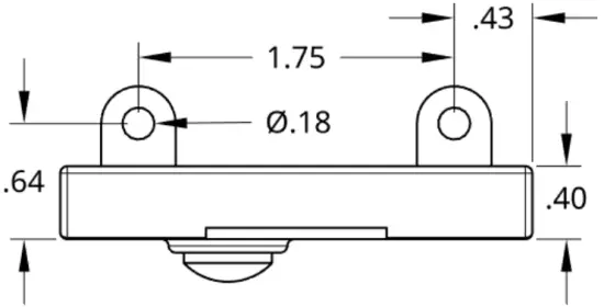
Sensors
| Sensors Included | |
| PIR Motion: 6~8m (19.5 ft to 26ft) 120° angle | Temperature: -40~80 ℃ (+/- 0.3 ℃) |
| Ambient Light: 0-4000 lux | Humidity: 0~100% (+/- 2 %) |

| Dimensions | |
| Length | 2.62″ (66.55 mm) |
| Width | 1.03 ” (26.16 mm) |
| Height (excluding PIR & mounting brackets) | .40″ (10.16 mm) |



Product Certification

Product Specifications
Mechanical
Size: 2.62″ x 1.03″ x 0.40″ (66.55 mm x 26.16 mm x 10.16 mm)
Weight: 16 gm
Environment: For indoor use only
Mounting: 2.537″ x 0.953″ cutout for 18-22 gauge panel
Color: White
Housing: Nylon
Electrical
Power Supply Type: 5V DC
Power Activation: 20mA
Install Diagram

Sensing Array/Hardware Specifications
| Digital PIR | |
| Range | 6~8m (19.5 ft to 26ft) 120° angle |
| Temperature & Humidity | |
| Temperature | -40~80℃ (+/- 0.3 ℃) |
| Humidity | 0~100% (+/- 2 % |
| Ambient Light | |
| Range | 0-4000 lux |
Wireless Specifications
| On-board Wireless Radio | |
| Radio Frequency | 2.4 GHz |
| Standard | BLE |
| Transmitter Power | +4dB(MAX) |
PIR Motion Sensor Coverage
| Mounting Height – (ft) | Motion Sensor Coverage | ||
| Estimated Sensor Range: Radius (ft) | Estimated Sensor Range: Diameter (ft) | Ivani Buffered Sensor Range: Radius (ft) | |
| 8 | 13.86 | 27.71 | 12 |
| 9 | 15.59 | 31.18 | 14 |
| 10 | 17.32 | 34.64 | 16 |
Electrical Install Options
Long Distance Kit (IVC-LDK-01)

USB Terminated Flying Lead (IVC-ISA-01)

Non-Terminated Flying Lead (IVC-ISA-02)

Catalog Information
| Name | Part Number |
| Intellegent Sensor Array | IV-ISA-01 |
| Long Distance Kit | IVC-LDK-01 |
| USB Terminated Flying Lead | IVC-ISA-01 |
| Non-Terminated Flying Lead | IVC-ISA-02 |
| In-Fixture Faceplate | IVF-ISA-01 |
| Ceiling Mount Kit | IVF-ISA-02 |
Accessory Dimensions
| Dimensions: IV-ISA-01 w/In-Fixture Faceplate (IVF-ISA-01) | |
| Length | 2.85″ (72.39 mm) |
| Width | 1.27″ (32.26 mm) |
| Height (excluding PIR & mounting brackets) | .54″ (13.72mm) |





| Dimensions: IV-ISA-01 w/Ceiling Mount Kit (IVF-ISA-02) | |
| Diameter (external) | 4.00″ (101.6 mm) |
| Diameter (drywall cutout) | 3.00″ (76.2 mm) |
| Height (above ceiling) | 1.81″ (45.97 mm |



Compatible Analytics Packages
- Ivani NPS™
- Ivani RTLS™
Warranty
Three year warranty on hardware
US: ivani.com T (636) 275-1550
© 2020 Ivani, LLC. All rights reserved. For informational purposes only. Content is subject to change. Patents: ivani.com/IP
The UL logo is a registered trademark of UL LLC
FCC WARNING
This device complies with part 15 of the FCC Rules. Operation is subject to the following two conditions: (1) this device may not cause harmful interference, and (2) this device must accept any interference received, including interference that may cause undesired operation. Any changes or modifications not expressly approved by the party responsible for compliance could void the user’s authority to operate the equipment.
NOTE: This equipment has been tested and found to comply with the limits for a Class B digital device, pursuant to Part 15 of the FCC Rules. These limits are designed to provide reasonable protection against harmful interference in a residential installation. This equipment generates, uses and can radiate radio frequency energy and, if not installed and used in accordance with the instructions, may cause harmful interference to radio communications. However, there is no guarantee that interference will not occur in a particular installation. If this equipment does cause harmful interference to radio or television reception, which can be determined by turning the equipment off and on, the user is encouraged to try to correct the interference by one or more of the following measures:
— Reorient or relocate the receiving antenna.
— Increase the separation between the equipment and receiver.
— Connect the equipment into an outlet on a circuit different
from that to which the receiver is connected.
— Consult the dealer or an experienced radio/TV technician for help.
To maintain compliance with FCC’s RF Exposure guidelines, This equipment should be installed and operated with minimum distance between 20cm the radiator your body: Use only the supplied antenna.


















