SUNJOE SJ-MMPH1 3-In-1 Soil Meter
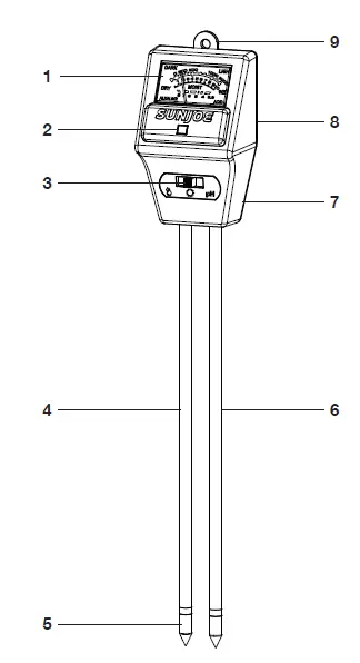
Know Your 3-in-1 Soil Meter
Read the owner’s manual and safety rules carefully before using your 3-in-1 Soil Meter. Compare the illustration below to the actual unit in order to familiarize yourself with the location of the various controls and adjustments. Save this manual for future reference.
- Gauge (pH, lux, Moisture)
- Light sensor
- Mode selector
- Copper probe
- Probe tips
- Aluminum probe
- Housing
- Back cover
- Hanging hole
Technical Data
- pH Range………………………………………. 3.5 – 8 pH
(3.5 – 6.5 Acidic)
(6.5 – 7.5 Neutral)
(7.5 – 8 Alkaline) - Light Range………………………………… 0 – 2000 Lux
(0 – 200 Dark)
(200 – 500 Dim)
(500 – 1000 Normal)
(1000 – 2000 Bright) - Soil Moisture Range……………………………….1 – 10
(1 – 3 Dry)
(4 – 7 Normal)
(8 – 10 Wet) - Product Size………………………….. 11.6 in. (Height)
2 in. (Width)
1.5 inches (Depth) - Probe Length ……………………………. 7.9 in. (20 cm)
- Net Weight ……………………………………..2 oz (55 g)
Unpacking
Carton Contents
- Soil meter
- Manual and registration card
Operation
- Set your desired soil testing mode on the mode selector. The three modes are: Moisture, Light and soil pH (Fig. 1).

- Insert the probe tips into the soil you wish to measure (Fig. 2).

CAUTION! Do not force the probes into hard soil or at hard objects, as this can easily damage the probes. - Take your measurements according to the white indicator on the gauge (Fig. 3).

NOTE: Do not cover the light sensor.
NOTE: Water may not penetrate the soil evenly, try measuring at different locations and depths to get an accurate reading.
NOTE: Water before testing. If the soil is too dry the indicator will not move. - Remove the probes from the soil and wipe them clean after each use.
CAUTION! Do not leave your soil meter in the soil for too long.
Service + Support
If your Sun Joe® SJ-MMPH1 3-in-1 Soil Meter requires service or maintenance, please call Snow Joe® + Sun Joe® customer service at 1-866-SNOW JOE (1-866-766-9563) for assistance.
Model + Serial Numbers
When contacting the company or arranging service from an authorized dealer, you will need to provide the model and serial numbers, which can be found on the registration card. Copy these numbers into the space provided below.
SNOW JOE® + SUN JOE® CUSTOMER PROMISE
ABOVE ALL ELSE,
Snow Joe, LLC (“Snow Joe”) is dedicated to you, our customer. We strive to make your experience as pleasant as possible. Unfortunately, there are times when a Snow Joe®, Sun Joe®, or Aqua Joe® product (“Product”) does not work or breaks under normal operating conditions. We think it’s important that you know what you can expect from us. That’s why we have a Limited Warranty (“Warranty”) for our Products.
OUR WARRANTY:
Snow Joe warrants new, genuine, powered and non-powered Products to be free from defects in material or workmanship when used for ordinary household use for a period of two years from the date of purchase by the original, end-user purchaser when purchased from Snow Joe or from one of Snow Joe’s authorized sellers with proof of purchase. Because Snow Joe is unable to control the quality of its Products sold by unauthorized sellers, unless otherwise prohibited by law, this Warranty does not cover Products purchased from unauthorized sellers. If your product does not work or there’s an issue with a specific part that is covered by the terms of this Warranty, Snow Joe will elect to either
- send you a free replacement part,
- replace the Product with a new or comparable product at no charge, or
- repair the Product. How cool is that!
This Warranty gives you specific legal rights, and you may also have other rights which vary from State to State.
PRODUCT REGISTRATION:
Snow Joe strongly encourages you to register your Product. You can register online at snowjoe.com/register, or by printing and mailing in a registration card available online from our website, or calling our Customer Service Department at 1-866-SNOWJOE (1-866-766-9563), or by e-mailing us at [email protected]. Failure to register your Product will not diminish your warranty rights. However, registering your Product will allow Snow Joe to better serve you with any of your customer service needs.
WHO CAN SEEK LIMITED WARRANTY COVERAGE:
This Warranty is extended by Snow Joe to the original purchaser and original owner of the Product.
WHAT IS NOT COVERED?
This Warranty does not apply if the Product has been used commercially or for non-household or rental applications. This warranty also does not apply if the Product was purchased from an unauthorized seller. This warranty also does not cover cosmetic changes that do not affect performance. Wearing parts like belts, augers, chains, and tines are not covered under this Warranty, and can be purchased at snowjoe.com or by calling 1-866-SNOW JOE (1-866-766-9563).






















