RENAC R3-10K-G5 R3 Pre Series Solar Inverter

Introduction
This manual describes solar inverters: R3-10K-G5/ R3-15K-G5/ R3-17K-G5/ R3-20K-G5/ R3-25K-G5.
These inverters are transformerless based inverter. Please read the safety instructions in this manual first. Throughout the manual it is assumed that the reader is familiar with AC and DC installations and knows the rules and regulations for electrical equipment and for connecting it to the utility AC grid. It is especially important to be familiar with the general safety rules for working with electrical equipment.
Applied designations
Throughout the manual important information is shown at different levels depending on the character of the information, as shown here:
Important sofety information
Read this before installing, operating or maintaining the inverter.
WARNING
- Before installation: Check for damage to inverter and packaging. If you are in doubt, please contact your supplier before installing the inverter. Check the voltages of the solar modules and make sure they are within the limits of the inverter specifications before connecting them to the inverter.
- Installation: Only trained and authorized personnel familiar with local electrical codes may install the inverter. For optimum safety, please follow the steps described in this manual. Keep in mind that the inverter has two voltage carrying sides, the PV input and the AC grid.
- Disconnecting the inverter: Always disconnect the AC line first! Afterwards disconnect the PV lines. Note that the inverter can still be charged with very high voltages at hazardous levels even when it is disconnected from grid and solar modules. Wait at least 5 min. before proceeding, after having disconnected from grid and PV panels.
- Operating the inverter: Before connecting the AC grid to the inverter, make sure that the installation cover is mounted again. The inverter must not be open during operation.
- Maintenance and modification: Only authorized personnel are allowed to repair or modify the inverter. To ensure optimum safety for user and environment, only the original spare parts available from your supplier should be used.
- Functional safety parameters: Unauthorized changes of functional safety parameters may cause injury or accidents to people or inverter. Additionally it will lead to the cancelling of all inverter operating approval certificates.
System sizing
When dimensioning a photovoltaic system, it must be ensured that the open circuit voltage of the PV string never exceeds the maximum permissible input voltage of 1100V DC. The PV string open circuit voltage during parallel string operation is 1000V. Higher voltages may result in permanent damage to the inverter.
The selection of PV string output should be based on the optimum utilization of the invested capital compared to the expected annual energy yield from the system. This optimization depends on local weather conditions and should be considered in each individual case. The inverter incorporates an input power limiting device, which automatically keeps the power at levels that are safe for the inverter. The limitation depends mainly on internal and ambient temperatures. The limitation is calculated continuously and always alows the maximum possible amount of energy to be produced.
Technical description of inverters
Mechanical design
Figure 2-1 shows the outline dimensions and electrical terminals of R3-10K-G5 / R3-15K-G5/ R3-17K-G5/ R3-20K-G5/ R3-25K-G5:
- DC Switch
- DC (PV terminals)
- Communication port
- /0 port
- AC terminal
- LED (Run/Fault)
- LCD
- Key
For safety reasons, the use of a DC switch is recommended. Between the PV modules and the power modules may be mandatory in some countries.
Electrical system design

Please refer to chapter 3 for the detail connecting and install methods.
Technical data






*1: The maximum DC input current for R3-25K-P is 37.5A
Grid codes



Installation and startup
Warning! Before installation and maintenance, AC and DC side doesn’t carry electricity, but if DC side is just disconnected, capacitance still contains electricity, so please wait for at least 5 minutes to ensure the capacitors completely release the energy and inverter is not electrified.
Note! Inverters must be installed by qualified person.
Package information

- There are 2 PV+ connectors for R3-10K-G5, 3 PV+ connectors for R3-15K-G5 and 4 PV+ connectors for R3-17/20/25K-G5
- There are 2 PV- connectors for R3-10K-G5, 3 PV- connectors for R3-15K-G5 and 4 PV- connectors for R3-17/20/25K-G5
Figure 3-1 package information
Installation environment
- In order to achieve optimal performance, the ambient temperature should be kept lower than 45 C.
- For the convenience of checking the LCD display and possible maintenance activities, please install the inverter at eye level.
- Inverters should not be installed near inflammable or explosive items. Any strong electro-magnetic equipment should be kept away from installation site.
- Product label and warning symbol shall be clear to read after installation.
- Please do not install inverter under direct sunlight, rain and snow.

Installation position
- The installation method and mounting location must be suitable for the inverter’s weight and dimensions.
- Mount on a solid surface.
- Select a well-ventilated place sheltered from direct sun radiation.

In consideration of heat dissipation and convenient dismantlement, the minimum clearances around the inverter should be no less than the following value.
Mounting procedure
- Setp1: Drill 4 Fix Ø11 holes in the wall according to the dimensions.
- Step2: Fix the wall mounting bracket on the wall with 4 expansion bolts in accessory bag.
- Setp3: Place the inverter on the wall-mounted bracket and install the fix screw.


Electrical connection
Connection to the grid (AC output)
- Add breaker or fuse to AC side, the specification should be more than 1.25 times of rated AC output current.
- The PE line of inverter should be connected to the earth, make sure the impedance of neutral wire and earth wire less than 10 ohm.
- Disconnect the breaker or fuse between the inverter and the utility.
- All inverters incorporate a certified internal Residual Current Device( RCD) in order to protect against possible electrocution and fire hazard in case of a malfunction in the PV array, cables or inverter. There are 2 trip thresholds for the RCD as required for certification (IEC 62109-2:2011). The default value for electrocution protection is 30mA, and for slow rising current is 300mA.
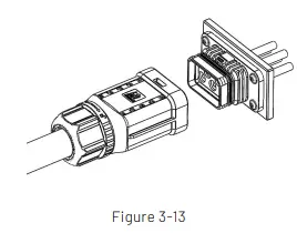
Connect the inverter to the grid
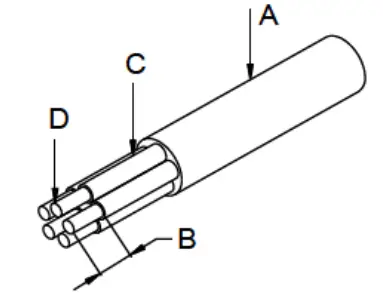
- Scrip off PE/N/L1/L2/L3 cables as figure below:

No. Description Remark A Protective layer diameter 15-25mm B Length of stripped off 16mm C Length of insulate layer 50mm D Cross section of ac cables 6-15mm² - Crimp pin contact by using a crimping pliers.
- Separate the AC connector.
- Pass the crimped AC wire into the AC connecto

- ) The cables are inserted into the terminal according to the wire sequence (L1/L2/L3/N/PE), so that the insulating terminal is flush with the surface of the terminal, and the crimping screw torque is 2.0±0.1N•m.
- Insert the main part of AC connector into the terminal and hear a “click” sound.

- Use a wrench to tighten the nut, and there is a “click” sound.
- Insert the female end of the wire into the male end of the inverter and hear a “click”.

- Complete the installation.

Disassembly the inverter from the Grid
- Use a screwdriver to press against the unlocked position and hold the wire nut and pull it back to complete the separation of the male and female ends.

- The female end connector is separated from the inverter end connector.

- Hold the unlocking buckle with one hand and rotate it in the direction of the mark, and turn the nut in the opposite direction.
- Use a screwdriver to peel off the positions (both sides) indicated by the red circle to complete the disassembly.

Connection to PV string (DC input)
- Before connecting PV string, make sure DC switch is turned off.
- Make sure PV string polarity confirms with DC connector, otherwise, it will cause damage to inverter.
- Make sure the maximum open circuit voltage (Voc) of each PV string does not exceed the inverter input voltage Vmax under any condition.
- Do not connect positive or negative pole of PV string to earth wire. Otherwise, it will cause damage to inverter.

Communication
Overview of communication ports:
WIFI/GPRS Communication (optional)
Connect the WIFI/GPRS module produced by Renac to the COM1 port of inverter. After successful connection, information such as power generation and running state of the inverter can be viewed via the App on the phone. The details please refer to the module user manual.The block diagram of the WIFI/GPRS communication system is as follows
Smart Energy Meter Connection (Optional)
The inverter is equipped with the feed-in power limit function, and the communication port for smart energy meter is COM2, below is the method of connecting the smart meter in system
DRM connection
The inverter supports the demand response modes as specified in the standard AS/NZS4777. The inverter has integrated a terminal for connecting to a DRED. The details please refer to figure 3-17, and for CEI standard, DRM S0 is the DI port .
Relay connection
The relay can be set to fault alarm output, and user can configure it to be a normal open contact (COM&NO) or a normal close contact (COM&NC).The relay is initially at the NC terminal, and it will trip to another contact when a fault occurs. Use LED indicators or other equipment to indicate whether the inverter is in the faulty state. The following figures show the typical applications of normal open contact and normal close contact:
Storting the Inverter Before turn on the inverter, please confirm:
- Three phase five wires (PE/L1/L2/L3/N) cable correctly connected to the inverter AC side through AC circuit breaker;
- The DC cable connected correctly to the inverter DC side through DC circuit breaker, please be attention to the cable connected to the two string correctly and it’s polarity;
- The unused terminals are covered.
Starting the inverter:
- Close the DC and AC circuit breaker;
- If the solar panels provide enough energy, the power module will work and the LCD panel will be lit:
- In case you are starting the inverter for the first time, the inverter needs to be commissioned. Commissioning is described on page 17,chapter 4.3.
- Then the inverter will turn into self-check mode and the LCD panel will display the remaining time of connect simultaneously:
- After the inverter turn into normal mode, it feed electrical energy into grid, and LCD panel will display the generated electrical energy. As long as the inverter works, it will automatically track the maximum power point to absorb the maximum energy from solar. When night comes, the irradiance is not strong enough to provide energy, the inverter will power off automatically. When the next day comes, the input voltage reaches the start value, it will start again automatically.
AS long as the inverter workS, It will automatically track the maximum power point to absorb tne maximum energy Trom solar. When night comes, the irradiance is not strong enough to provide energy, the inverter will power off automatically. When the next day comes, the input voltage reaches the start value, it will start again automatically.
User Interface
Led and key

LCD display

Foctory setting
- Press push button long in order to enter the “Factory setting” menu.
- Press push button long to enter the “language setting” menu.
- Press push button less than 1 sec. to the langue menu you want and Press push button long to select.
- Press push button less than 1 sec. to the country menu you want and Press push button long to select.
Setting Ionguage
- Press pushbutton less than 1 sec. several times until you reach the “Setting” menu.
- Press pushbutton long in order to enter the “‘setting” menu.
- Press pushbutton less than 1 sec. several times until you reach the “language setting” menu.
- Press pushbutton less than 1 sec. to the langue menu you want and Press pushbutton long to select.
Setting modbus address
- Press pushbutton less than 1 sec. several times until you reach the “Setting” menu.
- Press pushbutton long in order to enter the “setting’ menu.
- Press pushbutton less than 1 sec. several times until you reach the “module add” menu.
- Press pushbutton less than 1 sec. to the modbus address number you want and Press pushbutton long to set.
Self-Test in accordance with CEI 0-21 (Applies to Italy only)
The self-test is only required for inverters, which are commissioned in Italy. The Italian standard requires that all inverters feeding into the utility grid are equipped with a self-test function in accordance with CEl 0-21. During the self-test, the inverter will consecutively check the protection reaction times and values for overvoltage, under voltage, over frequency and underfrequency.
Self-test function is available at any time. It also allows end user get test reports shown on LCD display.
There are two ways to execute the self-test:
Auto-Test from screen:
- Press pushbutton less than 1 sec. several times until you reach the “Setting’ menu.
- Press pushbutton long in order to enter the “setting’ menu.
- Press pushbutton less than 1 sec. several times until you reach the “AutoTest-Italy’ menu (You need to set the inverter country to CEI 0-21 before testing)

- Press pushbutton long to execute the auto-test.
- The inverter will automatically run the test until the screen shows “Test end”, if the test passes, it will show “test ok’, if the test is failed, it will show “test failed”.

Auto-Test from Solar Admin:
- Download and install “Solar Admin” on laptop.
- Connect inverter to laptop via RS485 port.
- When the inverter and “solar admin” are successfully connected. Click “Sys.setting”-“Other-“AUTOTEST” enter into “Auto-Test” interface.
- Click “Execute” to start the test.
- The inverter will automatically run the test until the screen shows “Test end”.
- Click “Read” to read the test value, and click “Export” to export the test report.
- After click “Read” button, interface will show the test results, if the test passes, it will show “PASS”, if the test is failed, it will show “FAIL”.

Warranty
The standard warranty period for the inverter is 60 months from the date of installation and no more than 66 months (5.5 years) from the date of shipment from factory.
Warranty claim procedure
Please report defective device with a brief error description and SN code to our service mail or service hotline for registration. Alternatively, please contact your specific dealer or installer if your unit is defective or faulty.
To claim the warranty under the warranty terms of factory, you need to supply us with the following information and documentation regarding the faulty unit:
- Product Model No( e.g. R3-25K-G5) and the serial Number (e.g. 8802531210102005).
- Copy of the invoice and warranty certificate for the inverter
- Error message on LCD screen and additional information regarding the fault/error.
- Detailed information about the entire system (modules, circuits, etc.).
- Documentation of previous claim/exchanges( if applicable).
In the case of an exchange, the remainder of the warranty entitlement will be transferred to the replacement device. In this event, you will not receive a new certificate, as this replacement will be noted by factory.
Service after warranty expiration
For products which are out of warranty, factory charges an on-site service fee, parts, labor cost and logistic fee to end-user which can be any/all of:
- On-site attendance fee: Cost of travel and time for the technician in attending on-site:
- Parts: Cost of replacement parts (including any shipping/admin fee that may apply)
- Labor: Labor time fee charged for the technician, who is repairing, maintaining, and installing (hardware or software) and= debugging the faulty product:
- Logistic fee: Cost of delivery, tariff and other derived expense when defective products are sent from user to factory or/and repaired products are sent from factory to user.
Troubleshooting and Maintenance
Troubleshooting
Once a fault occurs in the inverter, the fault information can be displayed on screen or the App interface. Fault codes and check methods are as follows:

Maintenance
- Risk of inverter damage or personal injury due to incorrect service!
- Always keep in mind that the inverter is powered by dual sources: PV strings and utility grid.
- Before any service work, observe the following procedure.
- Disconnect the AC circuit breaker and then set the DC load-break switch of the inverter to OFF.
- Wait at least 5 minutes for inner capacitors to discharge completely.
- Verify that there is no voltage or current before pulling any connector.
NOTICE
Restart the inverter only after removing the fault that impairs safety performance. As the inverter contains no component parts that can be maintained, never arbitrarily replace any internal components. For any maintenance need, please contac Renac Power. Otherwise, Renac Power shall not be held liable for any damage caused.
Routine Maintenonce
Maintenance Instruction
Cleaning Air Inlet and Outlet
- A huge amount of heat is generated in the process of running the inverter. The inverter adopts a controlled forced-air cooling method. In order to maintain good ventilation, please check to make sure the air inlet and outlet are not blocked.
- Clean the air inlet and outlet with soft brush or vacuum cleaner if necessary.
Fan Maintenance
- Stop the inverter and disconnect it from all power supplies before maintenance.
- Lethal voltage still exists in the inverter. Please wait for at least 5 minutes and then perform maintenance work.
- Only qualified electricians can maintain the fans.
Fans inside the inverter are used to cool the inverter during operation. If the fans do not operate normally, the inverter may not be cooled down and inverter efficiency may decrease. Therefore, it is necessary to clean the dirty fans and replace the broken fans in time.
The operation procedure is as follows:
- Step 1 Stop the inverter (turns off DC and AC both for inverter, wait for at least 5 minutes).
- Step Loosen the 4 screws on the side of the fan metal plate
- Step Pull out the fan metal plate, loosen the 4 screws for each fan module.
- Step Disconnect the fan cables and take out the fans, clean the them with soft brush or vacuum cleaner, and replace them when necessary.
- Step 5 Reinstall the fan back to the inverter in reverse order and restart the inverter.

Add: Block 6, No.2, West Jinzhi Road, Suzhou National Hi-Tech District, Suzhou, China
Tel: +86-0512-66677278
[email protected]
www.renacpower.com



























