

R3 Note
Series
R3-4K-DT R3-5K-DT R3-6K-DT
R3-8K-DT R3-10K-DT R3-12K-DT R3-15K-DT
User Manual
Introduction
1.1 Introduction
This manual describes solar inverters :
R3-4K-DT/R3-5K-DT /R3-6K-DT/R3-8K-DT/R3-10K-DT/R3-12K-DT/R3-15K-DT.
These inverters are transformerless based inverter.
Please read the safety instructions in this manual first. Throughout the manual it is assumed that the reader is familiar with AC and DC installations and knows the rules and regulations for electrical equipment and for connecting it to the utility AC grid. It is especially important to be familiar with the general safety rules for working with electrical equipment.
1.2 Applied designations
Throughout the manual important information is shown at different levels depending on the character of the information, as shown here:
| Safety information important for human safety. Violation of warnings may result in injury to persons or death. | |
| Danger of high voltage and electric shock! | |
| Signals danger due to electrical shock and indicates the time (5 minutes) to allow after the inverter has been turned off and disconnected to ensure safety in any installation operation. | |
![]() | Danger of hot surface! |
| Product should not be disposed as normal household waste. | |
| CE Mark | |
| RoHS | ROHS Mark |
| Information important for the protection of property. Violation of this type of information may cause damage and loss of property. | |
| Useful additional information or “Tips and Tricks” on specific subjects. |
1.3 Important safety information
Read this before installing, operating or maintaining the inverter.
Before installation:
Check for damage to inverter and packaging. If you are in doubt, please contact your supplier before installing the inverter. Check the voltages of the solar modules and make sure they are within the limits of the inverter specifications before connecting them to the inverter.
Installation:
Only trained and authorized personnel familiar with local electrical codes may install the inverter.
For optimum safety, please follow the steps described in this manual. Keep in mind that the inverter has two voltage carrying sides, the PV input and the AC grid.
Disconnecting the inverter:
Always disconnect the AC line first! Afterwards disconnect the PV lines. Note that the inverter can still be charged with very high voltages at hazardous levels even when it is disconnected from grid and solar modules. Wait at least 5 min. before proceeding, after having disconnected from grid and PV panels.
Operating the inverter:
Before connecting the AC grid to the inverter, make sure that the installation cover is mounted again. The inverter must not be open during operation.
Maintenance and modification:
Only authorized personnel are allowed to repair or modify the inverter. To ensure optimum safety for user and environment, only the original spare parts available from your supplier should be used.
Functional safety parameters:
Unauthorized changes of functional safety parameters may cause injury or accidents to people or inverter. Additionally it will lead to the cancelling of all inverter operating approval certificates.
1.4 System sizing
When dimensioning a photovoltaic system, it must be ensured that the open circuit voltage of the PV string never exceeds the maximum permissible input voltage of 600V DC. The PV string open circuit voltage during parallel string operation is 550V. Higher voltages may result in permanent damage to the inverter.
The selection of PV string output should be based on the optimum utilization of the invested capital compared to the expected annual energy yield from the system. This optimization depends on local weather conditions and should be considered in each individual case.
The inverter incorporates an input power limiting device, which automatically keeps the power at levels that are safe for the inverter. The limitation depends mainly on internal and ambient temperatures. The limitation is calculated continuously and always allows the maximum possible amount of energy to be produced.
Please use the tool supplied by Renac Power when dimensioning a photovoltaic system.
Technical description of inverters
2.1 Mechanical design
Figure 2-1 shows the outline dimensions of R3-4K-DT/R3-5K-DT/R3-6K-DT/R3-8K-DT/R3-10K-DT/R3-12K-DT/R3-15K-DT:

Figure 2-1 shows the electrical terminals of R3-4K-DT/R3-5K-DT/R3-6K-DT/R3-8K-DT/R3-10K-DT/R3-12K-DT/R3-15K-DT:
Figure 2-1 Electrical Terminals
| 1 | DC Switch |
| 2 | DC (PV terminals) |
| 3 | I/O port |
| 4 | Communication port |
| 5 | AC terminal |
| 6 | LCD |
| 7 | LED (Run/Fault) |
| 8 | Key |
For safety reasons, the use of a DC switch is recommended. Between the PV modules and the power modules may be mandatory in some countrie.
2.2 Electrical system design

Please refer to chapter 3 for the detail connecting and install methods.
2.3 Technical dataModel R3-4K-DT R3-5K-DT R3-6K-DT R3-8K-DT R3-10K-DT R3-12K-DT R3-15K-DT DC Input Data Max. Recommended PV Power 6000W 7500W 9000W 12000W 15000W 18000W 22500W Max.DC Input Voltage 1000V MPPT voltage Range 140~950V Start-up Voltage 160V 160V 160V 160V 160V 160V 160V No. of MPP Trackers 2 No. of Input Strings per Tracker 1-Jan 1-Jan 1-Jan 1-Jan 1-Jan 1-Jan 1-Jan Max. DC Input Current 16A/16A 16A/16A 16A/16A 16A/16A 16A/16A 16A/16A 20A/16A DC Switch Integrated AC Output Data Rated AC Power 4000W 5000W 6000W 8000W 10000W 12000W 15000W Max.output power 4400VA 5500VA 6600VA 8800VA 11000VA 13200VA 16500VA Max. AC Current 6.4A 8A 9.6A 12.8A 16.0A 19.2A 24.0A Rated AC Voltage/Range 3/PE 380, 400;+/-20%; 3/N/PE 380, 400;+/-20%; Grid frequency/ range 50Hz/60Hz ; ±5Hz Adjustable Power Factor[cos φ] 0.8leading ~0.8lagging Output THDi(@Rated Output) <3% Efficiency Max.Efficiency 98.40% 98.40% 98.40% 98.50% 98.50% 98.50% 98.50% Euro Efficiency 97.80% 97.80% 97.80% 98.00% 98.00% 98.00% 98.00% MPPT Efficiency 99.90% 99.90% 99.90% 99.90% 99.90% 99.90% 99.90% Protection DC Insulation Monitoring Integrated Input Reverse Polarity Protection Integrated Anti-island Protection Integrated Residual Current Monitoring Integrated Over-heat Protection Integrated AC Overcurrent Protection Integrated AC Short-circuit Protection Integrated AC Overvoltage Protection Integrated DC Surge Protection Integrated (Type III) AC Surge Protection Integrated (Type III) General Data Size(Width*Height*Depth) 395 x 330 x 185mm 455x390x160mm 455x390x190mm Weight 16.3KG 16.3KG 16.3KG 18.3KG 18.3KG 18.3KG 21.6KG User Interface LCD Communication RS485 (Standard), Wifi or GPRS Ambient Temperature Range -25 ℃ ~ 60 ℃ Relative Humidity 0-100% Operating Altitude ≤ 4000m Standby Self Consumption < 0.2W Topology Transformerless Cooling Natural Convection Protection Grades IP65 Noise < 30dB Warranty 5 / 7 / 10 years Certifications & Standards Grid Regulation C10/11, PEA, MEA, G98, G99, EN50549,CEI 0-21, CEI 0-16, IEC61727, IEC62116, IEC60068, IEC61683 Safety Regulation IEC 62109-1, IEC 62109-2 EMC EN 61000-3-2, EN 61000-3-3, EN 61000-3-11, EN 61000-3-12, EN 61000-6-2,
EN 61000-6-3, IEC 61000-4-16, IEC 61000-4-18, 4-29
2.4 Grid codes
| No. | National/Regional Grid Code | Description |
| 9 | C10/11 | Belgium power Grid. |
| 10 | G59 | UK power Grid. |
| 11 | China | China power Grid, meet Grid standards “CN-NBT”. |
| 12 | VDE0126-FR | France power Grid, meet Grid standards “VDE 0126”. |
| 13 | EN50549-PL | Poland power Grid. |
| 14 | BDEW-DE | Germany power Grid, meet Grid standards “BDEW-MV”. |
| 15 | VDE0126-DE | Germany power Grid, meet Grid standards “VDE 0126”. |
| 16 | CEI0-16 | Italy power Grid, meet Grid standards “CEI 0-16”. |
| 17 | G83 | UK power Grid. |
| 18 | Greece Island | Greece Island power Grid. |
| 19 | EN50549-CZ | Czech Republic power Grid, meet Grid standards “EN50438Y2007-CZ”. |
| 20 | IEC61727 | India power Grid. |
| 21 | Korea | Korea power Grid. |
| 22 | EN50549-SW | Sweden power Grid. |
| 23 | China-W | China power Grid, Grid voltage range:160-290V Grid frequency range:47-53HZ. |
| 24 | China-H | China power Grid, meet standards“CQC ”. |
| 25 | IEC61727-IN | India power Grid, meet Grid standards “IEC61727”. |
| 26 | Brazil | Brazil power Grid , meet Grid standards “NBT 16150”. |
| 27 | IEC61727-SL | Sri Lanka power Grid, meet Grid standards “IEC61727”. |
| 28 | Mexico | Mexico power Grid, meet Grid standards “IEC61727 60HZ”. |
| 29 | NZ4777 | New Zealand power Grid, meet Grid standards “NZ4777”. |
| 30 | Philippines | Philippines power Grid, meet Grid standards “IEC61727 60HZ spec”. |
| 31 | IEC61727-SL-W | Sri Lanka power Grid, Grid voltage range:160-290V, Grid frequency range:47-53HZ. |
| 32 | PEA | Thailand power Grid. |
| 33 | PEA-W | Thailand power Grid, Grid voltage range:160-290V, Grid frequency range:47-53HZ. |
| 34 | IEC61627-VN | Vietnam power Grid. |
| 35 | IEC61627-VN-W | Vietnam power Grid, Grid voltage range:160-290V, Grid frequency range:47-53HZ. |
| 36 | MEA | Thailand power Grid. |
| 37 | MEA-W | Thailand power Grid, Grid voltage range:160-290V, Grid frequency range:47-53HZ. |
| 38 | Tunisia | Tunisia power Grid. |
| 39 | Tunisia-W | Tunisia power Grid, Grid voltage range:160-290V, Grid frequency range:47-53HZ. |
Installation and startup
|
| Warning! Before installation and maintenance, AC and DC side doesn’t carry electricity, but if DC side is just disconnected, capacitance still contains electricity, so please wait for at least 5 minutes to ensure the capacitors completely release the energy and inverter is not electrified. |
| Note! Inverters must be installed by qualified person. |
3.1 Package information

①.There are 2 PV connectors for R3-4/5/6/8/10/12K-DT and 3 PV connectors for R3-15K-DT
②.There are 2 PV connectors for R3-4/5/6/8/10/12K-DT and 3 PV connectors for R3-15K-DT
Figure 3-1 package information
3.2 Installation environment
- In order to achieve optimal performance, the ambient temperature should be kept lower than 45 °C.
- For the convenience of checking the LCD display and possible maintenance activities, please install the inverter at eye level.
- Inverters should NOT be installed near inflammable or explosive items. Any strong electro-magnetic equipment should be kept away from installation site.
- Product label and warning symbol shall be clear to read after installation.
- Please do not install inverter under direct sunlight, rain and snow.

3.3 Installation position![]()
1) The installation method and mounting location must be suitable for the inverter’s weight and dimensions. 2) Mount on a solid surface. 3) Select a well-ventilated place sheltered from direct sun radiation.


In consideration of heat dissipation and convenient dismantlement, the minimum clearances around the inverter should be no less than the following value.
3.4 Mounting procedure
Setp1: Drill 4 Fix Ø11 holes in the wall according to the dimensions.
Step2: Fix the wall mounting bracket on the wall with 4 expansion bolts in accessory bag.
Setp4: Place the inverter on the wall-mounted bracket and install the fix screw.

Figure 3-4 mounting the inverter
3.5 Electrical connection
3.5.1 Connection to the grid (AC output)
![]() | 1) Add breaker or fuse to AC side, the specification should be more than 1.25 times of rated AC output current. 2) The PE line of inverter should be connected to the earth, make sure the impedance of neutral wire and earth wire less than 10 ohm. 3) Disconnect the breaker or fuse between the inverter and the utility. 4) All inverters incorporate a certified internal Residual Current Device (RCD) in order to protect against possible electrocution and fire hazard in case of a malfunction in the PV array, cables or inverter. There are 2 trip thresholds for the RCD as required for certification (IEC 62109-2:2011). The default value for electrocution protection is 30mA, and for slow rising current is 300mA. |
Connect the inverter to the grid as follows:
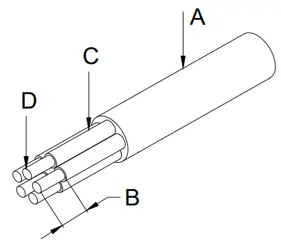
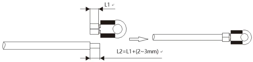
- Strip off N/L1/L2/L3 cables as figure 3-5:

No. Description Remark A Protective layer Diameter ranges :15-25mm B Length of stripped off 12mm C Insulate layer 50mm D Cross section of ac cables 6-10mm² Figure 3-5 Strip off N/L1/L2/L3 cables
- Strip off PE cable as figure 3-6:

- Pass the crimped AC wire into the AC connector.

- The cables are inserted into the terminal according to the wire sequence (L1/L2/L3/N/PE), so that the insulating terminal is flush with the surface of the terminal, and the crimping screw torque is 2.0±0.1N•m.

- Insert the main part of AC connector into the terminal and hear a “click” sound.

- Use a wrench to tighten the nut, and there is a “click” sound.

- Insert the female end of the wire into the male end of the inverter and hear a “click”.

- Complete the installation.

Disassembly the inverter from the Grid:
- Use a screwdriver to press against the unlocked position and hold the wire nut and pull it back to complete the separation of the male and female ends.

- The female end connector is separated from the inverter end connector.

- Hold the unlocking buckle with one hand and rotate it in the direction of the mark, and turn the nut in the opposite direction.

- Screw waterproof coupling and Screw cap nut tightly onto the cable.
- Use a screwdriver to peel off the positions (both sides) indicated by the red circle to complete the disassembly.

3.5.2 Connection to PV string (DC input)
1) Before connecting PV string, make sure DC switch is turned off.
2) Make sure PV string polarity confirms with DC connector, otherwise, it will cause damage to inverter.
3) Make sure the maximum open circuit voltage (Voc) of each PV string does not exceed the inverter input voltage Vmax under any condition.
4) Do not connect positive or negative pole of PV string to earth wire. Otherwise, it will cause damage to inverter.

![]() | 1) Please make sure the RS485 connecting cables not exceed 1000m. 2) Communication lines must be separated from other power lines to avoid communications interference. |

- For CEI standard, DRM S0 is the DI port, corresponding to PIN5 (GND), PIN6 (DI input port) of RJ45.
- COM port, PIN3:A, PIN4:B.
Figure 3-9 Communication Port

Please refer to the module user manual in detail.
3.6 Starting the inverter
Before turn on the inverter, please confirm:
Three phase five wires (PE/L1/L2/L3/N) cable correctly connected to the inverter AC side through AC circuit breaker;
- The DC cable connected correctly to the inverter DC side through DC circuit breaker, please be attention to the cable connected to the two string correctly and it’s polarity;
- The unused terminals are covered.
Starting the inverter:
- Close the DC and AC circuit breaker;
- If the solar panels provide enough energy, the power module will work and the LCD panel will be lit;
- In case you are starting the inverter for the first time, the inverter needs to be commissioned. Commissioning is described on page 17,chapter 4.3.
- Then the inverter will turn into self-check mode and the LCD panel will display the remaining time of connect simultaneously;
- After the inverter turn into normal mode, it feed electrical energy into grid, and LCD panel will display the generated electrical energy.
As long as the inverter works, it will automatically track the maximum power point to absorb the maximum energy from solar. When night comes, the irradiance is not strong enough to provide energy, the inverter will power off automatically.
When the next day comes, the input voltage reaches the start value, it will start again automatically.
User interface
4.1 Led and key

| No. | Object | Description |
|
1 | Run (Green LED) | On = Normal operation |
| Flashing = Waiting, checking or starting up | ||
| 1 | Fault (Red LED) | On = Failure |
| Flashing = Temporary failure | ||
| 2 | Pushbutton | Pressing < 1 s: Next |
| Pressing > 2 s: Enter |
4.2 LCD display
Menu structure:

→ Press the button less than 1 second
→ long Press the button
→ Return
4.3 Factory setting
- Press pushbutton long in order to enter the “Factory setting” menu.
- Press pushbutton long to enter the “language setting” menu.
- Press pushbutton less than 1 sec. to the langue menu you want and Press pushbutton long to select.
- Press pushbutton less than 1 sec. to the country menu you want and Press pushbutton long to select.
4.4 Setting language
- Press pushbutton less than 1 sec. several times until you reach the “Setting” menu.
- Press pushbutton long in order to enter the “setting” menu.
- Press pushbutton less than 1 sec. several times until you reach the “language setting” menu.
- Press pushbutton less than 1 sec. to the langue menu you want and Press pushbutton long to select.
4.5 Setting modbus address
- Press pushbutton less than 1 sec. several times until you reach the “Setting” menu.
- Press pushbutton long in order to enter the “setting” menu.
- Press pushbutton less than 1 sec. several times until you reach the “module add” menu.
- Press pushbutton less than 1 sec. to the modbus address number you want and Press pushbutton long to set.
4.6 Self-Test in accordance with CEI 0-21 (Applies to Italy only)
The self-test is only required for inverters, which are commissioned in Italy. The Italian standard requires that all inverters feeding into the utility grid are equipped with a self- test function in accordance with CEI 0-21. During the self-test, the inverter will consecutively check the protection reaction times and values for overvoltage, under voltage, over frequency and under frequency.
Self-test function is available at any time. It also allows end user get test reports shown on LCD display.
There are two ways to execute the self-test:
Auto-Test from screen:
- Press pushbutton less than 1 sec. several times until you reach the “Setting” menu.
- Press pushbutton long in order to enter the “setting” menu.
- Press pushbutton less than 1 sec. several times until you reach the “AutoTest-Italy” menu (You need to set the inverter country to CEI 0-21 before testing).

- Press pushbutton long to execute the auto-test.
- The inverter will automatically run the test until the screen shows “Test end”, if the test passes, it will show “test ok”, if the test is failed, it will show “test failed”.

Auto-Test from Solar Admin:
- Download and install “Solar Admin” on laptop.
- Connect inverter to laptop via RS485 port.
- When the inverter and “solar admin” are successfully connected. Click “Sys.setting” – “Other” – “AUTOTEST” enter into “Auto-Test” interface.
- Click “Execute” to start the test.
- The inverter will automatically run the test until the screen shows “Test end”.
- Click “Read” to read the test value, and click “Export” to export the test report.
- After click “Read” button, interface will show the test results, if the test passes, it will show “PASS”, if the test is failed, it will show “FAIL”.

Warranty
The standard warranty period for the inverter is 60 months from the date of installation and no more than 66 months (5.5 years) from the date of shipment from factory.
5.1 Warranty claim procedure
Please report defective device with a brief error description and SN code to our service mail or service hotline for registration.
Alternatively, please contact your specific dealer or installer if your unit is defective or faulty.
To claim the warranty under the warranty terms of factory, you need to supply us with the following information and documentation regarding the faulty unit:
- Product Model No (e.g. R1-8K-DS) and the serial Number (e.g. 8700831201211006).
- Copy of the invoice and warranty certificate for the inverter.
- Error message on LCD screen and additional information regarding the fault/error.
- Detailed information about the entire system (modules, circuits, etc.).
- Documentation of previous claim/exchanges ( if applicable).
In the case of an exchange, the remainder of the warranty entitlement will be transferred to the replacement device. In this event, you will not receive a new certificate, as this replacement will be noted by factory.
5.2 Service after warranty expiration
For products which are out of warranty, factory charges an on-site service fee, parts, labor cost and logistic fee to end-user which can be any/all of:
- On-site attendance fee: Cost of travel and time for the technician in attending on-site;
- Parts: Cost of replacement parts (including any shipping/admin fee that may apply);
- Labor: Labor time fee charged for the technician, who is repairing, maintaining, and installing (hardware or software) and debugging the faulty product;
- Logistic fee: Cost of delivery, tariff and other derived expense when defective products are sent from user to factory or /and repaired products are sent from factory to user;
Appendix A: FAQ (Frequently asked questions)
Sometimes, the PV system does not work normally; we recommend the following solutions for average troubleshooting.
This can help the technician to understand the problem and take a proper action.
L- Isolation Fault Isolation Fault 2
| Fault | LCD display | Possible actions |
| 1. Check whether the inverter is earthed and test impedance between PV (+) & (-) and the impedance must exceed 3MΩ; 2. Check whether the AC-side has contacts with earth. | ||
| Grid Faults: Fault OVR Fault UVR Fault OFR Fault UFR | 1. Wait for 5 minutes, if the grid returns to normal, PV inverter automatically restarts. 2. Make sure grid voltage and frequency meet the local specifications. | |
| No Utility | 1. Grid is not connected. 2. Check grid connection cables. 3. Check grid usability. 4. If grid is ok and the problem exists still, maybe the fuse in the inverter is open, please call service. | |
| OverTemp | 1. The internal temperature of inverter is higher than specified normal value. 2. Find a way to reduce the ambient temperature.Or move the inverter to a cooler environment. | |
| PVOVFault PV2OVFault | 1.Check the open PV DC voltage, and see if it is greater than or too close to 950VDC 2. If PV DC voltage is less than 950VDC, and the problem still occurs, please call local service. |
| Fault | LCD display | Remark |
| Permanent Fault | Consistent Faults: Consist VGrid Consist Freq Consist GFCI Consist DCI | 1. Disconnect all PV (+) or PV (-) from solar panels 2. Wait for a few seconds. 3. After the LCD switches off, reconnect and check again. 4. If the problem remains, please call local service. |
| RelayFail | ||
| BusUnbalance | ||
| IacUnbalance | ||
| EEPROM_W Fail | ||
| EEPROM_R Fail | ||
| IpvUnbalance | ||
| GFCIFault | ||
| AuxPowerFault | ||
| DCI out range | ||
| OCPV | ||
| OCPV2 | ||
| OCIGrid | ||
| SciCommLose | ||
| SpiCommLose | ||
| BusFault | ||
| CPU ADFault | ||
| IGridDevice | ||
| PLLFault | ||
| AutoTestFail | ||
| PVConfigFault | ||
| FanError |
SMART ENERGY FOR BETTER LIFE
RENAC POWE RT ECHNOL OGY CO ., LT D .
Add: Block 6, No.2, West Jinzhi Road, Suzhou National Hi-Tech District, Suzhou, China
Tel:+86-0512-66677278
[email protected]
www.renacpower.com

































