
INKNXDAL0640200
DALI to KNX gateway
Order Code: INKNXDAL0640200
Installation Sheet rev.1.1
HMS Industrial Networks S.L.U ©
Owner’s Record
The serial number is located at the rear of the gateway. Record this information in the space provided below. Refer to it whenever you contact upon your gateway dealer or support team regarding this product.
Serial No. ____________________________________________________
SAFETY INSTRUCTIONS
WARNING
Follow carefully these safety and installation instructions. Improper work may lead to serious harmful for your health and may damage seriously the Intesis gateway and/or any other equipment connected to it too.
The Intesis gateway must be installed by accredited electrician or similar technical personnel, following all the safety instructions given here and in accordance always with the country legislation for installation of electric equipment.
The Intesis gateway cannot be installed outdoors or exposed to direct solar radiation, water, high relative humidity or dust.
The Intesis gateway must only be installed in a restricted access location.
In case of wall mount, fix firmly the Intesis device on a not vibrating surface following the instructions next.
In case of DIN rail mount fix Intesis properly to the DIN rail following the instructions below.
Mounting on DIN rail inside a metallic cabinet properly connected to earth is recommended.
Disconnect always power of any wires before manipulating and connecting them to the Intesis device.
A power supply with an NEC Class 2 or Limited Power Source (LPS) and SELV rated is to be used.
Respect always the expected polarity of power and communication cables when connecting them to the Intesis gateway.
Supply always a correct voltage to power the Intesis device, see details of voltage range admitted by the device in the technical characteristics below.
CAUTION: Risk of Explosion if Battery is replaced by an Incorrect Type. Dispose of Used Batteries according to the instructions. Battery replacement shall be done by an authorized installer.
CAUTION: The device is to be connected only to networks without routing to the outside plant, all communication ports are considered for indoor only and can be connected SELV circuits only.
This device was designed for installation in an enclosure. To avoid electrostatic discharge to the unit in environments with static levels above 4 kV, precautions should be taken when the device is mounted outside an enclosure. When working in an enclosure (ex. making adjustments, setting switches etc.) typical anti-static precautions should be observed before touching the unit.
Safety instructions in other languages can be found at: https://intesis.com/docs/manuals/v6-safety
CONFIGURATION
Use the Configuration Tool to configure the gateway.
See instructions to download and install the latest version at: https://intesis.com/docs/software/intesis-maps-installer
Use the Ethernet connection or the Console Port (mini USB type B connector included) for communication between the gateway and the configuration tool. See CONNECTIONS below and follow instructions of user’s manual for more details.
INSTALLATION
Follow instructions next to properly install the gateway.
Disconnect from mains the power supply before connecting it to the Intesis device.
Disconnect power of any bus or communication cable before connecting it to the Intesis gateway.
Mount the Intesis device on the wall or DIN rail following the instruction given below, respecting the safety instructions given above. Connect a NEC Class 2 or Limited Power Source (LPS) and SELV rated power supply to the Intesis gateway, respect the polarity if DC power or Line and Neutral if AC power. Apply always a voltage within the range admitted by the Intesis gateway and of enough power (see technical characteristics).
Circuit-breaker must be used before the power supply. Rating 250V6A.
Connect the communication cables to the Intesis device, see details on the user’s manual.
Power the Intesis gateway and the rest of devices connected to it.
NOTE: The device cannot be installed in air-handling space.
Wall Mount
- Separate the fixing clips in the bottom of the box, pushing them to the outside until hear the “click” which indicates that now the clips are in position for wall mount, see in the figure below.
- Use the holes of the to fix the box in the wall using screws. Use the template below for the wall wholes.
Clips in their original position (for DIN rail mount) Clips in position for wall mount
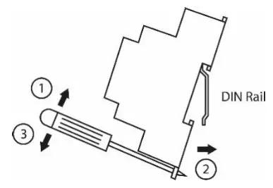
DIN Rail Mount
With the clips of the box in their original position, insert first the box in the upper edge of the DIN rail and later insert the box in the down part of the rail, using a small screwdriver and following the steps in the figure below.
CONNECTIONS

Power Supply
Must use NEC Class 2 or Limited Power Source (LPS) and SELV rated power supply.
Respect polarity applied of terminals (+) and (-). Be sure the voltage applied is within the range admitted (check table below). The power supply can be connected to earth but only through the negative terminal, never through the positive terminal.
Ethernet / BACnet IP (UDP) / Console (UDP & TCP)
Connect the cable coming from the IP network to the connector ETH of the gateway. Use an Ethernet CAT5 cable. If communicating through the LAN of the building, contact the network administrator and make sure traffic on the port used is allowed through all the LAN path (check the gateway user manual for more information). With factory settings, after powering up the gateway, DHCP will be enabled for 30 seconds. After that time, if no IP is provided by a DHCP server, the default IP 192.168.100.246 will be set.
PortA / KNX
Connect the KNX TP1 bus to connectors A3 (+) and A4 (-) of gateway’s PortA. Respect the polarity.
PortB / DALI
Connect the DALI bus to connectors B1(-), B2 (+) of gateway’s PortB. The Intesis device provides 16VDC (+/-2%) DALI voltage to the bus.
Console Port
Connect a mini-type B USB cable from your computer to the gateway to allow communication between the Configuration Software and the gateway. Remember that Ethernet connection is also allowed. Check the user manual for more information.
USB
Connect a USB storage device (not a HDD) if required. Check the user manual for more information.
ELECTRICAL & MECHANICAL FEATURES
| Enclosure | Plastic, type PC (UL 94 V-0) Net dimensions (dxwxh): 90x88x56 mm Recommended space for installation (dxwxh): 130x100x100mm Color: Light Grey. RAL 7035 |
| Mounting | Wall. DIN rail EN60715 TH35. |
| Terminal Wiring (for power supply and low-voltage signals) | Per terminal: solid wires or stranded wires (twisted or with ferrule) 1 core: 0.5mm2 … 2.5mm2 2 cores: 0.5mm2… 1.5mm2 3 cores: not permitted If cables are more than 3.05 meters long, Class 2 cable is required. |
| Power | 1 x Plug-in screw terminal block (3 poles) Positive, Negative, Earth 24VDC |
| Ethernet | 1 x Ethernet 10/100 Mbps RJ45 2 x Ethernet LED: port link and activity |
| Port A | 1 x KNX TP-1 Plug-in screw terminal block orange (2 poles) 2500VDC isolation from other ports KNX power consumption: 5mA Voltage rating: 29VDC 1 x Plug-in screw terminal block green (2 poles) Reserved for future use |
| Switch A (SWA) | 1 x DIP-Switch for PORT A configuration: Reserved for future use |
| PORT B | 1 x Serial EIA232 (SUB-D9 male connector) Reserved for future use 1 x Serial EIA485 Plug-in screw terminal block (3 poles) B1, B2 1500VDC isolation from other ports DALI guaranteed power: 235mA Voltage rating: 16VDC (except PORT B: EIA232) |
| Switch B (SWB) | 1 x DIP-Switch for serial EIA485 configuration: Reserved for future use |
| Battery | Size: Coin 20mm x 3.2mm Capacity: 3V / 225mAh Type: Manganese Dioxide Lithium |
| Console Port | Mini Type-B USB 2.0 compliant 1500VDC isolation |
| USB port | Type-A USB 2.0 compliant Only for USB flash storage device (USB pen drive) Power consumption limited to 150mA (HDD connection not allowed) |
| Push Button | Button A: Check the user manual Button B: Check the user manual |
| Operation Temperature | 0°C to +50°C |
| Operational Humidity | 5 to 95%, no condensation |
| Protection | IP20 (IEC60529) |
| LED Indicators | 10 x Onboard LED indicators 2 x Run (Power)/Error 2 x Ethernet Link/Speed 2 x Port A TX/RX 2 x Port B TX/RX 1 x Button A indicator 1 x Button B indicator |


This marking on the product, accessories, packaging or literature (manual) indicates that the product contains electronic parts and they must be properly disposed of by following the instructions at https://intesis.com/weee-regulation
Rev.1.0 © HMS Industrial Networks S.L.U – All rights reserved This information is subject to change without notice
Rev.1.0
© HMS Industrial Networks S.L.U – All rights reserved
This information is subject to change without notice



















