COOPER 9850-000521-01 DALI Control Panel

Introduction
The DALI control panel provides complete control of pre-programmed lighting scenes within a DALI lighting control system. The adaptable design allows you to choose from a range of button combinations, which can be fitted and changed at any time. Where fitted, raise and lower buttons complement the usual selection buttons to allow immediate changes to the intensity of any scene.
Dimensions

Fixing to a wall box
The DALI control panel fits into a single gang UK-style wall box with a minimum internal depth of 47mm. With the control panel disassembled (see above), use the two supplied long screws to secure the backplate to the wall box.
Care and Maintenance
The front cover plate should only be cleaned gently with a clean, damp cloth. Abrasive cleaners, polishes, solvent-based cleaning agents, or alkali-based cleaners should not be used.
Removing Face Plate from the DALI Control Panel
- On the underside of the faceplate, beneath the lower buttons, locate the small central recess. Carefully insert a small implement (such as a pen or screwdriver) into the recess and lever the front cover gently away from the back plate.

- Unclip the faceplate from the backplate.
- Store face plate safe from damage.
Changing buttons
The DALI control panel allows you to change the buttons in order to customize its appearance.
- Remove the faceplate as illustrated.
- Locate the four clips (two on each side) of the button frame. Carefully press in all four clips to disengage the button frame and pull the frame away from the main body.
- You can now remove the buttons from the frame and replace them (and the frame), as necessary.
- With the new buttons in place within the frame, align its clips with the four holes of the main body and press it into place so that all four clips click as they lock.
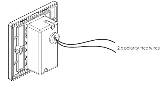
Control wiring
The DALI Control Panel is provided with 2 x polarity-free wires used to connect to the DALI line. Standard Recommended DALI cabling: 2-core cable of minimum gauge 1.5 mm2.
The total cable distance: 300m.
Typical DALI line schematic
Scene Selection
To select a scene press one of the buttons identified by either a number, indicated by a specific legend or that is blank. To turn lights off press the button marked Off or O on button only panels or the light bulb symbol on control panels fitted with the ‘On, Off, Raise and Lower’ button set. To raise the level of scene press (when fitted). To lower the level of scene press (when fitted).
Control panel fitted with ‘On, Off, Raise, Lower’ button set ‘Scene Only’ control panel example
- iLight Technical Support
- Tel: +44 (0)844 324 9100 (available Mon-Fri 9am-5pm GMT)
- Email: [email protected]
- Web: www.iLight.co.uk
All products manufactured by Cooper Lighting Solutions and identified with the iLight product series mark are warranted to be free from defects in material and workmanship and shall conform to and perform in accordance with Seller’s written specifications. For detailed warranty information, contact Cooper Lighting Solutions. This warranty will be limited to the repair or replacement, at Seller’s discretion, of any such goods found to be defective, upon their authorized return to Seller. This limited warranty does not apply if the goods have been damaged by accident, abuse, misuse, modification or misapplication, by damage during shipment or by improper service. There are no warranties, which extend beyond the hereinabove-limited warranty,
INCLUDING, BUT NOT LIMITED TO, THE IMPLIED WARRANTY OF MERCHANTABILITY AND THE IMPLIED WARRANTY OF FITNESS.
No employee, agent, dealer, or other person is authorized to give any warranties on behalf of the Seller or to assume for the Seller any other liability in connection with any of its goods except in writing and signed by the Seller. The Seller makes no representation that the goods comply with any present or future federal, state or local regulation or ordinance. Compliance is the Buyer’s responsibility. The use of the Seller’s goods should be in accordance with the provision of the National Electrical Code, UL and/or other industry or military standards that are pertinent to the particular end-use. Installation or use not in accordance with these codes and standards could be hazardous.




















