BOSCH POF1200AE Milling Machine

Product Information
POF 1200 AE | 1400 ACE
The POF 1200 AE and 1400 ACE are power tools manufactured by Robert Bosch GmbH Power Tools Division. These tools are designed for use in woodworking applications. They are available in multiple languages, including German, English, French, Spanish, Portuguese, Italian, and Dutch. The product comes with an original manual in the chosen language.
Safety Notes
It is essential to follow the safety instructions to avoid electric shock, fire, and serious injury while using the POF 1200 AE or 1400 ACE. Here are some general power tool safety
warnings:
Work Area Safety
- Keep the work area clean and well-lit to avoid accidents.
- Avoid operating power tools in explosive atmospheres, such as in the presence of flammable liquids, gases, or dust.
- Keep children and bystanders away from the working area to avoid distractions that may cause loss of control.
Electrical Safety
- Power tool plugs must match the outlet. Never modify the plug in any way.
- Avoid body contact with earthed or grounded surfaces such as pipes, radiators, ranges, and refrigerators.
- Avoid exposing power tools to rain or wet conditions.
- Never use the cord for carrying, pulling or unplugging the power tool. Keep cord away from heat, oil, sharp edges, and moving parts.
- When operating a power tool outdoors, use an extension cord suitable for outdoor use.
Product Usage Instructions
To use the POF 1200 AE or 1400 ACE, follow these instructions:
- Ensure the work area is clean and well-lit to avoid accidents.
- Select the appropriate router bit for the task at hand and insert it into the collet.
- Adjust the depth stop rod to the desired level.
- Plug the power tool into a power outlet that matches the plug and turn on the tool.
- Hold the router with both hands and guide it along the workpiece in the desired direction.
- After use, turn off the power tool, unplug it from the power outlet, and store it in a safe place.
Safety Notes
General Power Tool Safety Warnings
WARNING Read all safety warnings and all in-
structions. Failure to follow the warnings and instructions may result in electric shock, fire and/or serious injury.
Save all warnings and instructions for future reference.
The term “power tool” in the warnings refers to your mains-operated (corded) power tool or battery-operated (cordless) power tool.
Work area safety
- Keep work area clean and well lit. Cluttered or dark areas invite accidents.
- Do not operate power tools in explosive atmospheres, such as in the presence of flammable liquids, gases or dust. Power tools create sparks which may ignite the dust or fumes.
- Keep children and bystanders away while operating a power tool. Distractions can cause you to lose control.
Electrical safety
- Power tool plugs must match the outlet. Never modify the plug in any way. Do not use any adapter plugs with earthed (grounded) power tools. Unmodified plugs and matching outlets will reduce risk of electric shock.
- Avoid body contact with earthed or grounded surfaces, such as pipes, radiators, ranges and refrigerators. There is an increased risk of electric shock if your body is earthed or grounded.
- Do not expose power tools to rain or wet conditions. Water entering a power tool will increase the risk of electric shock.
- Do not abuse the cord. Never use the cord for carrying, pulling or unplugging the power tool. Keep cord away from heat, oil, sharp edges and moving parts. Damaged or entangled cords increase the risk of electric shock.
- When operating a power tool outdoors, use an extension cord suitable for outdoor use. Use of a cord suitable for outdoor use reduces the risk of electric shock.
- If operating a power tool in a damp location is unavoidable, use a residual current device (RCD) protected supply. Use of an RCD reduces the risk of electric shock.
Personal safety
- Stay alert, watch what you are doing and use commonsense when operating a power tool. Do not use a power tool while you are tired or under the influence of drugs, alcohol or medication. A moment of inattention while operating power tools may result in serious personal injury.
- Use personal protective equipment. Always wear eye protection. Protective equipment such as dust mask, non-skid safety shoes, hard hat, or hearing protection used for appropriate conditions will reduce personal injuries.
- Prevent unintentional starting. Ensure the switch is in the off-position before connecting to power source and/or battery pack, picking up or carrying the tool. Carrying pow-er tools with your finger on the switch or energising power tools that have the switch on invites accidents.
- Remove any adjusting key or wrench before turning the power tool on. A wrench or a key left attached to a rotating part of the power tool may result in personal injury.
- Do not overreach. Keep proper footing and balance at all times. This enables better control of the power tool in unexpected situations.
- Dress properly. Do not wear loose clothing or jewellery. Keep your hair, clothing and gloves away from moving parts. Loose clothes, jewellery or long hair can be caught in moving parts.
- If devices are provided for the connection of dust extraction and collection facilities, ensure these are con-nected and properly used. Use of dust collection can re-duce dust-related hazards.
Power tool use and care
- Do not force the power tool. Use the correct power tool for your application. The correct power tool will do the job better and safer at the rate for which it was designed.
- Do not use the power tool if the switch does not turn it on and off. Any power tool that cannot be controlled with the switch is dangerous and must be repaired.
- Disconnect the plug from the power source and/or the battery pack from the power tool before making any adjustments, changing accessories, or storing power tools. Such preventive safety measures reduce the risk of starting the power tool accidentally.
- Store idle power tools out of the reach of children and do not allow persons unfamiliar with the power tool or these instructions to operate the power tool. Power tools are dangerous in the hands of untrained users.
- Maintain power tools. Check for misalignment or binding of moving parts, breakage of parts and any other condition that may affect the power tool’s operation. If damaged, have the power tool repaired before use. Many accidents are caused by poorly maintained power tools.
- ?Keep cutting tools sharp and clean. Properly maintained cutting tools with sharp cutting edges are less likely to bind and are easier to control.
- ?Use the power tool, accessories and tool bits etc. in accordance with these instructions, taking into account the working conditions and the work to be performed. Use of the power tool for operations different from those intended could result in a hazardous situation.
Service
- Have your power tool serviced by a qualified repair person using only identical replacement parts. This will en-sure that the safety of the power tool is maintained.
Safety Warnings for Routers
- Hold power tool by insulated gripping surfaces, because the cutter may contact its own cord. Cutting a “live” wire may make exposed metal parts of the power tool “live” and shock the operator.
- Use clamps or another practical way to secure and sup- port the workpiece to a stable platform. Holding the work by your hand or against the body leaves it unstable and may lead to loss of control.
- The allowable speed of the router bit must be at least as high as the maximum speed listed on the power tool. Accessories that rotate faster than permitted can be de-stroyed.
- Router bits or other accessories must fit exactly in the tool holder (collet) of your machine. Routing bits that do not fit precisely in the tool holder of the machine rotate ir-regularly, vibrate heavily and can lead to loss of control.
- Apply the machine to the workpiece only when switched on. Otherwise there is danger of kickback when the cutting tool jams in the workpiece.
- Keep your hands away from the routing area and the router bit. Hold the auxiliary handle or the motor hous-ing with your second hand. When both hands hold the machine, they cannot be injured by the router bit.
- Never cut over metal objects, nails or screws. The rout- er bit can become damaged and lead to increased vibra-tions.
- Use appropriate detectors to determine if utility lines are hidden in the work area or call the local utility com-pany for assistance. Contact with electric lines can lead to fire and electric shock. Damaging a gas line can lead to explosion. Penetrating a water line causes property damage.
- Do not use blunt or damaged router bits. Blunt or damaged router bits cause increased friction, can become jammed and lead to imbalance.
- When working with the machine, always hold it firmly with both hands and provide for a secure stance. The power tool is guided more secure with both hands.
- Always wait until the machine has come to a complete stop before placing it down. The tool insert can jam and lead to loss of control over the power tool.
Products sold in GB only: Your product is fitted with an BS 1363/A approved electric plug with internal fuse (ASTA approved to BS 1362).
If the plug is not suitable for your socket outlets, it should be cut off and an appropriate plug fitted in its place by an author-ised customer service agent. The replacement plug should have the same fuse rating as the original plug.
The severed plug must be disposed of to avoid a possible shock hazard and should never be inserted into a mains sock-et elsewhere.
Products sold in AUS and NZ only: Use a residual current de-vice (RCD) with a rated residual current of 30 mA or less.
Product Description and Specifications
Read all safety warnings and all instruc-tions. Failure to follow the warnings and in-structions may result in electric shock, fire and/or serious injury.
Intended Use
The machine is intended for routing grooves, edges, profiles and elongated holes as well as for copy routing in wood, plas-tic and light building materials, while resting firmly on the workpiece.
With reduced speed and with appropriate routing bits, non-ferrous alloys can also be machined.
Product Features
The numbering of the product features refers to the illustra-tion of the machine on the graphics page.
- Lock-off button for On/Off switch
- Right handle (insulated gripping surface)
- Spindle lock button
- Wing bolt for guide rods of parallel guide (2x)*
- Chip shield
- Base plate
- Guide plate
- Seat for parallel guide rods
- Step buffer
- Dust boot
- Wing bolt for depth stop adjustment
- Slide with index mark
- Depth stop
- Scale for depth-of-cut
- Left handle (insulated gripping surface)
- Clamping lever for locking of routing depth
- Scale for depth-of-cut fine adjustment (POF 1400 ACE)
- Adjustment knob for depth-of-cut fine adjustment (POF 1400 ACE)
- Mark for zeroing
- Release lever for guide bushing
- Router bit*
- On/Off switch
- Thumbwheel for speed preselectio
- Adjusting screws for step buffer (POF 1200 AE)
- Tightening nut with collet
- Open-end spanner, size 19 mm*
- Extraction hose (Ø 35 mm)*
- Extraction adapter*
- Knurled screw for extraction adapter (2x)*
- Guide rod for parallel guide (2x)*
- Parallel guide*
- Centring pin*
- Wing bolt for centring pin*
- Curve guide*
- Router compass/guide-rail adapter*
- Router compass handle*
- Wing bolt for coarse adjustment of router compass (2x)*
- Wing bolt for fine adjustment of router compass (1x)*
- Fine-adjustment knob for router compass*
- Centring screw*
- Guide rail*
- Base spacer
(included in the “router compass” set)* - Guide bushing*
*Accessories shown or described are not part of the standard de-livery scope of the product. A complete overview of accessories can be found in our accessories program.
Technical Data
| Technical Data | |||
| Plunge router | POF 1200 AE | POF 1400 ACE | |
| Article number | 3 603 B6A 0.1 | 3 603 B6C 7.1 | |
| Rated power input | W | 1200 | 1400 |
| No-load speed | min–1 | 11000–28000 | 11000–28000 |
| Speed preselection | • | • | |
| Constant electronic control | – | • | |
| Connection for dust extraction | • | • | |
| Tool holder | mm | 6/8 | 6/8 |
| inch | ¼ | ¼ | |
| Plunge depth | mm | 55 | 55 |
| Weight according to EPTA-Procedure 01/2003 | kg | 3.4 | 3.5 |
| Protection class | / II | / II | |
The values given are valid for a nominal voltage [U] of 230 V. For different voltages and models for specific countries, these values can vary. Please observe the article number on the type plate of your machine. The trade names of the individual machines may vary.
Noise/Vibration Information
Measured sound values determined according to EN 60745.
Typically the A-weighted noise levels of the product are: Sound pressure level 95 dB(A); Sound power level
106 dB(A). Uncertainty K =3 dB.
Wear hearing protection!
Vibration total values ah (triax vector sum) and uncertainty K determined according to EN 60745:
ah=6 m/s2, K=2 m/s2.
The vibration emission level given in this information sheet has been measured in accordance with a standardised test given in EN 60745 and may be used to compare one tool with another. It may be used for a preliminary assessment of expo-sure.
The declared vibration emission level represents the main ap-plications of the tool. However if the tool is used for different applications, with different accessories or poorly maintained, the vibration emission may differ. This may significantly in-crease the exposure level over the total working period.
An estimation of the level of exposure to vibration should also take into account the times when the tool is switched off or when it is running but not actually doing the job. This may sig-nificantly reduce the exposure level over the total working pe-riod.
Identify additional safety measures to protect the operator from the effects of vibration such as: maintain the tool and the accessories, keep hands warm, organise work patterns.
Declaration of Conformity
We declare under our sole responsibility that the product de-scribed under “Technical Data” is in conformity with the fol-lowing standards or standardization documents: EN 60745 according to the provisions of the directives 2011/65/EU, 2004/108/EC, 2006/42/EC.
Technical file (2006/42/EC) at: Robert Bosch GmbH, PT/ETM9, D-70745 Leinfelden-Echterdingen
Dr. Egbert Schneider
Senior Vice President
Engineering
Dr. Eckerhard Strötgen Engineering Director PT/ESI
Robert Bosch GmbH, Power Tools Division D-70745 Leinfelden-Echterdingen 31.08.2011
Assembly
- Before any work on the machine itself, pull the mains plug.
Inserting a Router Bit (see figure A)
- It is recommended to wear protective gloves when in-
serting or replacing router bits.
Depending on the application, router bits are available in the most different designs and qualities.
Router bits made of high speed steel (HSS) are suitable for the machining of soft materials, e. g. softwood and plastic.
Carbide tipped router bits (HM) are particularly suitable for hard and abrasive materials, e. g. hardwood and aluminium.
Original router bits from the extensive Bosch accessories program are available at your specialist shop.
Only use clean router bits that are in perfect condition.- Fold the chip shield 5 down.
- Push the spindle lock button 3 and keep it pressed. If re-quired, rotate the motor spindle by hand until it locks.
- Loosen the tightening nut 25 with the open-end spanner 26 (size 19 mm) by turning in rotation direction ?.
- Insert the router bit into the collet. The shank of the router bit must be immersed at least 20 mm into the collet.
- Tighten the tightening nut 25 with the open-end spanner 26 (size 19 mm) by turning in rotation direction ?. Re-lease the spindle lock button 3.
- Fold the chip shield 5 up again.
- Do not insert a router bit with a diameter larger than 42 mm when the guide bushing is not mounted. Such router bits do not fit through the base plate.
- Do not tighten the tightening nut of the collet without a router bit inserted. Otherwise the collet can be damaged.
Dust/Chip Extraction (see figure B)
- Dusts from materials such as lead-containing coatings, some wood types, minerals and metal can be harmful to one’s health. Touching or breathing-in the dusts can cause allergic reactions and/or lead to respiratory infections of the user or bystanders.
Certain dusts, such as oak or beech dust, are considered as carcinogenic, especially in connection with wood-treatment additives (chromate, wood preservative). Materials containing asbestos may only be worked by specialists.- As far as possible, use a dust extraction system suita-ble for the material.
- Provide for good ventilation of the working place.
- It is recommended to wear a P2 filter-class respirator. Observe the relevant regulations in your country for the materials to be worked.
- Prevent dust accumulation at the workplace. Dusts can easily ignite.
Mounting the Extraction Adapter
The extraction adapter 28 can be mounted with the hose con-nection to the front or to the rear. When mounting with the hose connection in front, the chip shield 5 must be removed first. Fasten the extraction adapter 28 with the two knurled screws 29 to the base plate 6.
To ensure optimum extraction, the extraction adapter 28 must be cleaned regularly.
Connecting the Dust Extraction
Insert an extraction hose (Ø 35 mm) 27 (accessory) into the mounted extraction adapter. Connect the extraction hose 27 to a vacuum cleaner (accessory).
The machine can be plugged directly into the receptacle of a Bosch all-purpose vacuum cleaner with remote starting con-trol. The vacuum cleaner starts automatically when the ma-chine is switched on.
The vacuum cleaner must be suitable for the material being worked.
When vacuuming dry dust that is especially detrimental to health or carcinogenic, use a special vacuum cleaner.
Mounting the Chip Shield (see figure C)
Insert the chip shield 5 from the front into the guide in such a manner that it engages. To remove the chip shield, grasp it by the sides and pull it off toward the front.
Operation
Starting Operation
Observe correct mains voltage! The voltage of the power source must agree with the voltage specified on the nameplate of the machine. Power tools marked with 230 V can also be operated with 220 V.
Preselecting the Speed
The required speed can be preselected with the thumbwheel 23 (also while running).
- 1–2 low speed
- 3–4 medium speed
- 5 – 6 high speed
The values shown in the chart are standard values. The neces\sary speed depends on the material and the operating conditions, and can be determined by practical testing.
| Material Hardwood (Beech) | Router bit diameter (mm) 4– 10 12 – 20 22 – 40 | Thumbwheel 23 5– 6 3– 4 1– 2 |
| Softwood (Pine) | 4– 10 12 – 20 22 – 40 | 5– 6 3– 6 1– 3 |
| Particle Board | 4– 10 12 – 20 22 – 40 | 3– 6 2– 4 1– 3 |
| Plastics | 4– 15 16 – 40 | 2– 3 1– 2 |
| Aluminium | 4– 15 16 – 40 | 1– 2 1 |
Switching On and Off
Adjust the depth-of-cut before switching on or off; see Sec-tion “Adjusting the Depth-of-cut”.
To start the machine, first push the lock-off button for the On/Off switch 1 and then press the On/Off switch 22 and keep it pressed.
POF 1400 ACE: A lamp illuminates the routing area.
To switch off the machine, release the On/Off switch 22.
POF 1400 ACE: The lamp slowly goes out.
Note: For safety reasons, the On/Off switch 22 cannot be locked; it must remain pressed during the entire operation.
Constant Electronic Control (POF 1400 ACE)
Constant electronic control holds the speed constant at no-load and under load, and ensures uniform working perform-ance.
Adjusting the Depth-of-cut (see figure D)
- The adjustment of the depth-of-cut may only be carried out when the router is switched off.
For coarse adjustment of the depth-of-cut, proceed as fol-lows:- Place the machine with the router bit mounted on the workpiece to be machined.
- POF 1400 ACE: Set the fine-adjustment path to the centre position with the adjustment knob 18. For this, turn the adjustment knob 18 until the marks 19 match as shown in the figure. Afterwards, set the scale 17 to “0”.

- Set the step buffer 9 to the lowest position; the step buffer engages noticeably.
- POF 1200 AE: Screw the adjusting screws for the step buffer 24 halfway in or out.
- Loosen the wing bolt for the depth stop 11 so that the depth stop 13 can be moved freely.
- Push the clamping lever for locking of routing depth 16 in rotation direction 1 and and slowly lower the plunge rout-er until the router bit 21 touches the surface of the work-piece. Let go of the clamping lever 16 again to lock this plunging depth.
If required, push the clamping lever 16 in rotation direction 2 to lock it in place. - Push the depth stop 13 downward until it rests on the step buffer 9. Set the slide with the index mark 12 to the “0” position on the scale for the depth-of-cut adjustment 14.
- Set the depth stop 13 to the required depth-of-cut and tighten the wing bolt for the depth stop 11. Pay attention not to misadjust the slide with the index mark 12 again.
- Push the clamping lever 16 in rotation direction 1 and guide the router to the uppermost position.
For deep cuts, it is recommended to carry out several cuts, each with little material removal. By using the step buffer 9, the cutting process can be divided into several steps. For this, adjust the desired depth-of-cut with the lowest step of the step buffer and select the higher steps first for the initial cuts.
POF 1200 AE: The clearance of the steps can be changed by screwing the adjusting screws 24 further in or out.
Fine Adjustment of the Depth-of-cut (POF 1400 ACE)
After a trial cut, the depth-of-cut can be set exactly to the de-sired measure by turning the adjustment knob 18; turn in clockwise direction to increase the cutting depth and in anti-clockwise direction to decrease the cutting depth. The scale 17 can be used for guidance. One full turn corresponds with a setting range of 2.0 mm; a graduation mark on the top edge of the scale 17 corresponds with a 0.1 mm change of the setting range. The maximum setting range is ± 8 mm.
Example: The desired depth-of-cut is to be 10.0 mm; the trial cut resulted in a cutting depth of 9.6 mm.
- Lift up the router and place, e. g., a piece of scrap wood un-der the guide plate 7 so that the router bit 21 cannot touch the workpiece when lowering it. Push clamping lever 16 in rotation direction 1 and slowly lower the plunge router un-til the depth stop 13 faces against the step buffer 9.
- Turn the scale 17 to “0” and loosen wing bolt 11.
- Turn the adjustment knob 18 by 0.4 mm/4 graduation marks (difference from set to actual value) in clockwise di-rection and tighten the wing bolt 11.
- Check the selected depth-of-cut by carrying out another trial cut.
After adjusting the depth-of-cut, do not change the position of the slide 12 on the depth stop 13 any more, so that the actual cutting depth can be read on the scale 14.
Fine Adjustment of the Depth-of-cut (POF 1200 AE)
Different depths-of-cut can be preset with the step buffer 9. The adjustment is carried out in the same manner as previous-ly described, with the difference that by screwing the adjust-ing screws 24 in or out, the height difference between the stops can be changed.
Working Advice
- Protect router bits against shock and impact.
Direction of Feed and Routing Process (see figure E)
- The routing process must always be carried out against the rotation direction of the router bit 21 (up-cutting motion). When routing in the direction with the rota-tion of the router (down-cutting), the machine can break loose, eliminating control by the user.
- Adjust the required depth-of-cut; see Section “Adjusting the Depth-of-cut”.
- Place the machine with the router bit mounted on the workpiece to be machined and switch the power tool on.
- Push clamping lever 16 down and slowly lower the plunge router until the adjusted depth-of-cut is reached. Let go of the clamping lever 16 again to lock this plunge depth.
If required, push clamping lever 16 up again to finally lock it in place. - Carry out the routing process applying uniform feed.
- After finishing the cutting process, guide the plunge router upward again to the uppermost position.
- Switch the power tool off.
Routing with Auxiliary Guide (see figure F)
For working large workpieces, e. g. when routing grooves, a board or wood strip can be fastened to the workpiece as an auxiliary guide alongside which the router can be guided. Guide the router with the flattened side of the guide plate along the auxiliary guide.
Shaping or Molding Applications
For shaping or molding applications without the use of a par-allel guide, the router bit must be equipped with a pilot or a ball bearing.
- Guide the switched on power tool from the side toward the workpiece until the pilot or the ball bearing of the router bit faces against the workpiece edge to be machined.
- Guide the power tool alongside the workpiece edge with both hands, paying attention that the router is positioned rectangular. Too much pressure can damage the edge of the workpiece.
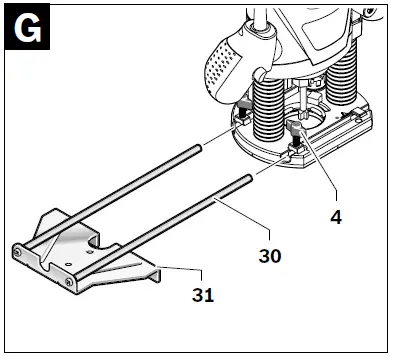
Routing with Parallel Guide (see figures G–H)
Slide the parallel guide 31 with the guide rods 30 into the base plate 6 and tighten it as required with the wing bolts 4.
Guide the switched on power tool with uniform feed and later-al pressure on the parallel guide alongside the workpiece edge.
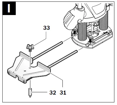
Routing Circular Arc Profiles (see figures I – J)
Turn the parallel guide 31 around so that the facing surface of the parallel guide faces upward.
Slide the parallel guide 31 with the guide rods 30 into the base plate 6 and tighten it as required with the wing bolts 4.
Fasten the centring pin 32 with the wing bolt 33 through the hole in the parallel guide 31.
Pierce the centring pin 32 into the marked centre of the arc profile and carry out the routing process applying uniform feed.
Routing with the Curve Guide (see figures K – L)
Slide the parallel guide 31 with the guide rods 30 into the base plate 6 and tighten it as required with the wing bolts 4.
Fasten the curve guide 34 with the guide roller mounted through the hole on the parallel guide 31.
Guide the power tool with light lateral pressure alongside the workpiece edge.
Routing with the Router Compass (see figure M)
The router compass/guide-rail adapter 35 can be used for cir-cular routing jobs. Mount the router compass as shown in the figure.
Screw the centring screw 40 into the thread on the router compass. Insert the point of the centring screw into the cen-tre of the circular arc to be routed, paying attention that point of the screw engages into the workpiece surface.
Coarsely adjust the required radius by moving the router com-pass and tighten the wing bolts 37 and 38.
The length can be fine adjusted with the fine-adjustment knob 39 after loosening the wing bolt 38. One revolution corre-sponds with a setting range of 2.0 mm. One graduation mark on the fine-adjustment knob 39 changes the setting range by 0.1 mm.
Guide the switched on power tool over the workpiece with the right handle 2 and the router compass handle 36.
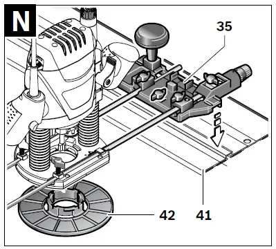
Routing with Guide Rail (see figure N)
Straight routing cuts can be carried out with help of the guide rail 41.
The base spacer 42 must be mounted in order to compensate the height difference.
Mount the router compass/guide-rail adapter 35 as shown in the figure.
Fasten the guide rail 41 to the workpiece with suitable clamp-ing devices, e. g. screw clamps. Place the machine with the guide-rail adapter 35 mounted onto the guide rail.
Routing with Guide Bushing (see figures O – P)
The guide bushing 43 enables template and pattern routing on workpieces.
Choose a suitable guide bushing, depending on the thickness of the template or the pattern. Because of the projecting height of the guide bushing, the template must have a mini-mum thickness of 8 mm.
Actuate the release lever 20 and insert the guide bushing 43 from below into the base plate 6. Ensure that the encoding keys clearly engage in the grooves of the guide bushing.
- Select a router bit with a diameter smaller than the interior diameter of the guide bushing.
For routing with the guide bushing 43 proceed as follows:- Guide the switched on power tool with the guide bushing toward the template.
- Push clamping lever 16 down and slowly lower the plunge router until the adjusted depth-of-cut is reached. Let go of the clamping lever 16 again to lock this plunge depth.
If required, push clamping lever 16 up again to finally lock it in place. - Guide the switched on power tool with the protruding guide bushing alongside the template applying lateral pressure.
Maintenance and Service
Maintenance and Cleaning
- Before any work on the machine itself, pull the mains plug.
- For safe and proper working, always keep the machine and ventilation slots clean.
- In extreme conditions, always use dust extraction as far as possible. Blow out ventilation slots frequently and install a residual current device (RCD). When work-ing metals, conductive dust can settle in the interior of the power tool. The total insulation of the power tool can be im-paired.
Robert Bosch GmbH Power Tools Division
70745 Leinfelden-Echterdingen Germany
www.bosch-pt.com
1 619 929 J76 (2011.09) O / 99 WEU

















