38261528 Arctis Nova Pro Wireless Earbuds
User Manual
ARCTIS NOVA PRO
PRODUCT INFORMATION GUIDE
GENERAL
PACKAGE CONTENTS
- Arctis Nova Pro X Headset
- GameDAC
- Main Audio Cable
- 2x USB-C to USB-A Cable
- Microphone Pop Filter
- Product Information Guide
SYSTEM COMPATIBILITY
- Xbox Series X|S
- Xbox One
- PC
- PlayStation 5
- PlayStation 4
- Nintendo Switch
- Android
SOFTWARE
Use Engine inside SteelSeries GG to set custom equalizer settings and control your mic. GG also has other amazing apps like Sonar, a breakthrough in gaming sound, that allows you to hear what matters most, through cutting-edge audio tools.
DOWNLOAD NOW steelseri.es/gg
PRODUCT OVERVIEW
HEADSET
- Elastic Headband
- Premium Leatherette Ear Cushions*
- Retractable ClearCast Microphone
- Volume Wheel
- Microphone Mute Button
- 3 .5 mm Audio Jack
- Removable Speaker Plates*
ACCESSORIES* - USB-C to USB-A Cable (×2)
- Main Audio Cable
- Microphone Pop Filter
*Find accessories and replacement parts at steelseries.com/gaming-accessories
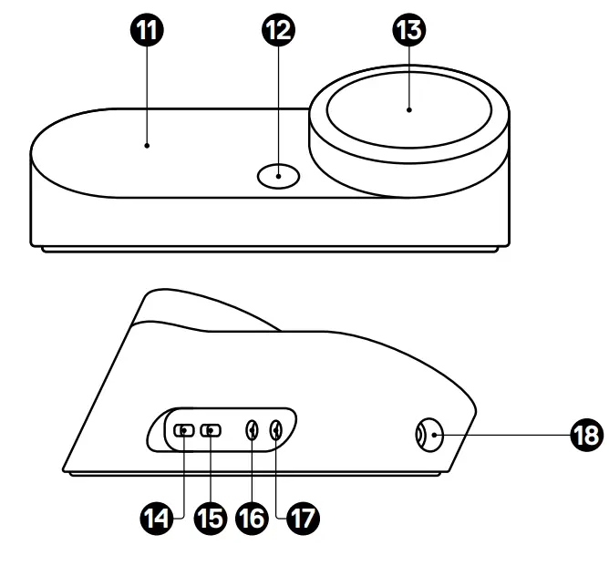
GAME DAY - OLED Screen
- Secondary Button
- Control Wheel
- Xbox Jack
- USB Jack
- Line Out Jack
- Line-In Jack
- Headset Jack

SETUP
CONNECTIONS
Plug one of the USB-C to USB-A Cables (8) into the Xbox Jack (14), and connect the other end to your Xbox. Optionally connect the second USB cable from the GameDAC’s USB Jack (15) to a PC, PlayStation, or Switch. Change input sources via the OLED display menu.
HEADSET TO DAC
Plug the kinked end of the Main Audio Cable (9) into the Headset Jack (18) on the left side of the GameDAC and the straight end into the Headset’s 3.5 mm Audio Jack (6) .
GAMEDAC OPERATION
HOME SCREEN
19. Press and release the Control Wheel (13) to toggle between Volume and ChatMix (*available on PC with the software installed).
20. Rotate the Control Wheel (13) to adjust the selected parameter.
21. Press and hold the Control Wheel (13) to bring up the main menu.
MAIN MENU
- Rotate the Control Wheel (13) to cycle menu items.

- Press and release the Control Wheel (13) to select.

- Press and release the Secondary Button (12) to move back in the menu.

AUDIO OPTIONS
- SURROUND
Toggle Software Surround Sound On/Off (PC only, requires software install)
- EQUALIZER
Customize your sound with included presets or fully adjustable 10-band EQ - GAIN
Changes the maximum output level of the GameDAC
- SIDETONE
Select the amount of your own voice you wish to hear in the headphones - MIC VOLUME
Optimize the level of the microphone for your system
- MIC MUTE
When enabled, the Secondary Button (12) toggles the microphone mute
AUDIO OUTPUT SETTINGS
SPEAKERS
Play games and chat audio through a pair of external speakers.
- Connect a 3 .5 mm cable (not included) from the GameDAC Line Out Jack (16) to your speakers.
- In the OLED menu set the Line Out option to `Speakers.

STREAM
Mix your Main, Aux, and Mic audio together to send to a PC for streaming .
- Connect a 3 .5 mm cable (not included) from the GameDAC Line Out Jack (16) to your stream PC’s soundcard input.
- In the OLED menu set the Line Out option to `Stream’.
- Adjust your custom mix via the Stream Mixer on the OLED screen.

MICROPHONE
RETRACTABLE MICROPHONE
Out of the box, the Retractable ClearCast Microphone (3) is retracted. To use the microphone, slide it away from the headset until it reaches full extension.
POSITIONING
Position the Retractable ClearCast Microphone (3) close to the corner of your mouth with the front surface facing you. Note: The microphone should not be used when retracted.
PERFECT FIT
There are two ways to adjust the fit of your headset
1 Slide the earcups up or down to change the overall height.
1 Change the position of the Elastic Headband (1) on one or both sides to achieve the desired tension and flex.
SPEAKER PLATES
The Removable Speaker Plates (7) are attached with magnets.
To remove for replacement, place your fingernail in the groove at the bottom of the plate and gently lift .
REGULATORY
Europe EU Declaration of Conformity
Hereby, SteelSeries ApS. declares that the equipment is in compliance with directive RoHS 2 .0 (2015/863/EU), EMC Directive (2014/30/EU), and LVD (2014/35/EU) which are issued by the Commission of the European Community.
The full text of the EU declaration of conformity is available at the following internet address: https://steelseries.com/
SteelSeries ApS. hereby confirms, to date, based on the feedback from our suppliers indicates that the shipping of our products to the EU territory complies with the REACH (Registration, Evaluation, Authorization, and Restriction of Chemicals – (EC) 1907/2006) compliance program. We are fully committed to offering REACH compliance on the products and posting accurate REACH compliance status for the all of products.
UK Declaration of Conformity
Hereby, SteelSeries ApS. declares that the following equipment is in compliance with Electromagnetic Compatibility Regulations 2016, Electrical Equipment (Safety) Regulations 2016, and The Restriction of the Use of Certain Hazardous Substances in Electrical and Electronic Equipment Regulations 2012 issued by the Department for Business, Energy& Industrial Strategy. The full text of the UK declaration of conformity is available at the following internet address: www.steelseries.com
WEEK
This product must not be disposed of with your other household waste or treated in compliance with local regulations contact your local city office, your household waste disposal service or the shop where you purchased the product.
Turkey RoHS Compliance
Republic of Turkey: In conformity with the EEE Regulation Türkiye Cumhuriyeti: EEE Yönetmeliine Uygundur
Federal Communication Commission Interference Statement
This device complies with Part 15 of the FCC Rules. Operation is subject to the following two conditions:
- This device may not cause harmful interference, and
- this device must accept any interference received, including interference that may cause undesired operation.
This equipment has been tested and found to comply with the limits for a Class B digital device, pursuant to Part 15 of the FCC Rules. These limits are designed to provide reasonable protection against harmful interference in a residential installation. This equipment generates, uses, and can radiate radio frequency energy and, if not installed and used in accordance with the instructions, may cause harmful interference to radio communications. However, there is no guarantee that interference will not occur in a particular installation. If this equipment does cause harmful interference to radio or television reception, which can be determined by turning the equipment off and on, the user is encouraged to try to correct the interference by one of the following measures:
- Reorient or relocate the receiving antenna.
- Increase the separation between the equipment and the receiver.
- Connect the equipment to an outlet on a circuit different from that to which the receiver is connected.
- Consult the dealer or an experienced radio/TV technician for help.
| Region | Address | Telephone |
| USA | SteelSeries ApS .,” 656 W Randolph St ., Suite 3E, Chicago, IL 60661, USA | +1 312 258 9467 |
Industry Canada Statement
This device complies with RSS standards of the Industry Canada Rules. Operation is subject to the following two conditions:
- This device may not cause harmful interference, and
- This device must accept any interference received, including interference that may cause undesired operation.
This Class B digital apparatus complies with Canadian ICES-003
SteelSeries Products and Australian Consumer Law
Our goods come with guarantees that cannot be excluded under Australian consumer law. You are entitled to a repair, replacement, or refund for a major failure and compensation for any other reasonably foreseeable loss or damage. You are also entitled to have the goods repaired or replaced if the goods fail to be of acceptable quality and the failure does not amount to a major failure. Should your product be defective, you can make a claim under Australian consumer law. SteelSeries will provide its own remedies equivalent to those remedies in the consumer guarantee provisions of the Australian Consumer Law at any time within 24 months of the date of purchase. For the avoidance of doubt, SteelSeries acknowledges that the Australian Consumer Law may provide for remedies beyond 24 months for a number of its products.
Summary of Australian statutory consumer guarantees
Consumer guarantees in relation to goods
The goods will be of acceptable quality, The goods will be fit for a particular purpose, The goods will match their description, The goods will match the sample or demonstration model, You have title to the goods, You have undisturbed possession of the goods, There are no undisclosed securities on the goods.
Consumer guarantees in relation to services
We will provide the services with due care and skill, The services will be fit for a particular purpose, and The services will be provided within a reasonable time. For SteelSeries-branded goods, in addition to the above, we also guarantee that we will provide repairs or spare parts for a reasonable time. Under Australian consumer law, the remedy you are entitled to if a product fails to meet a consumer guarantee will depend on whether the failure to comply with the guarantee is major or minor. Minor failures to comply with a consumer guarantee can normally be fixed or resolved in a reasonable amount of time. In this case, the seller can choose to offer you a refund, replacement, repair or, in the case of services, resupply. If the seller does not fix the problem or takes too long, you may be able to get it fixed by someone else and recover the costs from the seller depending on the circumstances.
Remedies for major failure with goods
Return the product and ask for a refund, Return the product and ask for an identical replacement, or one of similar value if reasonably available, Keep the product and ask for compensation for the drop in value caused by the problem.
Remedies for major failure with services
Cancel the contract and pay a reasonable amount for the work done, or seek a refund, For money already paid, keep the contract and negotiate a reduced price for the drop in value of the service — this may mean asking for some of your money back if you have already paid . For goods, there is a major failure to comply with a consumer guarantee when:
- You would not have purchased the product if you had known about the problem.
- The product is significantly different from the description, sample, or demonstration model you were shown.
- The product is substantially unfit for its normal purpose and cannot easily be made fit within a reasonable time.
- The product is substantially unfit for a purpose that you told the supplier about, and cannot easily be made fit within a reasonable time.
- The product is unsafe.
For services, there is a major failure to comply with a consumer guarantee when:
- You would not have engaged the service if you had known the nature and extent of the problem.
- The service does not meet reasonable expectations for that type of service, and the problem cannot be rectified within a reasonable time.
- You told the supplier that you wanted the service for a specific purpose, which was not fulfilled, and the problem could not be easily rectified within a reasonable time.
- You told the supplier that you wanted a specific result, yet the service and end result failed to meet your specifications and could not be easily rectified within a reasonable time.
- The supply of the service has created an unsafe situation. For information on Australian consumer laws, please visit Australian consumer law
website at www.consumerlaw.gov.au.
Importer Name and Address: Ingram Micro Pty LTD / Level1, 61 Dunning Avenue. Rosebery NSW 2018
Telephone technical support: +61-2-9381-6000 (B) ,
- SteelSeries ApS.
- GameDAC
- SC-00008
- R-R-SS4-SC-00008
- SteelSeries ApS ./China
Restriction on Hazardous Substances statement (India)
This product complies with the “India E-waste Rule 2011” and prohibits the use of lead, mercury, hexavalent chromium, polybrominated biphenyls or polybrominated diphenyl ethers in concentrations exceeding 0 .1 weight % and 0 .01 weight % for cadmium, except for the exemptions set in Schedule 2 of the Rule.
| Region | Address | Telephone |
| Asia | 4F .-4, No. 186, Jian 1st Rd.Zhonghe Dist. New Taipei City 235603, Taiwan (R . O . C .) | +886 2 8226 3858 |
| Europe | Havneholmen 8, 1st Floor, 2450 Copenhagen SV, Denmark | +45 702 500 75 |
| USA | SteelSeries ApS . 656 W Randolph St ., Suite 3E, Chicago, IL 60661, USA | +1 312 258 9467 |
More information and support from steelseries.com
Custom Union Compliance. (Russia / Belarus / Kazakhstan / Armenia / Kyrgyzstan)
ACMA Compliance (Australia/ New Zealand)
Direct Current
| Region | Address | Telephone |
| Asia | 4F and 4F .-4, No. 186, Jian 1st Rd ., Zhonghe Dist ., New Taipei City 235 , Taiwan (R .O .C .) | +886 2 8227 1999 |
| Europe | Havneholmen 8, 1st Floor, DK-2450 Copenhagen SV, Denmark | +45 702 500 75 |
| USA | SteelSeries ApS ., 656 W Randolph St ., Suite 3E, Chicago, IL 60661, USA | +1 312 258 9467 |
More information and support from SteelSeries.com
Product Name: Wireless Headset
Model No. : HS25 (HS-25)
Rated :5V
500mA
Accessories information
Product Name: Transceiver
Model No: HS25TXX
Rated : 5V
500mA
Made in China
Operating Temperature: 0 to + 40 °C : 0 – 40 learn more at steelseries.com
ACCESSORIES*
*Find accessories and replacement parts at 


























