ANY QUESTIONS CALL: 800-613-3261
M-F 8:00AM-6:00PM ET
ITEM#: 14429/4
Instruction Manual
14429-4 Boudreaux 4-Light Vanity Light
WARNING: DISCONNECT POWER AT THE MAIN FUSE BOX BEFORE INSTALLATION.
WARNING:
This fixture is intended for installation in accordance with the National Electrical Code (NEC) and all local code specifications. If you are not familiar with code requirements, installation by a certified electrician is recommended.
Before assembly, remove all parts and part packages from box. If anything is missing, please contact the retailer from which the product was purchased.
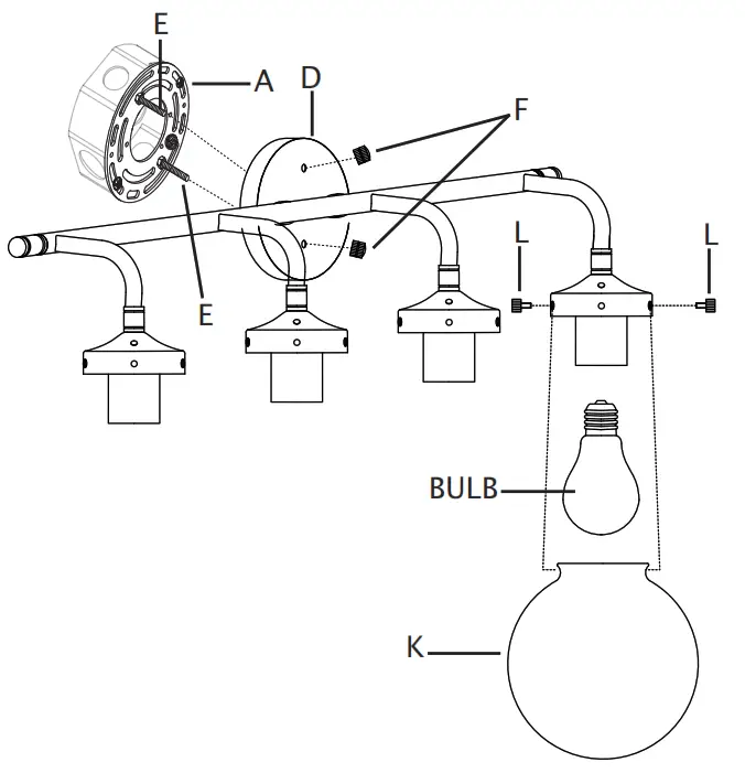
- Position mounting bracket (A) so threaded ends of attached fixture mounting screws (E) are facing out.
- Carefully pull house wires through large hole in mounting bracket (A).
- Align holes in mounting bracket (A) with holes in junction box.
- Thread each junction box screw (B) into holes in mounting bracket (A) and into holes in junction box. Tighten junction box screws (B) to secure mounting bracket (A) to junction box. CAUTION: Make sure house wires are pulled completely through hole in mounting bracket. DO NOT pinch wires between mounting bracket and wall.

- Strip 3/4” of insulation from ends of fixture wires.
- Slightly loosen ground screw on mounting bracket (A). Do not completely remove ground screw. Wrap house ground wire (copper) around ground screw, leaving enough ground wire to attach to fixture ground wire. Twist end of fixture ground wire and end of house ground wire together. Twist wire connector (C) onto ends of wires. Completely tighten wire connector (C). Reference chart below for correct wire connections.
Connect Supply (House) Ground Copper Wire to:
Bare Copper Wire or,
Bare Silver Wire or,
Green Insulated Wire.
- Twist end of house lead wire (black) and end of fixture lead wire together. Twist wire connector (C) onto ends of wires. Completely tighten wire connector (C). Twist end of house neutral wire (white) and end of fixture neutral wire together. Twist wire connector (C) onto ends of wires. Completely tighten wire connector (C). Reference chart to the right for correct wire connections.
- Wrap electrical tape (not included) around wire connectors (C) and wires. Ensure wires are securely fastened into wire connectors.
- Carefully push all wires and wire connectors into junction box.
Connect Black Lead Supply (House) Wire to: Connect White Neutral Supply (House) Wire to: Black Wire or, White Wire or, *Parallel Cord (Round and Smooth) or, *Parallel Cord (Square and Ridged) or, No printed words on wire insulation or, Printed words on wire insulation or, Insulated Wire (other than green) with Copper Conductor. Insulated Wire (other than green) with Silver Conductor. *When parallel wire (SPT 1 & SPT 2) is used: The lead wire is round in shape or smooth. The neutral wire is square in shape or ridged. 
- Place backplate (D) over mounting bracket (A).
Pass holes in backplate (D) over ends of fixture mounting screws (E). CAUTION: Do not pinch wires between backplate and wall. - Screw one threaded cap (F) onto end of each fixture mounting screw (E). Tighten both threaded caps (F) to secure fixture (D) to wall. DO NOT over tighten.
- Screw recommended bulbs (E26 Edison bulb type, not included) into sockets. Verify correct bulb wattage marked on socket of fixture.
WARNING: DO NOT exceed maximum bulb wattage. - Raise shade (K) up to fixture. Pass hole in top of shade (K) over bulb. Fit top of shade (K) inside socket cup.
- Holding shade (K) in place, thread one thumbscrew (L) into each hole in edge of socket cup. Do not completely tighten thumbscrews (L) until all thumbscrew (L) have been installed. Afterall thumbscrews (L) have been installed, equally tighten thumbscrews (L) to secure shade (K) in place. DO NOT over tighten thumbscrews (L).
- Repeat steps 13 and 14 to install remaining shades (K).





















