ELK Home 18642/3 Davenay Bathroom Vanity Light
IMPORTANT SAFETY INSTRUCTIONS
WARNING: DISCONNECT POWER AT THE MAIN FUSE BOX BEFORE INSTALLATION.
WARNING:
This fixture is intended for installation in accordance with the National Electrical Code (NEC) and all local code specifications. If you are not familiar with code requirements, installation by a certified electrician is recommended.
Before assembly, remove all parts and part packages from box. If anything is missing, please contact the retailer from which the product was purchased.
ASSEMBLY INSTRUCTIONS

- Position mounting bracket (A) so the head of ground screw is facing outward. The tabs on mounting bracket (A) should be at the top and bottom and facing outward.
- Temporarily place the mounting bracket (A) over the junction box. Align the holes in the center of mounting bracket (A) with holes in junction box.
Mark on the wall the location of each hole in the left and right sides of mounting bracket (A).
Place mounting bracket (A) aside. - Using a drill bit the appropriate size of the wallanchor (F), drill a hole at each marked location in the wall. Carefully insert wall anchor (F) into each hole in wall.
- Position mounting bracket (A) so the head of ground screw is facing outward. The tabs on mounting bracket (A) should be at the top and bottom and facing outward.
- Carefully pull house wires through hole in center of mounting bracket (A).
- Align holes in left and right sides of mounting bracket (A) with each wall anchor (F). Align holes in center of mounting bracket (A) with each hole in junction box. Mounting bracket (A) should be level.
- Thread each wall screw (G) into holes in sides of mounting bracket (A) and into wall anchors (F).
DO NOT fully tighten wall screws (G) at this time. - Thread each junction box screw (B) into holes incenter of mounting bracket (A) and into holes in junction box. Tighten junction box screws (B) and wall screws (G) to secure mounting bracket (A) to junction box. CAUTION: Make sure house wires are pulled completely through hole in mounting bracket. DO NOT pinch wires between mounting bracket and wall.
- Strip 3/4” of insulation from ends of fixture wires.
- Slightly loosen ground screw on mounting bracket (A). Do not completely remove ground screw. Wrap house ground wire (copper) around ground screw, leaving enough ground wire to attach to fixture ground wire. Twist end of fixture ground wire and end of house ground wire together. Twist wire nut (C) onto ends of wires. Completely tighten wire nut (C). Reference chart below for correct wire connections.
Connect Supply (House) Ground Copper Wire to: Bare Copper Wire or, Bare Silver Wire or, Green Insulated Wire. - Twist end of house lead wire (black) and end of fixture lead wire together. Twist wire nut (C) onto ends of wires. Completely tighten wire nut (C). Twist end of house neutral wire (white) and end of fixture neutral wire together. Twist wire nut (C) onto ends of wires. Completely tighten wire nut (C). Reference chart to the right for correct wire connections.
- Wrap electrical tape (not included) around wire nuts (C) and wires. Ensure wires are securely fastened into wire nuts.
- Carefully push all wires and wire nuts into junction box.
Connect Black Lead Supply (House) Wire to: Connect White Neutral Supply (House) Wire to: Black Wire or, White Wire or, *Parallel Cord (Round and Smooth) or, *Parallel Cord (Square and Ridged) or, No printed words on wire insulation or, Printed words on wire insulation or, Insulated Wire (other than green) with Copper Conductor. Insulated Wire (other than green) with Silver Conductor. *When parallel wire (SPT 1 & SPT 2) is used: The lead wire is round in shape or smooth. The neutral wire is square in shape or ridged.

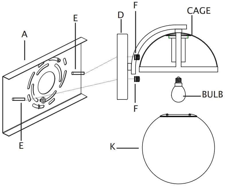
- Place backplate (D) over mounting bracket (A).
Pass holes in backplate (D) over ends of fixture mounting screws (E). CAUTION: Do not pinch wires between backplate and wall. - Screw one threaded cap (F) onto end of each fixture mounting screw (E). Tighten both threaded caps (F) to secure fixture (D) to wall.
DO NOT over tighten.
- Screw recommended bulbs (E12 Candelabra bulb type, not included. G16 bulb recommended.) into sockets. Verify correct bulb wattage marked on socket of fixture. WARNING: DO NOT exceed maximum bulb wattage.
- Pass hole in top of shade (K) over bulb and socket. Place top of shade (K) against top of inside of cage. Carefully turn shade (K) clockwise to secure shade (K) in place. DO NOT over tighten shade (K). Repeat this step for remaining shades.




















