Hukoro F42143-VL-BN 20.4 Inch 3 Light Vanity Light

Product Information
The product is a light fixture that comes with a glass shade, mounting unit, ball nuts, mounting screws, wire nuts, and a tool. The light fixture requires a junction box (not included) for installation. The product also requires tools such as a ladder, safety glasses, electrical tape, Phillips screwdriver, flat blade screwdriver, pliers, and wire strippers.
Product Usage Instructions
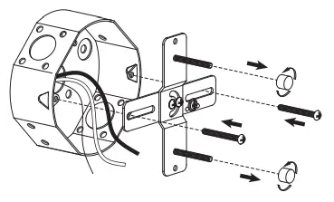
Step 1: Mounting Unit Installation
- Unscrew the ball nuts from the mounting unit.
- Use the mounting screws to attach the mounting unit to the junction box (not included).
Step 2: Electrical Connection
- Connect the ground wire to the mounting unit using the preinstalled green ground screw.
- Connect the black or red wire (hot) from the junction box to the black wire from the fixture.
- Connect the white wire (neutral) from the junction box to the white wire from the fixture.
- Connect the bare or green ground wire from the junction box to the ground wire from the fixture.
- Secure all connections with wire nuts and electrical tape.
Step 3: Fixture Attachment
- Attach the fixture to the mounting unit through screw holes as shown.
- Secure the fixture with ball nuts.
Step$ 4: Glass Shade Installation
- Remove the socket rings from the socket.
- Insert socket rings into the tool.
- Put the glass shade onto the socket of the fixture.
- Screw socket rings onto the socket using the tool to secure the glass shades.
Step 5: Bulb Installation
- Install bulbs (not included).
Note: The parts shown in the manual may differ slightly per light fixture. If you need assistance with the installation process, please contact the manufacturer via email at [email protected].
ASSEMBLY INSTRUCTIONS
CAUTION
- Inspect the wire insulation for any cuts, abrasions, or exposed copper that may have during shipping. If there is a defect in the wire, do not attempt installation.
- Before starting installation of this fixture or removal of a previous fixture, disconnect the power by turning off the circuit breaker or by removing the fuse at the fuse box.
If you need further assistance, please contact us by Email: [email protected]
TOOLS REQUIRED
HARDWARE INCLUDED

*PARTS SHOWN MAY DIFFER SLIGHTLY PER LIGHT FIXTURE
EXPLODED PARTS
INSTALLATION
STEP 1
Unscrew the ball nuts from the mounting unit.
Use the mounting screws to attach the mounting unit to the junction box (not included).
STEP 2
Make the electrical connection from the junction box (not included) to the fixture. Connect the ground wire to the mounting unit using the preinstalled green ground screw. Next, connect the positive, negative and ground wires with the supplied wire nuts. Secure with electrical tape.

ASSEMBLY INSTRUCTIONS
STEP 3
Attach the fixture to the mounting unit through screw holes as shown, and secure it with ball nuts.
STEP 4
Remove the socket rings from the socket.
Insert socket rings into the tool.
Put the glass shade to the socket of the fixture, screw socket rings onto the socket using the tool to secure the glass shades.
STEP 5
Install bulbs (not included).














