WILTEC 30155 Engine Stand Engine Mounting Support 450kg or 1000lbs User Manual

WILTEC 30155 Engine Stand Engine Mounting Support 450kg or 1000lbs
Please read and follow the operating instructions and safety information prior to initial operation. Technical changes reserved!
Illustrations, functional steps, and technical data may deviate insignificantly due to continuous further developments
The information contained in this document may alter at any time without prior notice. No part of this document may be copied or otherwise duplicated without prior written consent. All rights reserved.
WilTec Wildanger Technik GmbH cannot be held liable for any possible mistakes in this operating manual, nor in the diagrams and illustrations shown. Although WilTec Wildanger Technik GmbH has made every possible effort to ensure that this operating manual is complete, accurate, and up-to-date, errors cannot be ruled out entirely. If you have found an error or wish to suggest an improvement, we look forward to hearing from you. Send us an e-mail to:
or use our contact form: https://www.wiltec.de/contacts/
The most recent version of this manual in several languages can be found in our online shop: https://www.wiltec.de/docsearch
Our postal address is:
WilTec Wildanger Technik GmbH Königsbenden 12 52249 Eschweiler Germany
Do you wish to collect your goods? Our address for collection is:
WilTec Wildanger Technik GmbH Königsbenden 28
52249 Eschweiler Germany
In order to shorten the waiting time and to allow for an easy on-site processing, we kindly ask you to contact us briefly beforehand or to place your order via the webshop.
E-mail: [email protected] Tel: +49 2403 55592–0
Fax: +49 2403 55592–15
To return your goods for exchange, repair, or other purposes, please use the following address. Atten- tion! To allow for a trouble-free complaint or return, it is important to contact our customer service team before returning your goods. Retourenabteilung
WilTec Wildanger Technik GmbH Königsbenden 28
52249 Eschweiler Germany
E-mail: [email protected]Tel: +49 2403 55592–0
Fax: +49 2403 55592–15
Introduction
Thank you for choosing to purchase this quality product. To minimise the risk of injury, we ask you to always take some basic safety precautions when using this product. Please read this operating manual carefully and make sure that you understand it. Keep these operation instructions in a safe place.
Description
The engine stand, having a capacity of up to 450 kg, provides an ideal help for working on engines or transmissions. A large variety of adjustments and adaption possibilities offer a high degree of flexibility and security. While working, turn the engine about 360° to get access even to areas that are difficult to reach normally. The four installation points can be easily adjusted regarding angle and distance and thus allow a universal adjustment for any engine – with the four steel rollers ensuring a safe position and easy drivability of the entire construction.
Safety instructions/warnings

The owner and/or user must have read and understood the operating instructions of the device before using it. Installed personnel should be cautious, competent, trained, and qualified in the safe handling
of the working equipment used when working with motors and their components. Warnings should be read and understood.
- Be familiar with the application control, the application process, and the warnings.
- Make sure that all connectors are attached and secure.
- Make sure to know the contents of the instructions for use.
- This device is not intended to be used by persons (including children) with reduced physical or mental abilities or with a lack of experience and knowledge, unless they be supervised and/or instructed by a person responsible for their safety.
- Children should be supervised to ensure that they do not play with the device.
- Ensure that the load is free and no obstacles may hinder/prevent the lifting.
- Make sure that the load cannot shift or slide.
- Check the loading balance after a few centimetres before proceeding further.
- Avoid that the load swings.
- Make sure that there is nobody near the charge.
- Warn persons about the charge lifted.
- Immediately contact your superior or workshop if something unforeseen happens.
- Never exceed the maximum charge capacity.
- Never use damaged, inoperative engine supports.
- Never use bent, damaged, or worn lifting devices.
- Never lift charges with obstacles possibly hindering.
- Stay concentrated and do not allow any distraction during the process.
- Never use the load receptacle to lift, help, or transport people.
- NEVER LIFT CHARGES ABOVE PERSONS’ HEADS!
- Unsecured charges might lead to injuries of limbs or bones, even to fatal ones.
- Do not leave loads lifted unattended.
- Avoid contact between the engine stand and other objects.
- Never try to extend or expand the lifting device.
- Do not use welding equipment near the support.
- Always make sure that the workplace is well-lit.
- Make sure to wear solid shoes.
- Use a hair net for long hair.
- Wear appropriate clothing.
- Take off jewellery (rings, earrings, watches, etc.).
- Make sure not to wear loose strips or belts.
- Only use the engine support if you feel able to.
- Long working in a standing position can lead to dizziness. Make regular breaks and drink enough.
- Do not overload the support. Never use the engine support as you would use a jack. The engine support is only meant to assist you in installing and removing parts of your vehicle.
- Only use the engine support on a level and solid surface that can bear the load indicated.
- Before beginning work on/under a vehicle, ensure that the vehicle itself is properly raised and secured.
- Never open the screw connections under pressure/load.
- Make sure that the load is centred on the support.
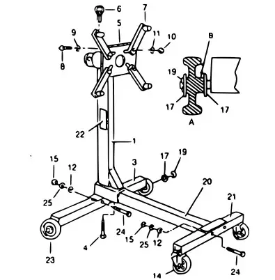
Exploded view and parts list

A = rear wheel assembly; B = wheel hub facing inwards
| № | Name | Qty. | № | Name | Qty. |
| 1 | Main post | 1 | 14 | Caster 3″ | 2 |
| 3 | Side leg connection | 1 | 15 | Nut | 4 |
| 4 | Screw ½″×1″ LG | 1 | 17 | Washer | 4 |
| 5 | Mounting plate | 1 | 19 | E-ring | 2 |
| 6 | Lock pin | 1 | 20 | Front leg | 1 |
| 7 | Mounting arms | 1 | 21 | Side leg caster | 1 |
| 8 | Screw 11⁄20″×2⅖″ LG | 4 | 22 | Label | 1 |
| 9 | Washer | 4 | 23 | Rear wheel 3½″ | 2 |
| 10 | Nut | 4 | 24 | Screw ⅖″×2⅘″ LG | 4 |
| 11 | Spring ring | 4 | 25 | Spring ring | 4 |
| 12 | Washer | 4 | 26 | Handle (not shown) | 1 |
Technical specifications
| Capacity (㎏) | 450 |
| Size (㎜) | 800 × 800 × 870 |
| Weight (㎏) | 18.2 |
Important Note:
Reproduction and any commercial use (of parts) of this operating manual, requires a written permission of WilTec Wildanger Technik GmbH



















